高含油有機化工廢水主要來源于石油、化工、焦化、鋼鐵、煤氣發生站及機械加工等工業生產企業。含油廢水如果不加以回收處理,不僅會造成浪費,還會在排入河流、湖泊或海灣時污染水體,影響水生生物生存;若用于農業灌溉,則會堵塞土壤空隙,妨礙農作物生長。高油化工廢水中含油量過高,不宜直接進行徹底的生化處理。需通過預處理、生化處理和后處理三部分完成,其處理后的水質能夠達到國家排放標準。
1、高含油有機化工廢水污染物的分類
高含油有機化工廢水污染物是按照有毒和難降解特點進行分類的,大致可分為四類:第一類,具有良好的降解性能、無毒的有機物;第二類,降解性能較差、無毒的有機物;第三類,當液體濃度較低的時候,容易被微生物降解,但是當液體濃度高的時候,廢水會抑制微生物的活性,是一種無毒的有機物;第四類,當液體濃度較低的時候會對微生物產生抑制且有毒的有機物。廢水中不同有機物的耗氧速率示意圖如圖1所示。

在化工行業排放的廢水中不會只有一種有機的污染物,而是含有兩種或多種的污染物。如果廢水的種類為第四類或者第三類時,需要使用兩段串聯的厭氧—好氧(A/O)生化處理工藝。在一般情況下,高含油有機化工廢水可以視為第四類污染物為主的廢水,因此從理論上來看,傳統的處理工藝是比較理想的工藝。但是在實際生活中,該處理工藝不能達到預期的效果,且成本預算太高,在這種情況下,使用兩段串聯的厭氧—好氧(A/O)生化處理工藝能夠改善廢水預處理的模塊,且成本預算較低。
2、生化處理工藝流程
2.1 預處理
預處理能夠將油地、調節池、氣浮池進行清除污油的處理,并且達到初步去油的效果。一般情況下,將油池與油水進行初步地分離,繼分離之后再進行上浮或者混凝分離的步驟,這樣就可以預防處理設備被堵塞,又能使各個設備的除油性能達到最佳。利用泵進行提升的時候,可以使用一次性除油機制,進而減少泵被乳化的程度。相對于粒度較大、凝固點較高的廢水,首先需要對設備進行加熱或者保溫的處理來維持溫度,從而達到防止油被凝固的問題。
2.2 廢水的生化處理
經過除油的預處理使高含油廢水中的含油量小于30mg/L,此時可以進行厭氧反應器處理→缺氧池→好氧池→中沉池→氧化處理→二次沉降,經過該系列的處理能夠降低含油廢水中的污染物、有害物質,并使用生物降解的方式將餾物和懸浮物進行降解。采用厭氧—好氧(A/O)生化處理工藝使生化處理在厭氧和好氧兩段式中發揮各自的優勢。
首先將廢水放在厭氧的分子環境下,通過兼性微生物中的厭氧作用,使廢水中的難降解的有機物經過酸化處理轉化為易降解的有機物,使長鏈的有機物被轉化為相對鏈條較短的醇類、醛類、脂肪酸等簡單的有機物,進而大大地提高廢水中有機物的降解性。利用厭氧菌可以將廢水中的化學需氧量(COD)在甲烷菌的作用下,分解成H2、CH4、CO2的能源。然后將處理后的廢水放在好氧的環境中,使廢水中的醇類、醛類、脂肪酸等簡單、短鏈的有機物經過好氧微生物的分解,得到H2O、CO2的無機物,從而降低化學需氧量(COD)和廢水中的含油量。
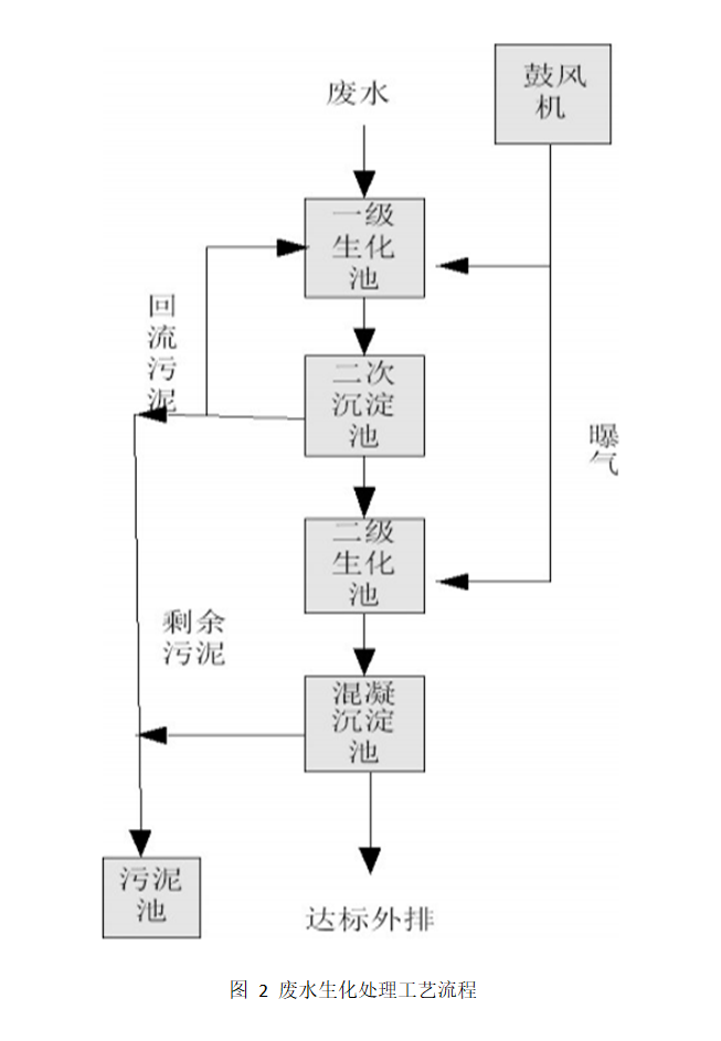
在工藝處理的過程中,可以在生化池和沉淀池中加入一些彈性填料,使池中的生物膜能夠均勻地分布,同時大量的污泥懸浮,強化了廢水的處理能力,增強了耐負荷的性能,進而大大提高了生物膜在處理過程中發揮的效果。具體的工藝流程如圖2所示。

由圖2可知:通過鼓風機曝氣和生物膜的處理方法進行二次生化處理,將經過處理后的廢水通過污水提升泵輸送到一級的生化池中,該氣浮在進水之前,需要進行二次沉淀,與回流的污泥充分的接觸,進而形成活性的污泥。污泥與污水混合后,再從曝氣的鼓風機中獲取足夠的氧(必須是溶解氧),進行硝化反應,使混合液中的可溶性有機物被具有活性的污泥吸附,從而達到微生物降解的目的,此時的化學需氧量(COD)已經被去除75%。
一級生化池中的廢水自動流入到二次沉淀池中進行污泥與廢水的分離,使用回流提升泵將污泥回送到曝氣前,再次流出的水進入二級生化池的選擇段。廢水在二級生化池的選擇段可以通過本文工藝選擇有利于生物膜生長的填料,進一步的去除化學需氧量(COD),進而使生物發生硝化脫氮的反應,確保水中的氨氮指標正常。
在厭氧段中將池內設置為具有提升方式的微孔曝氣,并進行布氣地攪拌,利用自動的電氣閥門調整間斷性的進氣周期,使該段空間始終維持在厭氧的狀態下,此時的溶解氧需要被控制在0mg/L~1mg/L濃度之間。而在好氧段中也可采用將池內設置為具有提升方式的微孔曝氣方法,并使此時的溶解氧被控制在1mg/L~2mg/L濃度之間。
從二級生化池流出的水自動進入混凝反應池當中,能夠與投入的聚丙烯酰胺(PAM)進行混合反應,反應之后獲取的水再流入混凝沉淀池當中,使泥與水充分的分離。沉淀池中剩余的污泥可以經過提升泵傳送到脫水罐中,此時的化學需氧量(COD)已經被去除80%。
2.3 后處理
后處理是經過包括混合反應池、混凝沉淀池和過濾器的污泥濃縮和污泥脫水的污泥處理。其工藝流程見圖3。

污油罐、調節罐罐底油自流至油泥浮渣池,經油泥浮渣泵送至三泥脫水罐濃縮脫水。混凝沉淀池的剩余污泥定期用泵送至三泥脫水罐。濃縮脫水的油泥用離心機進料泵送入離心脫水機脫水,形成泥餅,送到鍋爐房做燃料。可加入兩種高分子絮凝劑,陰離子型和陽離子型聚丙烯酰氨促進脫水。脫出的污水自流進入含油污水池,用含油污水提升泵送至含油污水調節罐,重新處理。
3、結語
總之生化處理技術能夠有效地使難降解性有機物得到處理,且運行穩定、處理效果良好、操作方便,成本較低,適合在化工產業中廣泛的應用。因此采用厭氧—好氧生化處理工藝是具有可行性的,設置預曝氣能夠將廢水的混合物變得更加的均勻,容易處理,提高PH值能夠有效的去除油性有機污染物,且費用較低、適合在實際生活中的應用。(來源:沈陽澤爾檢測服務有限公司)


