一、原理與結構
1、柱塞式海水高壓泵
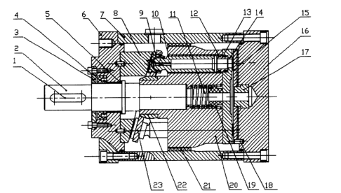
純水潤滑液壓柱塞泵如圖1.9.1所示,該純水潤滑液壓柱塞泵的泵水過程如下:驅動軸2帶動缸體20、止推盤14、柱塞滑靴組件旋轉,中心彈簧11通過缸體20、球絞22和回程盤12將作用力平均市價到每個滑靴9上,以保證滑靴9緊貼斜盤8的斜面滑動。當柱塞10向左運動到極限位置時,止推盤14項相應的開口被配流盤15全部遮蓋,缸孔中形成密閉。隨著驅動軸2的轉動,滑靴9在斜盤的推動下帶動柱塞10向右運動,使得缸孔密閉容積減小,水壓上升,然后止推盤14上的開口與配流盤15的出水口連通,使得缸孔內的高壓水被柱塞10不斷排出,經過配流盤15的卡扣到達泵的出口,實現泵水過程。當然,隨著驅動軸2的繼續轉動,柱塞10向再次左運動,使得缸孔內水壓降低,然后止推盤14上開口則會與配流盤15上的進水口連通,實現吸水過程。隨著上述驅動軸2的旋轉,每個缸孔不斷循環地吸水排水,從而泵出流量連續的高壓水。但是,現有柱塞泵泵出的水量是固定的,不能適應多種泵水量需求。

2、旋轉式能量回收與增壓集成裝置
采用的“具有增壓功能的旋轉壓力傳遞裝置”技術實現能量回收設備和增壓設備的一體化,其技術創新主要體現在:
(1)將能量回收設備和增壓設備一體設計,簡化海水淡化系統,減小設備的占地面積,減少設備連接所需管道。
(2)采用轉子進行能量回收,使得能量回收裝置體積較小,能量利用效率較低。
(3)通過一個變頻電機帶動能量回收的轉子和增壓泵,方便了轉速控制,減少了電機的使用。
(4)能量回收的轉子中設計有進口斜坡和漩渦段,減弱水錘現象,并減少進料海水中廢棄海水混入量。
(5)增壓泵中在對稱葉片之間設計有頂桿,使得葉片能夠順利地往復運動,不會出現葉片卡死情況,提高增壓泵運行穩定性和可靠性。
(6)在轉子上設置多個通道,使得轉子旋轉過程能夠通過多個通道依次進行能量回收,能夠連續輸出增壓后的進料海
二、技術優勢
解決了產品的同軸度、平行度、位置度及高壓密封等技術難題,實現了產品回收率高、效率高、輸出壓力穩定、流量波動小、使用壽命長、維護周期長等特點
三、適用范圍
海水淡化


