厭氧氨氧化(anaerobic ammonia oxidation, ANAMMOX)是指厭氧條件下, 厭氧氨氧化菌以氨(NH4+)為電子供體, 以亞硝酸鹽(NO2-)為電子受體進行反應直接生成氮氣(N2)的一種新型生物處理技術.由于其無需外加有機碳源且無需曝氣充氧, 運行費用可比傳統脫氮工藝節省近40%.厭氧氨氧化是微生物和環境領域的重大發現, 已經成為當前生物脫氮領域的研究熱點, 也為節能降耗的污水脫氮提供了可能.
隨著我國經濟的發展, 水資源需求量急劇增加的同時, 水污染情況也越來越嚴重, 大量含氨且高鹽度廢水難以處理.我國《污水綜合排放標準(GB 8978-1996)》中并未對氯化物進行限定, 一般工業生產為減少管道腐蝕, 通常限定Cl-排放濃度低于10 000 mg·L-1.工業生產產生的廢水中如濕式石灰-石膏煙氣脫硫脫硝工藝廢水、榨菜加工企業廢水、石油加工廢水等, 高濃度的Cl-和NH4+-N往往是這類廢水的共性.
研究人員從海洋污泥樣品中發現厭氧氨氧化菌株, 表明一些厭氧氨氧化菌具有耐鹽性.但是, 目前直接從海洋底層分離耐鹽厭氧氨氧化菌難以實現, 逐步地鹽度馴化是淡水厭氧氨氧化適應高鹽度廢水的最佳途徑.迄今為止, 國內外研究學者對含鹽廢水的研究全部集中在小試階段, 且多為短期影響, 如Chen等通過分批實驗考察了小試反應器中不同離子種類鹽度對厭氧氨氧化反應器脫氮的影響; Kartal等在小試反應器中采用淡水系統污泥菌種, 以逐步適應鹽度的方式實現反應器對鹽度廢水的脫氮處理.然而, 有關中試規模厭氧氨氧化的長期鹽度馴化研究未見報道.
本研究采用中試規模的厭氧序批式反應器(ASBR), 通過考察不同鹽度(Cl-濃度)對厭氧氨氧化脫氮性能的影響, 探索了ANAMMOX-ASBR系統處理高鹽度含氮廢水的可行性及其在高鹽度條件下的恢復特性, 以期為厭氧氨氧化技術處理含鹽廢水的實際工程應用提供實驗數據支撐與理論依據.
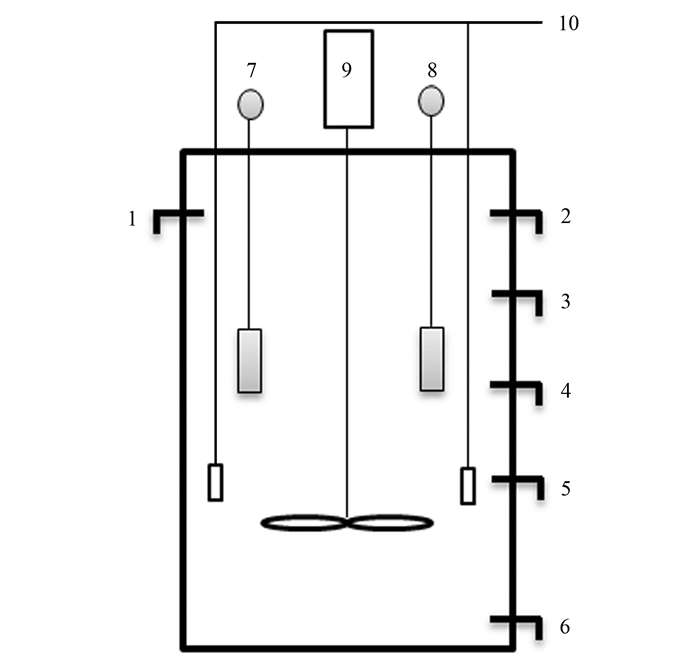
1 材料與方法1.1 實驗裝置
本實驗采用一座ASBR反應器, 結構如圖 1所示.反應器由有機玻璃制成, 總體積700 L, 有效體積530 L.人工配置廢水從上端進水口由增壓泵泵入反應器.反應器內置電動攪拌器與恒溫加熱器, 反應器表面以黑布包裹, 防止光線對厭氧氨氧化污泥造成負面影響.反應器內恒溫35℃±1℃, 進水pH值為7.4±0.2.反應器每天運行1個周期, 運行一個周期時間為24 h, 包括進水30 min, 反應20 h, 靜置沉淀3 h, 排水30 min.
圖 1

1.2 接種污泥
接種污泥取自本實驗室成功啟動的中試厭氧氨氧化ASBR反應器, 其已具備較好的脫氮性能, NH4+-N和NO2--N去除率分別高達97.1%和99.0%.接種后反應器內混合液懸浮固體濃度(MLSS)為1.80 g·L, 污泥沉降比(SV%)為9.0%.
1.3 實驗廢水
本實驗采用人工配制的模擬廢水, 主要成分(mg·L-1)為:KH2PO4 20, CaCl2·2H2O 107, KHCO3 1 250, MgSO4·7H2O 45.微量元素[11]濃縮液Ⅰ (1 mL·L-1):EDTA 5 g·L-1, FeSO4·7H2O 5 g·L-1, 微量元素Ⅱ(1 mL·L-1):EDTA 15 g·L-1, H3BO3 0.014 g·L-1, MnCl2·4H2O 0.99 g·L-1, CuSO4·5H2O 0.25 g·L-1, ZnSO4·7H2O 0.43 g·L-1, NiCl2·6H2O 0.19 g·L-1, Na2MoO4·2H2O 0.22 g·L-1, CoCl2·6H2O 0.24 g·L-1, NaSeO4·10H2O 0.21 g·L-1.
NH4+-N和NO2--N分別由NH4Cl和NaNO2-按需提供, Cl-以NaCl提供.進水NH4+-N和NO2--N的濃度按照1: 1.32的比例, 將初始NH4+-N濃度設定為50 mg·L-1, 初始NO2--N濃度設定為65 mg·L-1.為了提供厭氧環境, 人工配制的模擬廢水使用高純氮氣(純度為99.99%)吹脫約15 min, 使溶解氧降至0.4 mg·L-1以下.
1.4 分析項目和方法
水樣分析項目的測定按照標準方法進行[12], NH4+-N:納氏試劑法; NO2--N:N-(1-萘基)-乙二胺分光光度法; NO3--N:麝香草酚分光光度法; MLSS:重量法; pH值:雷磁pHS-25;紫外/可見分光光度計:UV-5200;分子生物學分析方法:16S rRNA高通量測序技術.
1.5 恢復動力學模型
動力學模型被廣泛采用來描述和模擬微生物反應過程和性能.適用于ASBR厭氧氨氧化反應器的恢復動力學模型主要有修正的Logistic模型[13][式(1)], 修正的Boltzmann模型[14][式(2)]和修正的Gompertz模型[13][式(3)].修正的Logistic模型曾被用來描述批次實驗中以葡萄糖為基質的產氫過程; 修正的Boltzmann模型廣泛應用于厭氧氨氧化菌的活性再恢復過程; 修正的Gompertz模型最早被用來描述發酵產氫底物降解和產氫細菌(HPB)的生長, 近來被用來描述厭氧氨氧化菌受到苯酚、硫化物等抑制后脫氮性能的恢復過程.
修正的Logistic模型:

修正的Boltzmann模型:
修正的Gompertz模型:

式中, NRR為容積氮去除負荷, kg·(m3·d)-1; NRRmin為最小容積氮去除負荷, kg·(m3·d)-1; NRRmax為最大容積氮去除負荷, kg·(m3·d)-1; Rmax為運行周期的NRR最大恢復速率, kg·(m3·d)-1; λ為恢復延遲時間, d; t為運行時間, d; tc為恢復時間中間值, 即NRRmin+(NRRmax-NRRmin)/2, d; td為恢復時間常數, d.
2 結果與討論2.1 鹽度馴化期間反應器脫氮性能
圖 2為中試厭氧氨氧化反應器在鹽度馴化期間脫氮性能的變化情況.本實驗過程中為防止Cl-濃度對厭氧氨氧化菌產生較大的鹽度沖擊, 以初始Cl-濃度為1 000 mg·L-1且Cl-濃度1 000 mg·L-1為一個鹽度梯度(每個鹽度梯度運行約1周)進行鹽度馴化實驗.
圖 2

階段a(1~33 d), 反應器Cl-濃度由1 000 mg·L-1逐步提升至5 000 mg·L-1, 厭氧氨氧化系統的脫氮性能幾乎未受影響.在該階段, 反應器出水水質穩定, 出水NH4+-N、NO2--N及NO3--N濃度分別平均為0.92、0.81和11.7 mg·L-1, TN去除率保持在90%以上.
階段b(34~129 d), 反應器內Cl-濃度保持6 000 mg·L-1, 該階段系統的脫氮性能受到極大影響, 系統脫氮性能呈先下降后上升的趨勢.其中, 第34~62 d, 出水NH4+-N和NO2--N濃度逐漸上升, 呈小幅度波動, 鹽度對厭氧氨氧化菌的抑制明顯.第62 d出水濃度達到最高, NH4+-N、NO2--N及NO3--N的出水濃度分別為41.6、46.1和5.6 mg·L-1, 總氮去除率降至23.4%.第63~90 d, 該時期反應器的氮去除率一直處于較低水平, 脫氮性能既沒有持續下降也沒有大幅上升.該時期NH4+-N、NO2--N及NO3--N的平均出水濃度分別為40.1、51.3和5.5 mg·L-1, NH4+-N和NO2--N平均去除率為24.6%和24.5%.第91~129 d, 反應器脫氮性能開始轉好, 第129 d時NH4+-N、NO2--N及NO3--N的出水濃度分別0、0.5、12.8 mg·L-1, NH4+-N、NO2--N去除率分別為100%和99.1%, TN去除率達89.1%, 出水濃度恢復至階段a時期的出水水質條件.
階段c(130~163 d), Cl-濃度由6 500 mg·L-1逐步提高至9 500 mg·L-1.考慮到反應器受鹽度抑制程度的加大, Cl-提升梯度改為500 mg·L-1.第130~146 d, Cl-濃度從6 500 mg·L-1逐步提至8 500 mg·L-1, 由圖 2可知反應器脫氮性能未受到抑制, 在該時期NH4+-N和NO2--N平均去除率為99.5%和97.9%, 出水NH4+-N和NO2--N接近于0 mg·L-1.可以看出, 反應器中厭氧氨氧化菌已經對鹽度有了一定程度的適應性和抵抗能力.第147~163 d, Cl-濃度由8 500 mg·L-1逐步提高至9 500 mg·L-1, 反應器出水水質出現略有波動, 出水NH4+-N和NO2--N濃度最低分別達到20.0 mg·L-1和20.9 mg·L-1.但通過適當延長馴化時間的策略, 反應器在第163 d, NH4+-N、NO2--N和NO3--N出水水質分別為1.4、3.1和10.0 mg·L-1, NH4+-N和NO2--N的去除率為97.4%和94.8%, TN去除率88.7%.
階段d(164~220 d), Cl-濃度保持在10 000 mg·L-1.第164 d由于反應器鹽度的提高, NH4+-N和NO2--N出水濃度迅速提高至22.6 mg·L-1和21.0 mg·L-1, 去除率分別下降至57.0%和67.4%.但隨著馴化的進行, 反應器的脫氮效率整體保持逐步提高的趨勢.并且, 當反應器進水氨氮和亞硝酸鹽氮濃度分別提高至約80 mg·L-1和100 mg·L-1后, 反應器脫氮性能仍保持良好.第220 d, 反應器NH4+-N、NO2--N和NO3--N的出水濃度分別為0、0.7和13.1 mg·L-1, NH4+-N和NO2--N去除率分別達100%和99.3%, 總氮去除率達到92.3%.說明本實驗條件下, 中試ANAMMOX-ASBR系統可用于高鹽(Cl-濃度10 000 mg·L-1)廢水的高效脫氮.
2.2 中試ANAMMOX基質轉換特性
NH4+-N和NO2--N按比例穩定地去除是ANAMMOX工藝穩定運行的關鍵.通過比較反應器內氮去除的化學計量比變化情況, 考察鹽度對厭氧氨氧化菌活性的影響程度.
由圖 3可知, 反應器中硝酸鹽氮的生成一直處于偏低水平, 低于理論值0.26, 推測反應器中存在反硝化反應.由化學計量關系(1: 1.32: 0.1)推測反應器中存在的反硝化過程主要為全程反硝化(NO3--N N2), 并且反硝化受鹽度影響較小.通過對反應器進出水COD的測定, 測得實際化學需氧量減少值ΔCOD為31.2 mg·L-1, 本化學計量比中反硝化理論消耗COD值為: 80 mg·L-1×(0.26-0.1)×2.86=36.6 mg·L-1(80 mg·L-1為初始NH4+-N濃度, 2.86為單位NO3--N反硝化為N2所需的COD量, 以N/COD計, mg·mg-1), 數值較為接近, 證實了系統中反硝化反應的存在.另外, 在階段a, NO2--N/NH4+-N穩定在1.32左右.從圖 3可以發現, 在階段b, 隨著反應器脫氮性能的逐步下降, NO2--N/NH4+-N的值波動較大, 尤其在該過程的中期(第80 d左右)波動最大; 但隨著反應器脫氮性能的逐步恢復, NO2--N/NH4+-N的比值趨于穩定, 并接近1.32.階段c反應器脫氮性能受影響較小, 化學計量比波動也較小.階段d, 該階段前期雖影響較大, 但反應比例變化較小, 略高于1.32, 隨著反應的逐步穩定, NO2--N/NH4+-N比值逐漸趨于1.32.
圖 3
圖 3 反應器內氮去除化學計量比由此可見, 反應器在鹽度馴化過程中, 反應過程的化學計量比也隨著不同鹽度的影響而發生變化.尤其在階段b, 化學計量比波動最大.這可能是由于在Cl-濃度6 000 mg·L-1時, 厭氧氨氧化菌活性受到鹽度強烈抑制, 而其他厭氧菌(如反硝化菌等)受影響程度各不相同, 導致反應器內菌群結構穩定性差, 氮去除比例波動大.然后, 隨著馴化的持續進行, NO2--N/NH4+-N比值逐步趨于1.32, 該現象也可作為判斷鹽度馴化的恢復過程的一項指示.具體聯系污水寶或參見http://m.dongaorq.cn更多相關技術文檔。
2.3 鹽度抑制的恢復動力學
鹽度馴化過程中, 在Cl-濃度6 000 mg·L-1和10 000 mg·L-1這2個鹽度梯度內厭氧氨氧化菌受影響程度較大, 從常用的恢復動力學模型中選出最適的動力學模型并比較兩個不同鹽度條件下的恢復特性. 6 000 mg·L-1和10 000 mg·L-1兩個鹽度的恢復過程分別為83~130 d和164~220 d.
分別運用修正的Boltzmann模型、修正的Logistic模型和修正的Gompertz模型對Cl- 6 000 mg·L-1時受到抑制的厭氧氨氧化菌的NRR恢復過程進行擬合, 結果如表 1所示.從中可知, 3個模型都具有較高的相關系數R2, 基本參數符合實際意義, 但是修正的Boltzmann模型NRRmax與真實值相對誤差最小, 誤差為8.2%.所以修正的Boltzmann模型較另外兩者擬合程度更高, 更適合該鹽度條件抑制下的NRR恢復過程.另外, 恢復中間值tc為28.765 d, 常數td為9.975 d.
表 1 Cl-濃度6 000 mg·L-1時動力學模型擬合參數
同樣運用修正的Boltzmann模型、修正的Logistic模型和修正的Gompertz模型對Cl- 10 000 mg·L-1時受到抑制的厭氧氨氧化菌的NRR恢復過程進行擬合, 結果如表 2所示.從相關系數R2可以明顯地看出此時修正的Boltzmann模型比另外兩個動力學模型具有更好的擬合效果.此外, 修正的Logistic模型和修正的Gompertz模型不具有實際意義, 所以在Cl- 10 000 mg·L-1時受到抑制的厭氧氨氧化菌恢復過程中, 修正的Boltzmann模型較為適用.修正的Boltzmann模型擬合的NRRmax為0.212 kg·(m3·d)-1, NRRmin為0.085 kg·(m3·d)-1, 恢復時間中間值tc為44.495 d, td為5.404 d.
表 2 Cl-濃度10 000 mg·L-1時動力學模型擬合參數
從圖 4中兩個不同鹽度條件下厭氧氨氧化菌受抑制后的恢復過程動力學可以看出, 修正的Boltzmann模型在兩個不同的鹽度恢復條件下均適用, 但是在兩者的恢復時間中間值tc相差了15.73 d.其原因可能是因為馴化前反應器中的厭氧氨氧化菌是淡水菌, 在極端的高鹽條件下可以通過胞內合成相容性物質或產生更多的胞外聚合物的機制來抵抗環境滲透壓, 細胞的這一系列反應過程中需要消耗大量的能量, 導致在Cl-濃度6 000 mg·L-1和10 000 mg·L-1的鹽度提升的初期細胞擴增緩慢, 反應器脫氮性能低.比較6 000 mg·L-1和10 000 mg·L-1這兩個不同梯度可以看出, 更高的鹽度環境下, 鹽度提升初期需要更長的適應時間, 因為在高鹽度環境下, 滲透壓對非嗜鹽性的厭氧氨氧化菌的影響更大, 細菌生長增殖速率降低, 需要更長的適應期才能恢復細胞活性.
圖 4
圖 4 Cl-濃度6 000 mg·L-1和10 000 mg·L-1時恢復動力學模擬曲線2.4 鹽度馴化過程污泥性狀變化
通過每周檢測反應器中污泥濃度, 考察鹽度馴化過程對污泥生長的影響, 如圖 5所示.從中可以看出, 第1~4周(階段a), 反應器中污泥濃度略有提高.有研究表明低濃度鹽度可以促進厭氧氨氧化反應, 提高厭氧氨氧化菌細胞內某種酶的活性, 從而可以提高其反應活性, 促進厭氧氨氧化菌生長代謝, 本研究的污泥增長情況與相關研究類似.第5~18周(階段c), 在該階段前期污泥濃度稍有提高, 隨后保持約2.2 g·L-1不變.這可能是由于此階段總氮去除率較低, 多數厭氧氨氧化菌處于鹽度適應期, 菌體倍增時間大大延長.第19~31周(階段c、d), 隨著鹽度的持續提高以及脫氮性能的逐步穩定, 污泥濃度整體也呈上升趨勢, 并在最終Cl-濃度10 000 mg·L-1時達到2.9 g·L-1.但是, 值得注意的是, 在污泥濃度逐步提高的過程中, 污泥沉降比(SV30)卻并未有大幅度變化, 仍保持約8%左右.說明該鹽度馴化過程中, 厭氧氨氧化菌可能主要進行胞內相容性物質的吸收、合成, 以抵抗鹽度脅迫作用.
圖 5
圖 5 鹽度馴化過程中污泥濃度變化對比污泥馴化的不同時期(圖 6)污泥顆粒可以發現, 馴化完成后厭氧氨氧化顆粒更加飽滿.這一方面可能是由于鹽度環境下增強了顆粒污泥的聚集能力, 另一方面可能是長期馴化過程中, 厭氧氨氧化菌吸收合成了大量的相容性物質(如甜菜堿、海藻糖等), 提高了菌體密度.另外, 從圖 6可以看出, 馴化完成的厭氧氨氧化顆粒污泥顏色呈紅褐色, 與馴化前的磚紅色污泥有明顯區別.這可能是鹽度環境降低了菌體內的細胞色素C含量, 該現象與其他國內外相關研究學者的厭氧氨氧化鹽度馴化結果相似.
圖 6
(a)馴化前Cl- 0 mg·L-1; (b)馴化中期Cl- 6 000 mg·L-1; (c)馴化完成Cl- 10 000 mg·L-1圖 6 不同鹽度馴化時期的污泥性狀2.5 反應器菌群結構變化
已經檢測出的厭氧氨氧化菌主要有6個屬[19, 20], 分別為Candidatus Anammoximicrobium、Candidatus Brocadia、Candidatus Kuenenia、Candidatus Scalindua、Candidatus Jettenia、Candidatus Anammoxoglobus, 其中只有Candidatus Scalindua是海洋性厭氧氨氧化菌.本反應器鹽度馴化實驗前的優勢厭氧氨氧化菌為主要菌屬Candidatus Brocadia和Candidatus Jettenia, 豐度分別為10.56%和0.6%.在經歷長期的鹽度馴化后, 第220 d對反應器內細菌進行分子生物學檢測, 優勢菌群仍為Candidatus Brocadia和Candidatus Jettenia, 其豐度分別是14.76%和2.7%(圖 7), 較馴化前的菌種豐度有所升高.其中厭氧繩菌科(Anaerolineaceae)占總豐度的14.77%、絲狀菌占總豐度的13.08%, 外硫紅螺旋菌科、酸桿菌門、綠彎菌門及不可培養的細菌占總豐度的20%~30%.因此, 在Cl-濃度10 000 mg·L-1進水條件下, 可以實現中試規模ASBR厭氧氨氧化的鹽度馴化和穩定運行, 厭氧氨氧化細菌和其它異養細菌共同存在于反應器中, 厭氧氨氧化表現為優勢菌群.此外, 反應器中并未檢測出海洋環境中獨有的厭氧氨氧化菌菌屬Candidatus Scalindua, 說明本反應器中的厭氧氨氧化菌主要是通過吸收、合成相容性物質以對抗滲透壓, 并逐步在高鹽度下提高自身活性.
圖 7
圖 7 鹽度馴化后反應器中細菌種類及含量分布3 討論3.1 鹽度對ASBR反應器脫氮性能的影響
較低的鹽度條件下(Cl-濃度≤5 000 mg·L-1), 鹽度的提升對厭氧氨氧化反應器的脫氮性能影響較小, 有研究指出較低的鹽度有利于厭氧氨氧化菌的生長.早在1940年Ingram發現, NaCl濃度低于10 g·L-1(Cl-濃度6 000 mg·L-1)時, 添加鹽可以增大內源呼吸速率, 但高于10 g·L-1時則減小呼吸速率.本研究中, 6 000 mg·L-1的Cl-濃度在整個鹽度馴化的過程中耗時最長, 抑制程度最大.該階段反應器脫氮性能逐步下降, 隨后緩慢地升高, 前后共耗時96 d.齊泮晴等在海水馴化過程中, 50%的海水濃度階段與本實驗有類似變化趨勢, 均出現了活性下降期、適應期和活性恢復期.由于此階段(Cl-濃度6 000 mg·L-1)正處于非嗜鹽菌最佳生長鹽濃度臨界附近, 所以極有可能是厭氧氨氧化菌低鹽度環境向中高鹽度環境適應的臨界鹽度值.
Dapena-Mora等的批次實驗表明, 厭氧氨氧化菌在鹽度為20 g·L-1時表現出活性下降現象, 本研究在Cl-濃度10 000 mg·L-1(NaCl濃度16.7 g·L-1)時即出現了活性下降現象, 這可能與反應器中厭氧氨氧化菌比例高低以及反應器容量大小等因素有關.
3.2 鹽度馴化的微生物學機理
本研究實驗菌屬為淡水厭氧氨氧化菌, 而在淡水微生物的耐鹽度方面, 一般細胞遇到鹽沖擊的應激行為分為5步[26]:①細胞質外流, 細胞皺縮, 體積減小; ②在滲透壓的作用下外界溶液進入細胞, 體積恢復; ③排出鈉離子, 吸收鉀離子; ④合成相容性溶質; ⑤排出鉀離子, 積累相容性溶質.細胞在適應鹽度的過程中需要消耗大量的ATP, 以及細胞內參與反應的酶受鹽度刺激的影響, 會造成氮處理率降低, 但隨著微生物對環境的逐步適應以及細胞積累足夠的相容性溶質以抵抗滲透壓, 其脫氮性能可以逐漸恢復.有研究認為反應器對鹽度沖擊大體可分為3個階段[27]:敏感期、過度穩定器和恢復期.本研究在Cl-濃度6 000 mg·L-1和10 000 mg·L-1的兩個抑制階段內, 均經歷了長期的過渡期和恢復期, 但是對于敏感期, 顯然10 000 mg·L-1比6 000 mg·L-1影響更小, 前者較小的影響可能也得益于長期的馴化過程提高了反應器中微生物對鹽度的適應能力.
4 結論
(1) 厭氧氨氧化菌可以通過逐步馴化的方式適應高鹽度環境.通過220 d的馴化, ANAMMOX-ASBR系統可在Cl-濃度10 000 mg·L-1環境下完成深度脫氮, 總氮去除率達92.8%.
(2) 通過對比修正的Boltzmann模型、修正的Logistic模型和修正的Gompertz模型這3個恢復動力學模型, 發現修正的Boltzmann模型能夠較好地擬合不同鹽度抑制后的恢復過程.在Cl-濃度6 000 mg·L-1和10 000 mg·L-1的鹽度條件下, 恢復中間值tc分別為28.765 d和44.495 d.
(3) 鹽度馴化完成后反應器內優勢菌種為Candidatus Brocadia, 污泥密度大大提高, 厭氧氨氧化菌顆粒感加強.(來源:環境科學 作者:唐佳佳)









