含Cr(Ⅵ)廢水主要來源于電鍍行業、不銹鋼制造業、電池制造業、冶金行業和礦石開采業,如電鍍生產過程中的鍍件清洗、鍍液過濾、廢液排放等〔1〕。處理含Cr(Ⅵ)廢水的方法很多,如還原-沉淀法〔2〕、電解法〔3〕、離子交換法〔4〕、膜分離法〔5-6〕、吸附法〔7〕、微生物法〔8〕,這些方法在實際應用中都存在如下3 個弊端:(1)廢水含Cr(Ⅵ)濃度低,水體處理量大,導致投加藥劑量大,易造成二次污染;(2)工藝及設備占地面積大,操作成本、固定投資大;(3)工藝操作復雜,工藝條件不穩定,操作較難控制。
針對以上問題,本試驗嘗試將離子交換樹脂法和FeSO4·7H2O 還原沉淀法2 個傳統的單個處理工藝耦合運用,這樣既避免了單個處理工藝的弊端,又可以將2 個工藝的優點加以聯合,處理效率大大提高。
本研究的目的是探索一種高效、低成本并特別適合低濃度含Cr(Ⅵ)廢水的處理方法。試驗采用離子交換樹脂法—FeSO4·7H2O 還原沉淀法耦合工藝處理含Cr(Ⅵ)廢水,即將低濃度含Cr(Ⅵ)廢水流經離子交換柱,通過調節工藝參數使出水達標排放,然后用5% NaOH 溶液洗脫吸附飽和的離子交換柱,收集濃縮的高濃度含Cr(Ⅵ)廢水。以FeSO4·7H2O為還原劑處理濃縮的高濃度含Cr(Ⅵ)廢水,使Cr(Ⅵ)還原為Cr (Ⅲ),調節pH 為8~9,使Cr (Ⅲ)生成Cr(OH)3沉淀而得以去除,含鉻污泥可烘干回收利用。試驗考察了pH、反應時間、攪拌速度、FeSO4·7H2O 投加量等因素對高濃度含Cr(Ⅵ)廢水處理效果的影響,為該法的工業化應用提供指導性參考。
1 試驗部分
1.1 試驗用水
離子交換部分:以K2Cr2O7配制一定濃度的含Cr(Ⅵ)廢水作為離子交換部分的試驗用水。
還原沉淀部分:以離子交換部分濃縮的高濃度含Cr(Ⅵ)廢水作為還原沉淀部分的試驗用水。
1.2 試驗設備和儀器
UV-1100 型紫外/可見分光光度計,上海美譜達儀器有限公司; pHS-25 酸度計,上海雷磁公司;FA2004 電子天平,上海舜宇恒平科學儀器有限公司;離子交換柱,D=23 mm,H=250 mm,深圳市銘科科技有限公司;ZR4-6 混凝試驗攪拌機,深圳市中潤水工業技術發展有限公司;布氏漏斗,上海禾汽玻璃儀器有限公司;馬弗爐,宜興市前錦爐業設備有限公司。
1.3 試驗方法
試驗工藝流程見圖1。
圖1 工藝流程
1.3.1離子交換樹脂法
試驗用離子交換樹脂為D301 大孔型弱堿性陰離子交換樹脂,即在大孔結構的苯乙烯-二乙烯苯共聚體上主要帶有叔胺基的陰離子交換樹脂,堿性較弱。該樹脂對Cr(Ⅵ)具有較好的吸附效果,且再生效率高、交換容量大、抗污染能力強、機械強度好。
離子交換過程可以用下面3 個方程式表達:
樹脂的預處理:
R—Cl+NaOH→R—OH+NaCl (1)
吸附反應:
R—OH+Cr2O72-→R—Cr2O7+OH- (2)
洗脫反應:
R—Cr2O7+OH-→R—OH+Cr2O72- (3)
使大量的低濃度含Cr(Ⅵ)廢水流經用D301 樹脂填充的離子交換柱,調節工藝參數使出水達標排放;Cr(Ⅵ)被吸附在樹脂上,待樹脂吸附飽和,用質量分數為5%的NaOH 洗脫液洗滌,收集高濃度含Cr(Ⅵ)富集液。
1.3.2 FeSO4·7H2O 還原沉淀法
移取100mL 經稀釋的含Cr(Ⅵ)富集液于250mL的燒杯中,調節pH,加入一定量的FeSO4·7H2O,在一定攪拌速度下反應一段時間,過濾;調節濾液的pH 為8~9,并加入1~2 滴質量分數為0.1%的聚丙烯酰胺(PAM)絮凝劑,靜置沉淀30 min;取上清液測定其中的Cr(Ⅵ)濃度,過濾、收集Cr(OH)3沉淀。將Cr(OH)3沉淀在馬福爐中于650 ℃左右煅燒,可得到Cr2O3。
1.4 測試方法
Cr(Ⅵ)的測定采用二苯基碳酰二肼分光光度法〔9〕。
2 結果與討論
2.1 離子交換樹脂法
2.1.1吸附部分
查閱相關文獻,根據樹脂D301 的使用參考標準的填裝高度和運行速度,推算出其停留時間約為2.4~12 min,而試驗實際填裝高度為150 mm,則運行流量約為5.2~26.0 mL/min。
配制質量濃度為100 mg/L、pH 約為5.7 的含Cr(Ⅵ)廢水15 L,使其流經試驗用離子交換柱,保持流量約為20 mL/min,離子交換樹脂對Cr(Ⅵ)的吸附效果見表1。
由表1 可知,該離子交換柱運行10.50 h,吸附質量濃度為100 mg/L 的含Cr(Ⅵ)廢水12.7 L,吸附Cr(Ⅵ)的質量約為1 254.6 mg,Cr(Ⅵ)吸附率高達99.89 %以上,出水水質完全達標,可回收循環利用。
表1 D301樹脂對Cr(Ⅵ)的吸附效果
2.1.2洗脫部分
將負載1 254.6 mg Cr(Ⅵ)的交換柱,用5%NaOH 溶液以20 mL/min 的流速解吸,每收集100 mL流出液,測定一次Cr(Ⅵ)的濃度,解吸效果如圖2所示。
圖2 動態洗脫曲線
由圖2 可知,解吸的Cr(Ⅵ)主要集中在初始流出液的500 mL 體積中,約占吸附的Cr(Ⅵ)總質量的95%,濃縮了約70 倍,pH 為12.5。收集前48 min濃度較高的富集液,共820 mL,平均Cr(Ⅵ)質量濃度為1 506.00 mg/L,還原沉淀部分試驗用水皆由此濃縮液配制。
另外,由圖2 還可看出,該洗脫曲線峰形陡峭,沒有托尾現象,洗脫時間短、效率高且節省原材料。
2.2 FeSO4·7H2O 還原沉淀法
2.2.1 pH 的影響
根據文獻所述,FeSO4·7H2O 適宜在堿性條件下還原Cr(Ⅵ)〔10〕,故試驗在pH≥7 的條件下進行。按照1.3.2的方法,稀釋含Cr(Ⅵ)濃縮液,使其質量濃度為500 mg/L,取100 mL 于250 mL 的燒杯中,分別調節pH 為7、8、9、10、11、12、13、13.5,在攪拌速度為150 r/min、FeSO4·7H2O 投加量為2.5 倍理論值的條件下,通過測定反應100 min 后上清液的Cr(Ⅵ)濃度,考察pH 對Cr(Ⅵ)去除效果的影響,結果如圖3 所示。
圖3 pH 對Cr(Ⅵ)去除效果的影響
由圖3 可以看出,堿性條件下,FeSO4·7H2O 對Cr(Ⅵ)的去除率均高于99.31%,表明FeSO4·7H2O 適宜在堿性條件下還原Cr(Ⅵ)。
2.2.2反應時間的影響
按照1.3.2的方法,稀釋含Cr(Ⅵ)濃縮液,使其質量濃度為500 mg/L,取100 mL 于250 mL 燒杯中,在pH=12.5、攪拌速度為150 r/min、FeSO4·7H2O 投加量為2.5 倍理論值的條件下,分別反應0、15、30、50、70、90、100 min,通過測定反應后上清液的Cr(Ⅵ)濃度,考察反應時間對Cr(Ⅵ)去除效果的影響,結果如圖4 所示。
圖4 反應時間對Cr(Ⅵ)去除效果的影響
由圖4 可知,反應時間越長,Cr(Ⅵ)去除率越高,但當反應時間>30 min 時,隨著反應時間的延長,Cr(Ⅵ)去除率趨于平衡,故選用30 min 為最佳反應時間。
2.2.3攪拌速度的影響
按照1.3.2的方法,稀釋含Cr(Ⅵ)濃縮液,使其質量濃度為500 mg/L,取100 mL 于250 mL 燒杯中,調節pH 為12.5,控制攪拌速度分別為50、80、100、120、150、170、190、220 r/min,在FeSO4·7H2O 投加量為2.5 倍理論值的條件下,通過測定反應30 min 后上清液的Cr(Ⅵ)濃度,考察攪拌速度對Cr(Ⅵ)去除效果的影響,結果如圖5 所示。
圖5 攪拌速度對Cr(Ⅵ)去除效果的影響
由圖5 可知,隨著攪拌速度從50 r/min 增加到220 r/min,Cr(Ⅵ)去除率由12.31%升至99.84%,且當攪拌速度≥100 r/min 時,Cr(Ⅵ)去除率均高于98.90%。反應時間越長、攪拌速度越快均有利于去除率的提高,但權衡效率和電耗的關系,取最佳攪拌速度為100 r/min。
2.2.4還原劑投加量的影響
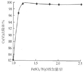
按照1.3.2的方法,稀釋含Cr(Ⅵ)濃縮液,使其質量濃度為500 mg/L,取100 mL 于250 mL 燒杯中,調節pH 為12.5,攪拌速度為120 r/min,FeSO4·7H2O投加量分別為理論投加量的1.0、1.1、1.2、1.5、1.8、2.0、2.5 倍,通過測定反應30 min 后上清液的Cr(Ⅵ)濃度,考察FeSO4·7H2O 投加量對Cr(Ⅵ)去除效果的影響,結果如圖6 所示。
圖6 FeSO4·7H2O 投加量對Cr(Ⅵ)去除效果的影響
由圖6可知,隨著FeSO4·7H2O 投加倍數的增加,Cr(Ⅵ)去除率也大大提高,當FeSO4·7H2O 投加量為理論投加量的1.2 倍時,Cr(Ⅵ)去除率已高達99.65%,繼續增加FeSO4·7H2O 投加倍數,Cr(Ⅵ)去除率的變化趨于平穩。但是不同FeSO4·7H2O 投加量下,反應后上清液的pH 相差很大,FeSO4·7H2O 投加量對反應后溶液pH 的影響如圖7 所示。
圖7 FeSO4·7H2O 投加量對反應后溶液pH 的影響
由圖7 可以看出,反應后上清液的pH 隨著FeSO4·7H2O 投加量的增加而下降。這主要是由于隨著FeSO4·7H2O 投加量的增加,溶液中的Fe2+增多,而Fe2+與OH-有較強的結合力,從而大大消耗了溶液中游離的OH-,出現FeSO4·7H2O 投加量越大,溶液pH 越低的試驗現象。考慮到經濟成本,最佳FeSO4·7H2O 投加量選用理論投加量的1.2 倍。具體參見http://m.dongaorq.cn更多相關技術文檔。
3 結論
采用離子交換樹脂—FeSO4·7H2O 還原沉淀耦合工藝處理質量濃度為100 mg/L 的含Cr(Ⅵ)廢水,首先使低濃度的含Cr(Ⅵ)廢水流經直徑為23 mm、填裝高度為150 mm的離子交換柱,以20 mL/min 的流量連續運行10.5 h,試驗結果表明,該離子交換樹脂柱吸附質量濃度為100 mg/L 的含Cr(Ⅵ)廢水12.7 L,吸附Cr(Ⅵ)的質量約為1 254.6 mg,Cr(Ⅵ)吸附率高達99.89%以上,出水水質完全達標;以5%NaOH 溶液為洗脫劑對吸附飽和的樹脂進行洗脫,洗脫液Cr(Ⅵ)質量濃度高達6 918.7mg/L,濃縮了約70 倍,且洗脫曲線峰形陡峭,沒有托尾現象。用FeSO4·7H2O 還原沉淀經濃縮后的高濃度含Cr(Ⅵ)廢水,其最佳反應條件:pH≥7,反應時間為30 min,攪拌速度為100 r/min,FeSO4·7H2O 投加量為理論投加量的1.2 倍,在此條件下,Cr(Ⅵ)去除率可高達99.65 %。



