一、項目簡介
本電廠廢水處理控制系統項目所在地位于山西省霍州市。霍州發電廠于1967年1月由水利電力部批準籌建,采用火力發電,裝機容量40萬千瓦,年發電量25億千瓦•時,主要擔負著山西中南部地區工農業生產及人民生活用電,是山西電網的主力電廠。
霍州發電廠建設時正處于中國發展的特殊年代,在選廠、設計、設備選購、施工、安裝和投產發電等方面追求簡易發電,給安全經濟生產留下先天缺陷。由于火力發電廠是工業用水大戶,因此每天的工業廢水如果直接排放,不僅浪費水資源,而且會造成嚴重的環境污染。
以往的廢水處理系統采用人工手動控制,造成人員工作強度大,控制效率低,控制工藝落后。本次項目采用全新的自動控制系統和監控技術可以克服以前人工控制精度低、運行操作繁瑣、誤操作可能性大等缺點,該系統的廢水處理工藝流程具有一定的先進性,達到了電廠廢水零排放,大大提高了水的利用率。同時可以通過網絡把監控數據融入整個電廠的自動化管理中,節省人力物力,便于集中管理。通過本自動控制系統把處理過的廢水再納入整個電廠的水循環中,提高電廠用水的效率,節約成本,提高了整體的經濟效益。使電廠的自動化管理和自動化控制生產方面達到一個新的高度。
二、系統介紹
1. 項目工藝簡介
本次項目的主要任務包括含煤廢水的回放、化學再生廢水收集、主廠房內系統優化消防、生活水系統隔離、生活污水及工業廢水回用工程。采用一定的污水處理工藝,并通過自動化控制達到預期規定的控制指標。整個廢水處理系統由收集池、調節水池、凈化器、污泥池、清水池等部分組成,在廢水處理過程中,我們將系統劃分為五個子系統來處理,分別為:凈水系統、儲藥系統、過渡調節系統、清水回用系統以及污泥濃縮系統。
電廠的廢水處理系統工藝流程圖如圖2所示:圖中的圓代表收集水泵;長方形代表集水池;長圓罐代表一體化凈化器,系統中共有四個凈化器,其余三個在圖中省略。箭頭的指向代表廢水的流向,其流向為從左往右。
圖2 電廠廢水處理系統工藝流程圖
![]() |
2.項目方案
為保證廢水處理系統安全穩定的運行,該項目中控制器、執行器、監控組態部分均采用西門子系列產品,主要有以下幾部分:
a. 負載電源模塊(PS):PS 307
b. 接口模塊(IM):IM360,IM361
c. 中央處理單元(CPU):CPU315-2DP
d. 信號模塊(SM):數字量輸入模塊SM321,數字量輸出模塊SM322,模擬量輸入模塊SM331,模擬量輸出模塊SM332
e. 執行器:MicroMaster430/420變頻器
f. 監控組態軟件:WINCC(Windows Control Center)6.0
三、控制系統構成
控制系統的設計包括PLC控制系統部分,系統采集與執行器控制部分以及上位機的監控系統部分。系統結構設計圖如圖3所示。
圖3 系統結構設計圖
![]() 圖3 系統結構設計圖 |
1. 系統硬件配置
在電廠污水處理控制系統中,根據用戶要求及實際情況分析,我們采用西門子公司的S7-300系列產品來完成此項目。參照西門子公司提供的產品技術參數,以S7-300系列中的CPU315-2DP實現控制功能,由于該系統模擬及數字輸入輸出量較多,采用接口模塊IM360、IM361(主機架使用IM360,擴展機架使用IM361)連接擴展的信號模塊滿足系統要求,其中信號模塊包括若干數字量輸入模塊 SM321,數字量輸出模塊 SM322,模擬量輸入模塊SM331,模擬量輸出模塊SM332。
現場多臺工作泵采用西門子MicroMaster430變頻器,MicroMaster430變頻器除了具有第四代變頻器的特點以外,還具有應用于風機和泵類的硬件和軟件特征,尤其適合用于風機和水泵負載的控制。使用此種型號的變頻器可以節約能源消耗,降低運行噪聲,對環境起到很好的保護作用。
電廠污水處理控制系統的輸入輸出信號主要分成4個部分,放在三個相連的導軌上:
模擬量輸入:一站集水池液位,二站集水池液位,清水池液位,污泥池液位,過渡水池液位,溶藥箱液位,流量計和四個進化器的濁度和壓差。
模擬量輸出:四個控制變頻器(一站收集水泵、回用水泵、加藥計量泵a、加藥計量泵b)。
數字量輸入:分為各個水泵風機的運行,故障反饋信號,手/自動選擇信號;各個閥門的手動開,關控制信號,故障反饋信號和手/自動選擇信號。
數字量輸出:分別為對各個水泵、風機的開、關、復位輸出控制信號;各個閥門的開,關輸出控制信號;變頻器的啟動,復位控制信號。
系統配置了操作員站和工程師站,操作員站的上位機采用研華科技的610H工控機,監控系統使用西門子WINCC監控組態軟件,它不僅能很好的支持S7系列的CPU,還集成了多種網絡連接方式,使上位機與自動化系統的連接工作非常方便。而且它提供了適用于工業的圖形顯示、消息報警、過程值歸檔以及報表打印等模塊,具有高性能的過程耦合、快速的畫面更新、以及可靠的數據管理功能。圖4所示為WINCC組態示意圖。
圖4 WINCC組態示意圖
![]() 圖4 WINCC組態示意圖 |
2.控制方案選擇
在采用本系統實施方案前,客戶擬采用CPU315模塊及通信處理器模塊CP343-1實現系統要求,由于CP343-1有其自身的處理器可連接 SIMATIC S7-300和工業以太網等 ,可獨立處理數據通信,這樣使得系統可擴展性增強。由于考慮到項目總體預算及成本,本方案將前方案中 CPU315模塊換為CPU315-2DP,并省去通信處理器模塊CP343-1,這樣既滿足了系統要求,又減少了系統模塊,綜合計算后為項目開發節約了不少硬件開支。
四、控制系統完成的功能
1.控制系統功能及指標
(1)軟件實現
根據工藝,整個系統的程序由下列幾個部分組成:1#集水池、2#集水池、清水池、調節水池、凈化器正洗、凈化器反洗、加藥、凈化器停止。每個程序都可以單獨控制和單獨運行,同時每個程序又是系統的組成部分,它們之間互相有數據的傳輸。它們組合在一起動作就構成了完整的PLC控制系統程序。下圖5為工業部分現場圖:
圖5 工業現場
![]() 圖5 工業現場 |
程序中編程采用STEP 7軟件。這套軟件不僅是一個簡單的程序編寫軟件,還集成了硬件組態、網絡組態、系統調試、項目管理等各種功能,使項目的實施更加方便。在本控制系統的完成過程中,主要進行了以下幾部分的程序設計(如圖6):
圖6 項目OB1中程序結構圖
![]() 圖6 項目OB1中程序結構圖 |
由廢水處理的工藝流程可以知道,廢水在經過一系列的水池后最終進入四個廢水凈化器,在凈化器里經過工藝的處理后排放到清水池中。從程序角度看,四個廢水凈化器的控制流程一致,因此沒有必要為每個凈化器編寫一段代碼,只需編寫一個函數塊,讓它們都調用即可。為此,對于在凈化器中的正洗、反洗和停止流程都編寫了一個程序塊,分別是FB11,FB12,FB13。對于每個凈化器來說只要分別調用相同的函數塊就行,對于每個凈化器中不同狀態的數據是利用其不同的數據塊來加以區別的。這樣在整個程序中即保持了流程的統一性,即減少了程序代碼,節約了存儲空間,又方便維護和修改。
模擬量信號因為其在傳輸過程中有可能會受到其它信號的干擾,而可能出現較大幅度的瞬間變化,而這些值對于系統來說是毫無用處的,甚至有些還可能引起系統的異常運行。由于模擬量總是隨著時間連續變化的,所以可以利用濾波算法把瞬間變化的干擾信號過濾掉,把有用的數據傳輸給PLC控制系統處理。在廢水處理控制系統中由于所要求數據處理速度不快,精度也是不要求太高,只是為了防止突然間信號的瞬間變化影響到系統中程序對水質,濁度的判斷,所以在系統中使用算術平均濾波算法,算法處理簡單,可靠性高,程序編寫方便。在程序中定義了FB21作為濾波處理算法的功能塊,相當于函數一樣,參數的傳遞是 Analog_in變量,返回值是Analog_out變量。事實證明這種算法已經能夠滿足現場的實際需要,取得了良好的效果。
本控制系統使用的CPU 315-2DP中沒有集成相應的系統功能塊,故程序中使用FB41 “CONT_C”作為PID控制功能塊。 CONT_C可以在S7系列PLC中實現對于連續輸入輸出變量的PID控制。CONT_C中的PID控制環節為增量式PID環節,相關參數可以通過輸入參數進行實時調整。PID控制程序塊與模擬量濾波算法一樣都放在定時中斷OB35中,它們一個是輸入濾波,一個是輸出控制,這樣可以準確地掌握程序運行時間,提高控制精度。
(2)硬件實現
電廠污水處理控制系統的輸入輸出信號主要分成4個部分,分別為模擬量輸入、輸出,數字量輸入、輸出,并放在三個相連的導軌上,如圖7所示:
圖7 實際系統的機架結構圖
![]() 圖7 實際系統的機架結構圖 |
輸入輸出的硬件接口是也是系統設計的一部分,它反映的是PLC輸入輸出與現場設備之間的連接,只有正確連接安裝才能使得PLC讀取到數字量和模擬量,連接方法的不同可以有效地防止現場的干擾,保證數據的正確性。
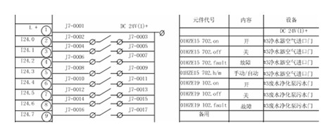
對于SM321的數字輸入量模塊,在15-25V直流電壓以內都能檢測到信號。由于現場的執行器也是發出的直流信號,因此把其直接和現場的開關設備連接來接收開關信號量,圖8給出了的數字量輸入模塊接口示意圖。
圖8 數字量輸入接線原理圖
![]() 圖8 數字量輸入接線原理圖 |
數字量輸出選用晶體管輸出模塊SM322,晶體管輸出的響應時間短、壽命長、輸出口密度高,但是其只能帶直流負載而且帶載能力弱。同時為了使 PLC的輸出和現場回路之間隔離,在輸出端使用了繼電器,通過繼電器觸點控制現場負載。這樣使控制器與現場達到了電氣隔離的作用,大大提高了系統的安全性,同時也使輸出口帶載能力得到了大大的增強。在繼電器旁邊加二極管泄放反電勢能量,起到保護輸出口的作用。圖9給出了數字量輸出模塊接口示意圖。
圖9 數字量輸出接線原理圖
![]() 圖9 數字量輸出接線原理圖 |
SM331采用4-20mA電流輸入連接到傳感器上,采集系統模擬量數據。圖10給出了模擬量輸入模塊接口示意圖。
圖10 模擬量輸入接線原理圖
![]() 圖10 模擬量輸入接線原理圖 |
SM332輸出0-10v電壓連接到變頻器直接給控制信號。圖11給出了模擬量輸出模塊接口示意圖。
圖11 模擬量輸出接線原理圖
![]() 圖11 模擬量輸出接線原理圖 |
2.系統的監控與管理
系統采用WINCC5.2監控組態軟件在研華科技的610H工控機上實現監控與管理,為生產與安全帶來極大的方便。
經過設計,整個監控系統提供了如下的功能:
(1)在線自動監視
系統可對廢水處理裝置的各項儀表數據實時的在線監視,并且生動直觀的反應在監控界面上面。系統的刷新數據是1秒,歷史的保存間隔是2分鐘。圖12為廢水處理系統工藝監控界面。
圖12 廢水處理系統工藝監控界面
![]() 圖12 廢水處理系統工藝監控界面 |
(2)在線手動控制
系統可提供在線實時的對參與控制的各電動閥門和泵的手動控制操作。當系統運行中需要進行維護或執行其它控制時,可以在線實時的對各個設備手動的單獨控制,而不影響其它設備的正常自動運行。
(3)工藝參數在線實時設定
系統可以提供在線的實時參數修改,當在運行過程中發現工藝需要改進或其它問題,可以由操作員在線改變系統的參數,以使系統工作在最優的控制狀態中,如圖13。
圖13 工藝參數設定
![]() 圖13 工藝參數設定 |
(4)故障診斷和報警
系統可對以下故障自動診斷,并發出預防性的報警。
報警高限:實時參數異常偏大,大于設定值,是該監測點處于高報警。
報警底限:實時參數異常偏小,小于設定值,是該監測點處于低報警。
報警:當實時參數出現異常時,相應的監測點通過顏色的變化,提醒操作員注意,進行相關的操作,若需要可以配合聲音報警。
故障報警界面如圖14。
圖14 故障報警界面
![]() 圖14 故障報警界面 |
(5)利用歷史曲線查詢分析遠程模擬量的情況
利用歷史曲線,可隨時針對各個運行點的情況,結合本時間各監測點的數據,分析系統的運行情況,凈水器的運行狀態。
運行過程中,系統將自動生成數據報表,并將數據報表保存在歷史數據庫中,以便隨時查詢歷史記錄。圖15所示為趨勢曲線界面。
圖15 趨勢曲線界面
![]() 圖15 趨勢曲線界面 |
(6)報表的打印
報表打印可以根據操作員的要求,生成符合要求的系統報表,并且打印。也可以設定讓系統自動的根據間隔的時間實時的打印報表。圖16所示為報表打印界面。
圖16 報表打印界面
![]() 圖16 報表打印界面 |
(7)系統指標
系統的數字量輸入點為227個
系統的數字量輸出點為125個
系統的模擬量輸入點為15個通道
系統的模擬量輸出點為4個通道
系統監測數據刷新時間為1秒
歷史數據的保存及報表顯示:根據硬盤存儲器的大小來決定保存的時間。保存的間隔為2分鐘,初步估計可以有效存儲13年左右。
3.項目亮點及難點實現
(1)WINCC定時器問題
在定時器的使用過程中,由于設定的定時時間是需要根據實際的工藝來調整的,為此不能在定時器中使用常量定時時間。要新建DB25數據塊,建立變量的參數時間選擇TIME數據類型,它是一個32位的數據,T#1D_1H_1M_1S_1MS,前面是一個標準的例子,表示定時時間為1天1小時1分 1秒1毫秒。使用可變參數是為了和WINCC中通訊,使得現場操作員可以根據當前水質等一系列變化調整時間值,由于在WINCC中沒有TIME這個數據類型,只能用DWORD32位整型類型來操作,這就涉及到了兩個數據類型的轉換的問題。根據實際情況所得TIME中的1s=1000(DWORD型)。為了減少STEP7中數據的處理量,在WINCC中使用C腳本對數據進行了處理。WINCC中的時間以分為單位,因此 1M=1s*60=1000*60=60000(DWORD型)。
(2) 數據網上發布平臺
本項目中設計了系統數據的網上發布平臺,在這里有兩種方案可以考慮,一是利用西門子公司提供的WINCC Web Navigator軟件開發網上的數據傳送系統;二是利用Delphi軟件來開發網絡瀏覽系統。由于項目經費限制,我們采取了第二種方案。通過這種方案,界面的設計,和本地化系統的集成就都掌握在設計者手中,使得最后的系統能過符合客戶的要求,人性化,易用性都比較高,而開發成本也在控制之中。
(3)WINCC中動態報表的設計
在實際項目中雖然WINCC提供了變量趨勢顯示、報表功能,滿足了簡單的歸檔數據訪問要求,但不能完成該廢水處理工程項目提出的復雜數據處理要求(如:進行有條件的查詢和打印,任意時間、任意區段的查詢等)。因此,在設計過程中對歸檔數據復雜查詢技術進行了研究。WINCC是一個全面開放的組態軟件,它可方便地集成標準Windows應用的對象、函數和文檔;提供了訪問所有WINCC功能的API編程接口;集成了OLE/OCX和 ActiveX對象;它允許通過標準接口(標準SQL數據庫)訪問歸檔數據庫;通過DDE、OPC接口與其它Windows程序進行數據交換。這些開放性為自行擴展和進一步豐富WINCC軟件的功能、解決該工程問題提供了可能。在本項目中應用ActiveX技術實現WINCC歸檔數據復雜查詢解決該工程問題是可行的:根據用戶對控制系統有條件查詢、打印的要求,運用Delphi設計ActiveX控件,然后在WINCC中調用該控件,最終實現WINCC不能完成的復雜歸檔數據訪問任務。
五、結束語
系統于2004年10月投入運行,兩年來系統運行良好,未進行任何維修,電廠廢水達到了零排放,大大提高了水的利用率。
六、應用體會
在項目進行的過程中,西門子在工控領域中安全、可靠、成熟、高效的產品及解決方案為項目的順利進行提供了保證和保障。西門子的TIA理念及產品特點,著眼于整個工廠的控制和管理,采用統一的數據管理、統一的編程組態平臺、統一的通訊規范和靈活的結構配置,從另一側面保證了項目的順利完成。
本項目使用了WINCC監控軟件,由于軟件優越的開放性,解決了項目中的監控方面的難點問題,如WINCC中動態報表的設計等功能。而統一的國際標準編程語言及現場總線技術的應用,以及項目中軟硬件設計的模塊化,更體現了本系統的可擴展性與可維護性。
附:參考文獻
1 肖萍.火電廠排放廢水的處理與回用.江蘇環境科技.1998(3):18-19
2 STEP 7 V5.2 編程手冊.SIEMENS AG.2002
3 S7-300可編程序控制器硬件和安裝手冊.SIEMENS AG.2004
4 WINCC編程指南.SIEMENS AG.1998
5 求是科技.Visual Basic 6.0數據庫開發技術與工程實踐.人民郵電出版社,2004 來源:谷騰水網

















