公布日:2024.12.20
申請日:2024.10.16
分類號:C02F11/127(2019.01)I;B01D46/10(2006.01)I;B01F27/90(2022.01)I;B01F31/00(2022.01)I;C02F103/00(2006.01)N
摘要
本發明屬于污泥脫水治理技術領域,尤其是一種水利河道生態治理用的污泥脫水裝置,針對在對污泥進行脫水時,無法保證脫水箱內空氣流速,長期使用后,使得脫水箱內部回潮,降低其使用壽命,且在將污泥脫水后,沒有對污水進行處理直接排出,導致污水污染生態環境的問題,現提出如下方案,其包括:脫水箱;瀝水板,固定安裝于所述脫水箱內,所述瀝水板上設有脫水筒,所述脫水箱的底部固定安裝有伺服電機。本發明結構簡單,對污泥脫水時,可保證脫水箱內的空氣流通,避免回潮,降低其使用壽命,同時移動齒輪轉動并帶動攪拌葉旋轉,從而達到對污水充分攪拌的效果,繼而使得污水可以得到有效處理,方便人們使用。

權利要求書
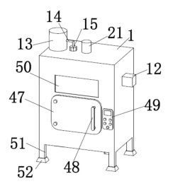
1.一種水利河道生態治理用的污泥脫水裝置,其特征在于,包括:脫水箱(1);瀝水板(2),固定安裝于所述脫水箱(1)內,所述瀝水板(2)上設有脫水筒(3),所述脫水箱(1)的底部固定安裝有伺服電機(4),所述瀝水板(2)的底部固定安裝有固定吊板(5),固定吊板(5)的一側固定安裝有推桿電機(6),推桿電機(6)的輸出軸上固定連接有出料板(7),所述脫水箱(1)的一側設有出料口(8),所述脫水箱(1)的底壁上滑動連接有右側支塊(9),右側支塊(9)上固定安裝有攪拌箱(10),攪拌箱(10)的底部一端固定安裝有左側支塊(11),所述脫水箱(1)的一側固定安裝有進風箱(12),所述脫水箱(1)的前側設有開口(50);清洗機構,設置于所述脫水箱(1)上,用于對脫水筒(3)進行沖洗;脫水機構,設置于所述脫水箱(1)內,用于對污泥進行脫水處理;進風機構,設置于所述進風箱(12)內,用于加快脫水箱(1)的空氣流通,保證脫水箱(1)內的干燥;攪拌機構,設置于所述脫水箱(1)內,用于對脫水后的污水進行清理。
2.根據權利要求1所述的一種水利河道生態治理用的污泥脫水裝置,其特征在于,所述清洗機構包括固定安裝于脫水箱(1)頂部的儲水筒(13),脫水箱(1)的頂部且位于儲水筒(13)旁設有水泵(15),水泵(15)與儲水筒(13)之間連通有水管一(14),脫水箱(1)的頂壁和側壁之間固定安裝有導風板(16),導風板(16)的斜面上固定安裝有斜撐板(17),斜撐板(17)上固定連接有噴水板(18),噴水板(18)上設有多個噴嘴(19),且噴水板(18)與水泵(15)之間連通有水管二(20)。
3.根據權利要求1所述的一種水利河道生態治理用的污泥脫水裝置,其特征在于,所述脫水箱(1)的頂部固定設有氣缸(21),氣缸(21)的底端固定設有成型圓板(22)。
4.根據權利要求1所述的一種水利河道生態治理用的污泥脫水裝置,其特征在于,所述脫水機構包括設于瀝水板(2)上的環形槽(23),環形槽(23)內滑動連接有多個對稱的環形塊(24),多個環形塊(24)均與脫水筒(3)的外壁固定連接,脫水箱(1)內轉動連接有驅動桿(25)。
5.根據權利要求4所述的一種水利河道生態治理用的污泥脫水裝置,其特征在于,所述驅動桿(25)與伺服電機(4)的輸出軸固定連接,驅動桿(25)上固定連接有驅動齒輪(26),脫水筒(3)上固定連接有齒輪圈(27),齒輪圈(27)與驅動齒輪(26)相嚙合。
6.根據權利要求4所述的一種水利河道生態治理用的污泥脫水裝置,其特征在于,所述進風機構包括固定連接于驅動桿(25)上的一號傘形齒輪(28),進風箱(12)內固定安裝有垂直撐板(29),垂直撐板(29)上轉動連接有旋轉桿(30),旋轉桿(30)的一端固定連接有二號傘形齒輪(31),二號傘形齒輪(31)與一號傘形齒輪(28)相嚙合。
7.根據權利要求6所述的一種水利河道生態治理用的污泥脫水裝置,其特征在于,所述旋轉桿(30)的另一端固定連接有扇葉套(32),扇葉套(32)的外壁上固定連接有抽風扇葉(33),進風箱(12)的一側固定連通有吹風罩(34),進風箱(12)的另一側設有濾板(35)。
8.根據權利要求4所述的一種水利河道生態治理用的污泥脫水裝置,其特征在于,所述攪拌機構包括分別固定安裝于脫水箱(1)兩側內壁的導液板(36),驅動桿(25)上固定連接有凸輪(37),攪拌箱(10)的一側固定連接有L型板(38),L型板(38)上開設有長孔(39),驅動桿(25)穿過長孔(39),脫水箱(1)的底壁上設有復位槽(40),復位槽(40)內固定設有復位彈簧(41),左側支塊(11)與復位彈簧(41)的一端固定連接,左側支塊(11)與復位槽(40)滑動連接。
9.根據權利要求1所述的一種水利河道生態治理用的污泥脫水裝置,其特征在于,所述脫水箱(1)的底壁上固定安裝有固定齒條(42),攪拌箱(10)內轉動連接有旋轉軸(43),旋轉軸(43)上固定連接有攪拌葉(44),旋轉軸(43)的底端固定連接有移動齒輪(45),移動齒輪(45)與固定齒條(42)相嚙合,攪拌箱(10)與旋轉軸(43)之間設有密封套(46)。
10.根據權利要求1所述的一種水利河道生態治理用的污泥脫水裝置,其特征在于,所述脫水箱(1)的前側設有箱門(47),箱門(47)上設有扶手(48),脫水箱(1)上且位于箱門(47)旁設有控制器(49)。
本發明內容
本發明的目的是為了解決了在對污泥進行脫水時,無法保證脫水箱內空氣流速,長期使用后,使得脫水箱內部回潮,降低其使用壽命,且在將污泥脫水后,沒有對污水進行處理直接排出,導致污水污染生態環境的缺點,而提出的一種水利河道生態治理用的污泥脫水裝置。
為了實現上述目的,本發明采用了如下技術方案:
一種水利河道生態治理用的污泥脫水裝置,包括:
脫水箱;
瀝水板,固定安裝于所述脫水箱內,所述瀝水板上設有脫水筒,所述脫水箱的底部固定安裝有伺服電機,所述瀝水板的底部固定安裝有固定吊板,固定吊板的一側固定安裝有推桿電機,推桿電機的輸出軸上固定連接有出料板,所述脫水箱的一側設有出料口,所述脫水箱的底壁上滑動連接有右側支塊,右側支塊上固定安裝有攪拌箱,攪拌箱的底部一端固定安裝有左側支塊,所述脫水箱的一側固定安裝有進風箱,所述脫水箱的前側設有開口;
清洗機構,設置于所述脫水箱上,用于對脫水筒進行沖洗;
脫水機構,設置于所述脫水箱內,用于對污泥進行脫水處理;
進風機構,設置于所述進風箱內,用于加快脫水箱的空氣流通,保證脫水箱內的干燥;
攪拌機構,設置于所述脫水箱內,用于對脫水后的污水進行清理。
進一步地,所述清洗機構包括固定安裝于脫水箱頂部的儲水筒,脫水箱的頂部且位于儲水筒旁設有水泵,水泵與儲水筒之間連通有水管一,脫水箱的頂壁和側壁之間固定安裝有導風板,導風板的斜面上固定安裝有斜撐板,斜撐板上固定連接有噴水板,噴水板上設有多個噴嘴,且噴水板與水泵之間連通有水管二。
進一步地,所述脫水箱的頂部固定設有氣缸,氣缸的底端固定設有成型圓板,氣缸向下移動時,可帶動成型圓板向下移動對污泥進行擠壓成型的同時進行二次脫水。
進一步地,所述脫水機構包括設于瀝水板上的環形槽,環形槽內滑動連接有多個對稱的環形塊,多個環形塊均與脫水筒的外壁固定連接,脫水箱內轉動連接有驅動桿。
進一步地,所述驅動桿與伺服電機的輸出軸固定連接,驅動桿上固定連接有驅動齒輪,脫水筒上固定連接有齒輪圈,齒輪圈與驅動齒輪相嚙合,利用齒輪圈與驅動齒輪之間的嚙合,使得與齒輪圈固定連接的脫水筒旋轉,利用離心的作用進行脫水工作。
進一步地,所述驅動桿與伺服電機的輸出軸固定連接,驅動桿上固定連接有驅動齒輪,脫水筒上固定連接有齒輪圈,齒輪圈與驅動齒輪相嚙合。
進一步地,所述進風機構包括固定連接于驅動桿上的一號傘形齒輪,進風箱內固定安裝有垂直撐板,垂直撐板上轉動連接有旋轉桿,旋轉桿的一端固定連接有二號傘形齒輪,二號傘形齒輪與一號傘形齒輪相嚙合。
進一步地,所述旋轉桿的另一端固定連接有扇葉套,扇葉套的外壁上固定連接有抽風扇葉,進風箱的一側固定連通有吹風罩,進風箱的另一側設有濾板,濾板可將外界進入進風箱內的空氣進行過濾。
進一步地,所述攪拌機構包括分別固定安裝于脫水箱兩側內壁的導液板,驅動桿上固定連接有凸輪,攪拌箱的一側固定連接有L型板,L型板上開設有長孔,驅動桿穿過長孔,脫水箱的底壁上設有復位槽,復位槽內固定設有復位彈簧,左側支塊與復位彈簧的一端固定連接,左側支塊與復位槽滑動連接,復位彈簧釋放彈力時,可帶動左側支塊復位,以此達到攪拌箱晃動的效果。
進一步地,所述脫水箱的底壁上固定安裝有固定齒條,攪拌箱內轉動連接有旋轉軸,旋轉軸上固定連接有攪拌葉,旋轉軸的底端固定連接有移動齒輪,移動齒輪與固定齒條相嚙合,攪拌箱與旋轉軸之間設有密封套,密封套可保證旋轉軸轉動時,攪拌箱不會溢水,從而提高了攪拌箱的密封性。
進一步地,所述脫水箱的前側設有箱門,箱門上設有扶手,脫水箱上且位于箱門旁設有控制器。
與現有技術相比,本發明的優點在于:
1.本方案由于驅動桿通過驅動齒輪帶動齒輪圈轉動,齒輪圈帶動固定連接的脫水筒旋轉,利用離心的力使得污泥中的污水脫離脫水筒,從而達到脫水的效果;
2.本方案由于旋轉桿帶動固定連接的扇葉套轉動,并使得與扇葉套固定連接的抽風扇葉旋轉將外界的空氣抽入進風箱,空氣經過濾板過濾后,通過進風箱進入吹風罩,吹向導風板,由于導風板為傾斜設置的,使得氣流反射散布在進風箱內,從而保證了脫水箱內的空氣流通,避免回潮,降低其使用壽命;
3.本方案由于當復位彈簧釋放彈力時,可帶動左側支塊復位,以此達到攪拌箱晃動的效果,使得污水與攪拌箱內的凈化劑混合,同時攪拌箱往復移動時,可使得移動齒輪與固定齒條嚙合,移動齒輪轉動并帶動攪拌葉旋轉,從而達到對污水充分攪拌的效果,繼而使得污水可以得到有效處理。
本發明結構簡單,對污泥脫水時,可保證脫水箱內的空氣流通,避免回潮,降低其使用壽命,同時移動齒輪轉動并帶動攪拌葉旋轉,從而達到對污水充分攪拌的效果,繼而使得污水可以得到有效處理,方便人們使用。
(發明人:顧呂;徐波;徐鵬;湯文豪;劉昕)






