公布日:2024.12.24
申請日:2024.11.23
分類號:B01D36/04(2006.01)I
摘要
本發明公開了一種攪拌車洗車廢水循環利用設備,涉及攪拌車廢水回收利用技術領域。包括沉淀罐,所述沉淀罐的內部固定安裝有過濾橫板,所述沉淀罐的側端面固定安裝有環形管。該發明利用過濾橫板攔截廢水中的砂石,通過雙向電機驅動弧形推板將砂石撥入傾斜濾板上,傾斜濾板幫助部分水分回流至沉淀罐,實現廢水與砂石的有效分離,當連接桿在轉動時會驅動攪拌葉片攪拌沉淀罐中的廢水,結合離心力集中泥漿,提升沉淀效率,再利用轉動桿通過弧形凸塊與傾斜面、接觸弧塊接觸,產生往復升降運動,對傾斜濾板進行敲擊,防止小砂石堵塞,提升過濾效果,同時雙向電機帶動分離組件中的清洗葉片旋轉,清洗砂石上的泥漿,有效地增強廢水處理效果。

權利要求書
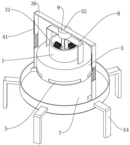
1.一種攪拌車洗車廢水循環利用設備,包括沉淀罐(1),其特征在于:所述沉淀罐(1)的內部固定安裝有過濾橫板(2),所述沉淀罐(1)的側端面固定安裝有環形管(3),所述環形管(3)的內底部設置有傾斜濾板(4)所述傾斜濾板(4)與過濾橫板(2)固定連接,所述環形管(3)的側端面開設有出料口(5),所述沉淀罐(1)與環形管(3)之間開設有連通口(6),所述沉淀罐(1)的側端面且處于環形管(3)的下方設置有集料板(7);所述環形管(3)上固定安裝有U型架板(8),所述U型架板(8)上設置有撥動組件,利用撥動組件使落在過濾橫板(2)上的砂石撥入到環形管(3)內;所述沉淀罐(1)的內部設置有振動組件,利用振動組件避免廢水中的砂石和泥漿黏附在傾斜濾板(4)和過濾橫板(2)上;所述沉淀罐(1)的內部且處于過濾橫板(2)的上方設置有分離組件,利用分離組件將砂石與泥漿分離。
2.根據權利要求1所述的一種攪拌車洗車廢水循環利用設備,其特征在于:所述撥動組件包括固定安裝在U型架板(8)上的雙向電機(9),所述雙向電機(9)的輸出端固定連接有第一輸出轉軸(10)和第二輸出轉軸(35),所述第一輸出轉軸(10)遠離雙向電機(9)的一端固定安裝有連接桿(11),所述連接桿(11)的側端面固定安裝有弧形推板(12),所述弧形推板(12)的數量為多個,且環形布置在過濾橫板(2)上。
3.根據權利要求2所述的一種攪拌車洗車廢水循環利用設備,其特征在于:所述過濾橫板(2)上固定安裝有軸承(13),所述軸承(13)上固定安裝有轉動桿(14),所述轉動桿(14)的頂端固定安裝在連接桿(11)上,所述轉動桿(14)的側端面固定安裝有攪拌葉片(15),所述攪拌葉片(15)上開設有方形通槽(16)。
4.根據權利要求3所述的一種攪拌車洗車廢水循環利用設備,其特征在于:所述振動組件包括固定安裝在轉動桿(14)上的安裝圓塊(17),所述安裝圓塊(17)的側端面開設有安裝槽(18),所述安裝槽(18)的內部轉動連接有振動擊桿(19),所述振動擊桿(19)下端面固定安裝有弧形凸塊(20)。
5.根據權利要求4所述的一種攪拌車洗車廢水循環利用設備,其特征在于:所述連通口(6)的內底部固定安裝有支撐板(21),所述支撐板(21)的頂端固定安裝有環形塊(22),所述環形塊(22)的頂端開設有傾斜面(23),所述傾斜面(23)上固定安裝有多個接觸弧塊(24),所述弧形凸塊(20)分別與傾斜面(23)、接觸弧塊(24)滑動連接。
6.根據權利要求3所述的一種攪拌車洗車廢水循環利用設備,其特征在于:所述分離組件包括固定安裝在U型架板(8)上的連接定板(25)和固定安裝在第一輸出轉軸(10)上的主動錐齒輪(26),所述連接定板(25)上固定安裝有方形塊(27),所述方形塊(27)的內部開設有驅動槽(28),所述驅動槽(28)的內部轉動連接有從動轉桿(29),所述從動轉桿(29)上固定安裝有從動錐齒輪(30)和清洗葉片(31),所述主動錐齒輪(26)與從動錐齒輪(30)的位置均處于驅動槽(28)的內部,所述清洗葉片(31)的位置處于沉淀罐(1)的內部,所述主動錐齒輪(26)與從動錐齒輪(30)嚙合。
7.根據權利要求2所述的一種攪拌車洗車廢水循環利用設備,其特征在于:所述第二輸出轉軸(35)上固定安裝有U型板(36),所述U型板(36)的底端固定安裝有液壓缸(37),所述液壓缸(37)的輸出端固定連接有固定桿(38),所述固定桿(38)的底端固定安裝有平整板(39),通過所述平整板(39)對落在集料板(7)上的砂石進行平整。
8.根據權利要求7所述的一種攪拌車洗車廢水循環利用設備,其特征在于:所述固定桿(38)上固定安裝有對稱布置的穩固桿(40),所述U型板(36)的側端面開設有與穩固桿(40)配合使用的穩固槽(41),所述穩固桿(40)與穩固槽(41)滑動連接。
9.根據權利要求1所述的一種攪拌車洗車廢水循環利用設備,其特征在于:所述沉淀罐(1)的側端面開設有排水管(32),所述沉淀罐(1)的內底部設置有可拆卸安裝的封閉門(33)。
10.根據權利要求1所述的一種攪拌車洗車廢水循環利用設備,其特征在于:所述集料板(7)的側端面固定安裝有L型的支撐桿(34),所述支撐桿(34)的數量為多個,且環形布置。
發明內容
針對現有技術的不足,本發明提供了一種攪拌車洗車廢水循環利用設備,解決了上述背景技術提到的問題。
為實現以上目的,本發明通過以下技術方案予以實現:一種攪拌車洗車廢水循環利用設備,包括沉淀罐,所述沉淀罐的內部固定安裝有過濾橫板,所述沉淀罐的側端面固定安裝有環形管,所述環形管的內底部設置有傾斜濾板所述傾斜濾板與過濾橫板固定連接,所述環形管的側端面開設有出料口,所述沉淀罐與環形管之間開設有連通口,所述沉淀罐的側端面且處于環形管的下方設置有集料板;所述環形管上固定安裝有U型架板,所述U型架板上設置有撥動組件,利用撥動組件使落在過濾橫板上的砂石撥入到環形管內;所述沉淀罐的內部設置有振動組件,利用振動組件避免廢水中的泥漿黏附在傾斜濾板和過濾橫板上;所述沉淀罐的內部且處于過濾橫板的上方設置有分離組件,利用分離組件將砂石與泥漿分離。
優選的,所述撥動組件包括固定安裝在U型架板上的雙向電機,所述雙向電機的輸出端固定連接有第一輸出轉軸和第二輸出轉軸,所述第一輸出轉軸遠離雙向電機的一端固定安裝有連接桿,所述連接桿的側端面固定安裝有弧形推板,所述弧形推板的數量為多個,且環形布置在過濾橫板上。
優選的,所述過濾橫板上固定安裝有軸承,所述軸承上固定安裝有轉動桿,所述轉動桿的頂端固定安裝在連接桿上,所述轉動桿的側端面固定安裝有攪拌葉片,所述攪拌葉片上開設有方形通槽。
優選的,所述振動組件包括固定安裝在轉動桿上的安裝圓塊,所述安裝圓塊的側端面開設有安裝槽,所述安裝槽的內部轉動連接有振動擊桿,所述振動擊桿下端面固定安裝有弧形凸塊。
優選的,所述連通口的內底部固定安裝有支撐板,所述支撐板的頂端固定安裝有環形塊,所述環形塊的頂端開設有傾斜面,所述傾斜面上固定安裝有多個接觸弧塊,所述弧形凸塊分別與傾斜面、接觸弧塊滑動連接。
優選的,所述分離組件包括固定安裝在U型架板上的連接定板和固定安裝在第一輸出轉軸上的主動錐齒輪,所述連接定板上固定安裝有方形塊,所述方形塊的內部開設有驅動槽,所述驅動槽的內部轉動連接有從動轉桿,所述從動轉桿上固定安裝有從動錐齒輪和清洗葉片,所述主動錐齒輪與從動錐齒輪的位置均處于驅動槽的內部,所述清洗葉片的位置處于沉淀罐的內部,所述主動錐齒輪與從動錐齒輪嚙合。
優選的,所述第二輸出轉軸上固定安裝有U型板,所述U型板的底端固定安裝有液壓缸,所述液壓缸的輸出端固定連接有固定桿,所述固定桿的底端固定安裝有平整板,通過所述平整板對落在集料板上的砂石進行平整。
優選的,所述固定桿上固定安裝有對稱布置的穩固桿,所述U型板的側端面開設有與穩固桿配合使用的穩固槽,所述穩固桿與穩固槽滑動連接。
優選的,所述沉淀罐的側端面開設有排水管,所述沉淀罐的內底部設置有可拆卸安裝的封閉門。
優選的,所述集料板的側端面固定安裝有L型的支撐桿,所述支撐桿的數量為多個,且環形布置。
本發明提供了一種攪拌車洗車廢水循環利用設備。與現有技術相比具備以下有益效果:1、本發明通過濾橫板能夠將廢水中的砂石攔截,并且利用雙向電機驅動第一輸出轉軸上的連接桿轉動,利用連接桿轉動驅動弧形推板轉動,利用弧形推板便于將過濾橫板上的砂石通過連通口撥入到傾斜濾板上,通過傾斜濾板便于將撥出的水分通過環形管重新進入到沉淀罐的內部,有效地實現廢水與砂石之間的分離;2、本發明中當連接桿在轉動時利用軸承驅動轉動桿轉動,利用轉動桿上的攪拌葉片對沉淀罐中的廢水進行攪拌,利用離心力便于將沉淀罐中的泥漿集中在一起,有效地提高泥漿在沉淀罐中的沉淀效率;3、本發明中當轉動桿在轉動時會同步驅動安裝圓塊轉動,安裝圓塊在轉動時會同步驅動振動擊桿以轉動桿為中心發生轉動,并且轉動桿在轉動時會通過弧形凸塊分別與傾斜面、接觸弧塊發生依次接觸,從而使轉動桿在轉動時會處于往復升降的狀態,利用往復升降的轉動桿便于往復敲擊傾斜濾板,利用敲擊產生的振動力避免部分較小的砂石堵塞傾斜濾板,同時處于傾斜濾板上的振動力會傳遞在過濾橫板上,能夠有效地避免過濾橫板上的泥漿影響到過濾橫板的過濾效果。
4、本發明中當雙向電機驅動第一輸出轉軸轉動時,第一輸出轉軸會同步驅動主動錐齒輪轉動,通過主動錐齒輪與從動錐齒輪的配合使用,從動錐齒輪在轉動時會驅動從動轉桿上的清洗葉片轉動,利用清洗葉片便于將黏附在砂石上的泥漿進行分離,有效地增強對廢水的處理效果。
(發明人:劉靜;劉燕;劉楊;曲海龍;杜江明;侯文超)






