公布日:2024.01.23
申請日:2023.12.21
分類號:C02F1/02(2023.01)I;C02F1/00(2023.01)I;C02F1/40(2023.01)I
摘要
本發明公開了一種污水領域新型隔油除渣裝置,包括隔油除渣裝置、裝配在隔油除渣裝置兩側的進水口和出水口,所述隔油除渣裝置的內部安裝有隔板,所述隔油除渣裝置靠近進水口的一側插接有加熱裝置,且隔油除渣裝置側面位于加熱裝置下方的位置插接有排油管。本發明中,通過設置加熱裝置,從而利用加熱裝置對油污水進行加熱,使其保持一個恒定的溫度,避免油質凝結成塊,因此漂浮在污水之上的油質會通過懸浮排油閥,軟管和排油管的導向進入到收集桶內收集起來,同時在上部V型槽上開設濾孔,實現油、渣分離,無渣油質從下部V型槽進入到對應的收集桶內,過濾下來的含渣油質從上部V型槽進入到對應的收集桶內,有效的提升了裝置的工作效率。

權利要求書
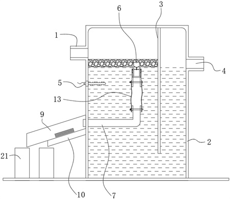
1.一種污水領域新型隔油除渣裝置,包括隔油除渣裝置(2)、裝配在隔油除渣裝置(2)兩側的進水口(1)和出水口(4),其特征在于,所述隔油除渣裝置(2)的內部安裝有隔板(3),所述隔油除渣裝置(2)靠近進水口(1)的一側插接有加熱裝置(5),且隔油除渣裝置(2)側面位于加熱裝置(5)下方的位置插接有排油管(7),所述排油管(7)的頂部連接有軟管(13),所述軟管(13)的頂部卡接有寶塔接頭(12),所述寶塔接頭(12)的頂部連接有連接筒(11),所述連接筒(11)的中部螺紋連接有懸浮體(14),所述懸浮體(14)的內部連接有懸浮排油閥(6),所述懸浮排油閥(6)的側面連接有懸浮環(20),所述懸浮排油閥(6)的內部固定安裝有支持柱(17),所述支持柱(17)的中部套接有調節環(16),所述調節環(16)上連接有調節螺釘(18),所述調節螺釘(18)的外側設置有彈性膜片(19),所述隔油除渣裝置(2)靠近排油管(7)一側的下方固定安裝有上部V型槽(9),所述上部V型槽(9)的下方放置有收集桶(21)。
2.根據權利要求1所述的一種污水領域新型隔油除渣裝置,其特征在于,所述上部V型槽(9)上開設有濾孔(8),且隔油除渣裝置(2)側面位于上部V型槽(9)下方的位置固定安裝有下部V型槽(10),所述下部V型槽(10)的下方也放置有收集桶(21),所述收集桶(21)的數量為對應上部V型槽(9)和下部V型槽(10)的兩個。
3.根據權利要求1所述的一種污水領域新型隔油除渣裝置,其特征在于,所述出水口(4)的水平位置低于進水口(1)的水平位置。
4.根據權利要求2所述的一種污水領域新型隔油除渣裝置,其特征在于,所述下部V型槽(10)位于上部V型槽(9)上開設濾孔(8)位置的下方,所述下部V型槽(10)的長度小于上部V型槽(9)的長度,兩個收集桶(21)并排放置。
5.根據權利要求1所述的一種污水領域新型隔油除渣裝置,其特征在于,所述軟管(13)與寶塔接頭(12)的連接處設置有卡箍。
6.根據權利要求1所述的一種污水領域新型隔油除渣裝置,其特征在于,所述連接筒(11)頂部的內側設置有橡膠密封圈(15),所述橡膠密封圈(15)與懸浮排油閥(6)相抵持。
7.根據權利要求1所述的一種污水領域新型隔油除渣裝置,其特征在于,所述彈性膜片(19)的頂部抵持在懸浮排油閥(6)內側的凸起上。
8.根據權利要求1所述的一種污水領域新型隔油除渣裝置,其特征在于,所述懸浮環(20)的浮力大于其上連接結構的重量,且懸浮環(20)位于油水分離界面上。
發明內容
本發明旨在解決現有技術或相關技術中存在的技術問題之一。
為此,本發明所采用的技術方案為:一種污水領域新型隔油除渣裝置,包括隔油除渣裝置、裝配在隔油除渣裝置兩側的進水口和出水口,所述隔油除渣裝置的內部安裝有隔板,所述隔油除渣裝置靠近進水口的一側插接有加熱裝置,且隔油除渣裝置側面位于加熱裝置下方的位置插接有排油管,所述排油管的頂部連接有軟管,所述軟管的頂部卡接有寶塔接頭,所述寶塔接頭的頂部連接有連接筒,所述連接筒的中部螺紋連接有懸浮體,所述懸浮體的內部連接有懸浮排油閥,所述懸浮排油閥的側面連接有懸浮環,所述懸浮排油閥的內部固定安裝有支持柱,所述支持柱的中部套接有調節環,所述調節環上連接有調節螺釘,所述調節螺釘的外側設置有彈性膜片,所述隔油除渣裝置靠近排油管一側的下方固定安裝有上部V型槽,所述上部V型槽的下方放置有收集桶。
優選的,所述上部V型槽上開設有濾孔,且隔油除渣裝置側面位于上部V型槽下方的位置固定安裝有下部V型槽,所述下部V型槽的下方也放置有收集桶,所述收集桶的數量為對應上部V型槽和下部V型槽的兩個。
優選的,所述出水口的水平位置低于進水口的水平位置。
優選的,所述下部V型槽位于上部V型槽上開設濾孔位置的下方,所述下部V型槽的長度小于上部V型槽的長度,兩個收集桶并排放置。
優選的,所述軟管與寶塔接頭的連接處設置有卡箍。
優選的,所述連接筒頂部的內側設置有橡膠密封圈,所述橡膠密封圈與懸浮排油閥相抵持。
優選的,所述彈性膜片的頂部抵持在懸浮排油閥內側的凸起上。
優選的,所述懸浮環的浮力大于其上連接結構的重量,且懸浮環位于油水分離界面上。
通過采用上述技術方案,本發明所取得的有益效果為:1.本發明中,通過在隔油除渣裝置的中部位置插接一個加熱裝置,從而利用加熱裝置對油污水進行加熱,使其保持一個恒定的溫度,避免油質凝結成塊,因此漂浮在污水之上的油質會通過懸浮排油閥,軟管和排油管的導向進入到收集桶內收集起來,同時在上部V型槽上開設濾孔,并其下方位置設置下部V型槽,使得上部V型槽和下部V型槽分別對應一個收集桶,實現油、渣分離,無渣油質從下部V型槽進入到對應的收集桶內,過濾下來的含渣油質從上部V型槽進入到對應的收集桶內,一步到位,無需多重工藝進行分離,有效的提升了裝置的工作效率。
2.本發明中,為了保證污水的順利排出,不會和油質混合,在隔油除渣裝置的內部設置一個豎向的隔板,使得污水會從底部進入到隔板的另一側,從出水口排出,而出水口的位置低于進水口的位置,因此污水會持續向外排放,避免污水堆積過多導致從進水口逆流,保證了裝置的可靠。
(發明人:賴承輝;朱流標;吳煥波;陳永超)






