公布日:2024.12.31
申請日:2024.12.03
分類號:B01D33/11(2006.01)I;B01D33/46(2006.01)I;B01D33/54(2006.01)I;B01D33/80(2006.01)I
摘要
本發明公開了一種電鍍生產用廢水處理設備,涉及電鍍廢水處理技術領域,包括工作筒和固液分離組件,所述工作筒的頂部一側穿設有進水管,所述固液分離組件設置于工作筒的底部,所述移動套的外壁通過支桿連接有錐形管套。該電鍍生產用廢水處理設備,毛刷條會貼于分離轉筒內壁升降對其微孔加以清理,同時毛刷套還會貼于分離轉筒外壁進行轉動,以增強微孔防堵塞效果,圓盤在升降時,廢水被下錐體、錐形管套升降而推擠至圓盤邊緣處,以便廢水從間隙以及過水孔中加以流通,方便廢水更好的與分離轉筒的內壁接觸,由此使得廢水快速接受離心力作用使得液體穿過微孔而與固體結晶分離。

權利要求書
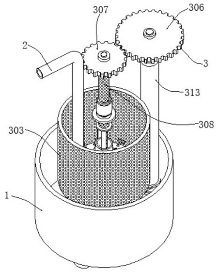
1.一種電鍍生產用廢水處理設備,包括工作筒(1)和固液分離組件(3),其特征在于:所述工作筒(1)的頂部一側穿設有進水管(2),所述固液分離組件(3)設置于工作筒(1)的底部,所述固液分離組件(3)包括驅動電機(301)、轉軸(302)、分離轉筒(303)、傳動軸(304)、傳動皮帶(305)、轉動齒輪(306)、受力齒輪(307)、往復絲桿(308)、移動套(309)、錐形管套(310)、圓盤(311)和毛刷條(312),所述驅動電機(301)的頂部連接有轉軸(302),且轉軸(302)的頂部固定有分離轉筒(303),所述分離轉筒(303)的外側平行分布有傳動軸(304),且傳動軸(304)的底部與轉軸(302)的表面均嚙合連接有傳動皮帶(305),所述傳動軸(304)的頂部固定有轉動齒輪(306),且轉動齒輪(306)的一側嚙合連接有受力齒輪(307),所述受力齒輪(307)的底部連接有往復絲桿(308),且往復絲桿(308)的外壁套設有移動套(309),所述移動套(309)的外壁通過支桿連接有錐形管套(310),且錐形管套(310)的底部固定有圓盤(311),所述圓盤(311)的外側面呈環形狀分布有毛刷條(312)。
2.根據權利要求1所述的一種電鍍生產用廢水處理設備,其特征在于:所述固液分離組件(3)還包括毛刷套(313),所述傳動軸(304)的外壁套設有毛刷套(313)。
3.根據權利要求2所述的一種電鍍生產用廢水處理設備,其特征在于:所述固液分離組件(3)還包括下錐體(314)和過水孔(315),所述圓盤(311)的底部固定有下錐體(314),且圓盤(311)的表面均勻開設有過水孔(315)。
4.根據權利要求3所述的一種電鍍生產用廢水處理設備,其特征在于:所述固液分離組件(3)還包括邊緣腔(316)、彈簧桿(317)和第一活動滾珠(318),所述圓盤(311)內部呈環形狀開設有邊緣腔(316),且邊緣腔(316)的內部穿設有彈簧桿(317),所述彈簧桿(317)的外端內嵌有第一活動滾珠(318)。
5.根據權利要求4所述的一種電鍍生產用廢水處理設備,其特征在于:所述固液分離組件(3)還包括中心腔(319)、凸邊盤(320)和凸邊插接軸(321),所述圓盤(311)內壁中部開設有中心腔(319),且中心腔(319)的內部轉動連接有凸邊盤(320),所述凸邊盤(320)的表面連接有凸邊插接軸(321)。
6.根據權利要求5所述的一種電鍍生產用廢水處理設備,其特征在于:所述彈簧桿(317)的內端位于中心腔(319)內部,且凸邊盤(320)的凸邊邊緣處貼于中心腔(319)的內壁表面。
7.根據權利要求6所述的一種電鍍生產用廢水處理設備,其特征在于:所述固液分離組件(3)還包括第二活動滾珠(322),所述凸邊插接軸(321)的凸出部位的兩側等距嵌入有第二活動滾珠(322)。
8.根據權利要求7所述的一種電鍍生產用廢水處理設備,其特征在于:所述固液分離組件(3)還包括插接滑槽(323),所述往復絲桿(308)的內部開設有插接滑槽(323)。
9.根據權利要求8所述的一種電鍍生產用廢水處理設備,其特征在于:所述插接滑槽(323)的內口結構與凸邊插接軸(321)的外口結構相適配,且凸邊插接軸(321)通過第二活動滾珠(322)、插接滑槽(323)與往復絲桿(308)滑動連接,所述凸邊插接軸(321)貫穿錐形管套(310)的內部,且凸邊盤(320)通過凸邊插接軸(321)與往復絲桿(308)構成傳動結構。
10.根據權利要求3所述的一種電鍍生產用廢水處理設備,其特征在于:所述下錐體(314)的底端內部嵌入有彈簧伸縮桿(4),且彈簧伸縮桿(4)的活動桿端部外壁固定有坡面板(5),所述彈簧伸縮桿(4)的活動桿端部設置有連接軸承(6),且彈簧伸縮桿(4)的活動桿外壁套設有波紋套(7)。
發明內容
針對現有技術的不足,本發明提供了一種電鍍生產用廢水處理設備,解決了上述背景技術中提出的問題。
為實現以上目的,本發明通過以下技術方案予以實現:一種電鍍生產用廢水處理設備,包括工作筒和固液分離組件,所述工作筒的頂部一側穿設有進水管,所述固液分離組件設置于工作筒的底部,所述固液分離組件包括驅動電機、轉軸、分離轉筒、傳動軸、傳動皮帶、轉動齒輪、受力齒輪、往復絲桿、移動套、錐形管套、圓盤和毛刷條,所述驅動電機的頂部連接有轉軸,且轉軸的頂部固定有分離轉筒,所述分離轉筒的外側平行分布有傳動軸,且傳動軸的底部與轉軸的表面均嚙合連接有傳動皮帶,所述傳動軸的頂部固定有轉動齒輪,且轉動齒輪的一側嚙合連接有受力齒輪,所述受力齒輪的底部連接有往復絲桿,且往復絲桿的外壁套設有移動套,所述移動套的外壁通過支桿連接有錐形管套,且錐形管套的底部固定有圓盤,所述圓盤的外側面呈環形狀分布有毛刷條。
進一步的,所述固液分離組件還包括毛刷套,所述傳動軸的外壁套設有毛刷套。
進一步的,所述固液分離組件還包括下錐體和過水孔,所述圓盤的底部固定有下錐體,且圓盤的表面均勻開設有過水孔。
進一步的,所述固液分離組件還包括邊緣腔、彈簧桿和第一活動滾珠,所述圓盤內部呈環形狀開設有邊緣腔,且邊緣腔的內部穿設有彈簧桿,所述彈簧桿的外端內嵌有第一活動滾珠。
進一步的,所述固液分離組件還包括中心腔、凸邊盤和凸邊插接軸,所述圓盤內壁中部開設有中心腔,且中心腔的內部轉動連接有凸邊盤,所述凸邊盤的表面連接有凸邊插接軸。
進一步的,所述彈簧桿的內端位于中心腔內部,且凸邊盤的凸邊邊緣處貼于中心腔的內壁表面。
進一步的,所述固液分離組件還包括第二活動滾珠,所述凸邊插接軸的凸出部位的兩側等距嵌入有第二活動滾珠。
進一步的,所述固液分離組件還包括插接滑槽,所述往復絲桿的內部開設有插接滑槽。
進一步的,所述插接滑槽的內口結構與凸邊插接軸的外口結構相適配,且凸邊插接軸通過第二活動滾珠、插接滑槽與往復絲桿滑動連接,所述凸邊插接軸貫穿錐形管套的內部,且凸邊盤通過凸邊插接軸與往復絲桿構成傳動結構。
進一步的,所述下錐體的底端內部嵌入有彈簧伸縮桿,且彈簧伸縮桿的活動桿端部外壁固定有坡面板,所述彈簧伸縮桿的活動桿端部設置有連接軸承,且彈簧伸縮桿的活動桿外壁套設有波紋套。
本發明提供了一種電鍍生產用廢水處理設備,具備以下有益效果:1.該電鍍生產用廢水處理設備,移動套沿往復絲桿表面升降,使得錐形管套、圓盤于分離轉筒內部升降,由此毛刷條會貼于分離轉筒內壁升降對其微孔加以清理,同時傳動軸轉動其表面的毛刷套還會貼于分離轉筒外壁進行轉動,由此毛刷套還會從外部方向對分離轉筒表面的微孔加以清理,以增強微孔防堵塞效果,并且圓盤在升降時,廢水被下錐體、錐形管套升降而推擠至圓盤邊緣處,以便廢水從間隙以及過水孔中加以流通,以防止廢水因圓盤抬升而被帶出分離轉筒,同時方便廢水更好的與分離轉筒的內壁接觸,由此使得廢水快速接受離心力作用使得液體穿過微孔而與固體結晶分離。
2.該電鍍生產用廢水處理設備,往復絲桿轉動時通過其內部的插接滑槽會帶動凸邊插接軸轉動,使得凸邊盤于中心腔內部轉動,凸邊盤轉動過程中起凸邊部位依次與不同位置的彈簧桿內端接觸使其被推動,使得彈簧桿在自身彈性作用下而不斷發生活塞伸縮運動,使得第一活動滾珠得以不斷穿過毛刷條對分離轉筒內壁加以撞擊,由此使得分離轉筒內表面上所留存的晶體收到震蕩作用力而發生輸送,以更方便被毛刷條所清理。
3.該電鍍生產用廢水處理設備,凸邊插接軸在升降過程中沿插接滑槽內部加以滑動升降,由此實現凸邊盤轉動的同時配合圓盤同步升降,而凸邊插接軸的凸出部位的兩側等距嵌入有第二活動滾珠,由此有利于將凸邊插接軸與插接滑槽之間的滑動摩擦變為滾動摩擦,有利于降低摩擦力度,以防止凸邊插接軸的升降發生卡頓。
4.該電鍍生產用廢水處理設備,坡面板表面呈螺旋上升的結構其最低處貼于分離轉筒的內壁底部,在分離轉筒轉動的過程中坡面板對其底部沉積的廢水加以向上推動,由此防止廢水中的雜物發生沉積,以便廢水更好的進行固液分離,且彈簧伸縮桿的活動桿外壁套設有波紋套,在活動桿部位因圓盤升降而伸縮時波紋套隨之伸縮,以保護活動桿于外管表面的穿設部位不外露,以防止雜質卡入縫隙中影響活動桿的正常伸縮。
(發明人:錢振林)






