公布日:2023.07.28
申請日:2023.05.08
分類號:C02F9/00(2023.01)I;C02F1/461(2023.01)I;C02F1/00(2023.01)I;C02F3/00(2023.01)I;B01D36/04(2006.01)I;B01D29/35(2006.01)I;B01D29/66(2006.01)I;B08B9/
087(2006.01)I;C02F7/00(2006.01)I
摘要
本發明公開了一種采用氣體曝氣的反沖式廢液處理裝置,涉及廢水處理技術領域,廢液處理裝置包括沉淀池、電解池、生物池、清洗機構、曝氣機構、反沖式過濾柱、回收機構,清洗機構安裝在沉淀池一側,沉淀池連接在電解池一側,生物池連接在電解池另一側,回收機構安裝在電解池底部,曝氣機構安裝在生物池底部,反沖式過濾柱安裝在生物池中。本發明實現了在處理過程中實現自動定期處理污泥,且能夠對污泥進行循環,在廢液進入時反沖式帶動底部細菌上游,使得細菌分布均勻,在重金屬以及酸性廢液處理過程中能夠使得試劑均勻擴散,在反應時反應充分,在處理表面雜質過程中實現節能處理表面雜質。

權利要求書
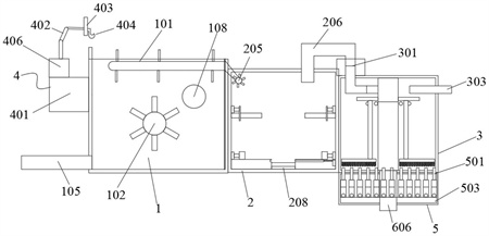
1.一種采用氣體曝氣的反沖式廢液處理裝置,其特征在于:廢液處理裝置包括沉淀池(1)、電解池(2)、生物池(3)、清洗機構(4)、曝氣機構(5)、反沖式過濾柱(6)、回收機構(7),所述清洗機構(4)安裝在沉淀池(1)一側,所述電解池(2)一側連接有沉淀池(1),所述生物池(3)連接在電解池(2)另一側,所述回收機構(7)安裝在電解池(2)底部,所述曝氣機構(5)安裝在生物池(3)底部,所述反沖式過濾柱(6)安裝在生物池(3)中。
2.根據權利要求1所述的一種采用氣體曝氣的反沖式廢液處理裝置,其特征在于:所述沉淀池(1)包括過濾機構(101)、攪拌機(102)、掛桿(103)、第一電機(104)、排污口(105)、進水口(108),所述攪拌機(102)安裝在沉淀池(1)內壁,所述第一電機(104)安裝在沉淀池(1)外壁,所述攪拌機(102)與第一電機(104)輸出端連接,所述排污口(105)安裝在沉淀池(1)一側,所述過濾機構(101)安裝在沉淀池(1)內壁上方,所述過濾機構(101)設置有履帶(106),所述履帶(106)安裝在沉淀池(1)內壁上方,所述履帶(106)設置有六個過濾板(107),所述過濾板(107)設置有掛桿(103),所述履帶(106)設置有掛欄,所述沉淀池(1)內壁設置有進水口(108),所述履帶一端連接在電解池(2),所述第一電機(104)連接中央處理器。
3.根據權利要求2所述的一種采用氣體曝氣的反沖式廢液處理裝置,其特征在于:所述電解池(2)包括陽極電解棒(201)、陰極電解棒(202)、兩個第一液壓缸(203)、兩個金屬刮板(204)、轉動輪(205)、吸水管(206)、擋板槽(207)、金屬排出口(208);所述電解池(2)與沉淀池(1)連接,所述陽極電解棒(201)安裝在電解池(2)內壁一側,所述陰極電解棒(202)安裝在電解池(2)內壁的另一側,兩個所述第一液壓缸(203)分別安裝在電解池(2)內壁上,兩個所述第一液壓缸(203)處于相對位置,兩個所述金屬刮板(204)分別安裝在陽極電解棒(201)以及陰極電解棒(202)上,兩個所述金屬刮板(204)分別與兩個第一液壓缸(203)輸出軸連接,所述擋板槽(207)在電解池(2)底部;所述轉動輪(205)與履帶(105)轉動連接,所述轉動輪(205)安裝在電解池(2)內壁上方,所述吸水管(206)安裝在電解池(2)上方,所述吸水管(206)連接生物池(3),所述金屬排出口(208)正對電解池(2)內部的回收機構(7),所述電解池(2)外設置有小型電機,所述轉動輪(205)連接小型電機輸出軸,兩個所述第一液壓缸(203)以及小型電機連接中央處理器。
4.根據權利要求3所述的一種采用氣體曝氣的反沖式廢液處理裝置,其特征在于:所述回收機構(7)包括第二液壓缸(701)、兩個第三液壓缸(702)、兩個刮板(703)、第四液壓缸(704)、移動擋板(705)、金屬槽(706)、推動板(707),所述金屬槽(706)設置在電解池(2)內壁底部中間,所述第二液壓缸(701)位于金屬槽(706)中間,所述第二液壓缸(701)安裝在電解池(2)內壁底部中間,所述第二液壓缸(701)輸出軸連接推動板(707),所述金屬槽(706)正對金屬排出口(208),兩個所述第三液壓缸(702)安裝在電解池(2)相對兩側壁面上,兩個所述刮板(703)分別連接兩個第三液壓缸(702)輸出軸,所述第四液壓缸(704)安裝在第三液壓缸(702)下端的池壁上,所述第四液壓缸(704)輸出軸連接移動擋板(705),所述移動擋板(705)相對位置有擋板槽(207),所述第二液壓缸(701)、兩個第三液壓缸(702)、第四液壓缸(704)均連接中央處理器。
5.根據權利要求4所述的一種采用氣體曝氣的反沖式廢液處理裝置,其特征在于:所述生物池(3)包括抽水泵(301)、吸水管(302)、出水管(303)、連接軸(304)、回流口(305),所述生物池(3)與電解池(2)連接,所述抽水泵(301)位于生物池(3)與電解池(2)連接處,所述抽水泵(301)一端連接吸水管(206),所述抽水泵(301)另一端連接進水口(302),所述出水管(303)位于生物池(3)一側,所述電解池(2)底部中間設置有反沖式過濾柱(6),所述回流口(305)連接曝氣機構(5),所述抽水泵(301)連接中央處理器。
6.根據權利要求5所述的一種采用氣體曝氣的反沖式廢液處理裝置,其特征在于:所述反沖式過濾柱(6)包括過濾柱網(601)、轉動軸(602)、接水管(603)、兩個固定板(604)、兩個清理機構(605)、過濾排污口(606)、第二電機(607),所述過濾柱網(601)安裝在生物池(3)底部,所述轉動軸(602)上端連接生物池(3)頂部中間,所述轉動軸(602)為中空結構,所述轉動軸(602)下端連接過濾柱網(601),所述轉動軸(602)側面設置開口,所述開口連接接水管(603),所述過濾柱網(601)下端連接過濾排污口(606),所述生物池(3)底部中間設置有過濾排污口(606),所述轉動軸(602)兩側分別連接兩個固定板(604),兩個所述固定板(604)下端分別設置有連接軸(304),所述連接軸分別連接兩個清理機構(605),所述第二電機(607)輸出軸連接轉動軸(602),所述第二電機(607)連接中央處理器。
7.根據權利要求6所述的一種采用氣體曝氣的反沖式廢液處理裝置,其特征在于:兩個所述清理機構(605)包括清理板(608)、攝像頭(609)、毛刷(610),所述清理板(608)上方與連接軸(304)連接,所述攝像頭(609)位于清理板(606)底部中間,所述毛刷(610)覆蓋在清理板(608)底部,所述清理板(608)設置有若干小孔,若干所述小孔內設置有第五液壓缸(611)以及第三電機(612),所述第五液壓缸(611)輸出端連接第三電機(612)底部,所述第三電機(612)輸出端設置有鉆頭(613),所述清理板(608)下方設置有曝氣機構(5),所述第三電機(612)、第五液壓缸(611)以及攝像頭(609)均連接中央處理器。
8.根據權利要求7所述的一種采用氣體曝氣的反沖式廢液處理裝置,其特征在于:所述曝氣機構(5)包括曝氣排污管(501)、曝氣管(502)、排污管(503)、抽氣泵(504)、充氣泵(505)、回流管(506)、管道交互機構(507),所述曝氣機構(5)安裝在生物池(3)底部,所述生物池(3)底部設置若干通孔,所述通孔安裝有曝氣排污管(501),所述曝氣排污管(501)連接管道交互機構(507),所述管道交互機構(507)設置有第四電機(508)、第五電機(509)、兩個轉動管(510),兩個所述轉動管(510)設置有連接片,兩個所述連接片分別與第四電機(508)以及第五電機(509)連接,所述第四電機(508)設置有第一箱體,所述第一箱體下方連接曝氣管(502),所述曝氣管(502)另一端連接充氣泵(505),所述第五電機(509)設置有第二箱體,所述第二箱體下方連接排污管(503),所述抽氣泵(504)一端連接排污管(503),所述抽氣泵(504)另一端連接回流管(506),所述回流管(506)一端連接回流口(305),所述抽氣泵(504)、充氣泵(505)、第四電機(508)以及第五電機(509)分別連接中央處理器。
9.根據權利要求1所述的一種采用氣體曝氣的反沖式廢液處理裝置,其特征在于:所述清洗機構(4)包括清污池(401)、兩個清理臂(402)、兩個固定板(403)、掛鉤(404)、兩個第一視覺傳感器(405)、兩個清理臺(406),所述清污池(401)連接在沉淀池(1)相對電解池(2)一側,兩個所述清理臺(406)下方連接清污池(401),兩個所述清理臺(406)上方分別連接清理臂(402),兩個所述清理臂(402)一端分別連接固定板(403),所述固定板(403)上連接掛鉤(404),兩個所述第一視覺傳感器(405)分別在兩個固定板(403)上,所述清理臂(402)以及第一視覺傳感器(405)分別連接中央處理器。
發明內容
本發明的目的在于提供一種采用氣體曝氣的反沖式廢液處理裝置,以解決上述背景技術中提出的問題。
為了解決上述技術問題,本發明提供如下技術方案:一種采用氣體曝氣的反沖式廢液處理裝置,廢液處理裝置包括沉淀池、電解池、生物池、清洗機構、曝氣機構、反沖式過濾柱、回收機構,清洗機構安裝在沉淀池一側,沉淀池連接在電解池一側,生物池連接在電解池另一側,回收機構安裝在電解池底部,曝氣機構安裝在生物池底部,反沖式過濾柱安裝在生物池中。在廢液處理過程中,廢液經過沉淀池沉淀過濾后溢出進入電解池,同時清洗機構對沉淀池表面漂浮物進行回收,電解池析出廢液中重金屬,重金屬由回收機構進行回收,廢液在電解池電解過后無重金屬以及酸堿合格后生物池,廢液在生物池中進行生物降解,生物池為封閉環境隔絕外來微生物以及雜質,生物池底部曝氣機構對池內進行曝氣,曝氣機構在對生物池進行含氧控制同時對底部污泥處理,曝氣機構在對污泥處理過程中將將過量污泥排出,另一部分進行回流。
沉淀池包括過濾機構、進水口、攪拌機、沉淀池、第一電機、排污口,攪拌機安裝在沉淀池內壁,第一電機安裝在沉淀池外壁,攪拌機與第一電機輸出端連接,排污口安裝在沉淀池一側,所述過濾機構安裝在沉淀池內壁上方,過濾機構設置有履帶,履帶安裝在沉淀池內壁上方,履帶設置有六個過濾板,過濾板設置有掛桿,履帶設置沉淀池內壁設置有進水口,履帶一端連接在電解池,第一電機連接中央處理器。在進行廢液處理時,廢液從進水口進入,此時中央處理器控制第一電機轉動,第一電機帶動攪拌機開始旋轉對廢液進攪拌混勻,過濾機構開始工作,履帶帶動過濾板移動,過濾板上有吸附網,吸附網對沉淀池上方的漂浮物吸附。
清洗機構包括清污池、清理臂、固定板、掛鉤、第一視覺傳感器、清理臺,清污池連接在沉淀池相對電解池一側,兩個清理臺下方均連接有清污池,兩個清理臺上方連接清理臂,清理臂一端連接固定板,固定板上連接掛鉤,固定板上設置有第一視覺傳感器,清理臂以及第一視覺傳感器分別連接中央處理器。過濾機構對漂浮物進行過濾時,第一視覺傳感器將過濾板上吸附情況以圖像信號發送給中央處理,當過濾板上吸附物過多時,中央處理器控制兩個清理臂移動,清理臂為機械臂,在清理臂移動帶動固定板,固定板帶動掛鉤,掛鉤對過濾板進行吊掛,吊掛后放入清洗池進行清洗,清洗池設置有清洗管會對過濾板進行沖洗,在沉淀池側面放置有化學試劑箱,中央處理器可以通過第一視覺傳感器控制兩個清理臂,清理臂帶動固定板,固定板帶動掛鉤,掛鉤鉤取化學試劑箱,將化學試劑灑在履帶上,同時第一視覺傳感器安裝在固定板上,第一視覺傳感器處于高位,中央處理器通過第一視覺傳感器實現觀測廢液處理裝置狀態,確保安全性。
電解池包括陽極電解棒、陰極電擊棒、兩個第一液壓缸、兩個金屬刮板、轉動軸、吸水管、擋板槽、金屬排出口,電解池與沉淀池連接,陽極電解棒安裝在電解池一側,陰極電解棒安裝在電解池與陽極電解棒的另一側,兩個第一液壓缸分別安裝在陽極電解棒以及陰極電解棒的上方電解池上,兩個金屬刮板分別安裝在陽極電解棒以及陰極電解棒上,兩個金屬管板分別與兩個第一液壓缸輸出軸連接,轉動輪與履帶連接,轉動輪安裝在電解池內壁上方靠近沉淀池,金屬排出口位于電解池正面中間,吸水管安裝在電解池池子上方,吸水管連接生物池,金屬排出口正對電解池內部的回收機構,兩個第一液壓缸連接中央處理器。在工作時,陽極電解棒以及陰極電解棒通電,由中央處理控制電流開關,當電擊棒上吸附過多重金屬時,中央處理器控制兩個第一液壓缸輸出端伸縮移動,第一液壓缸輸出端帶動金屬刮板在電擊棒上移動,陰極電解棒以及陽極電解棒穿過了金屬刮板,廢液剛開始處理時,此時廢液在沉淀池中未流動到電解池,此時中央處理器控制小型電機輸出軸轉動,小型電機輸出軸帶動轉動輪。
回收機構包括第二液壓缸、兩個第三液壓缸、兩個刮板、第四液壓缸、移動擋板、金屬槽、推動板,金屬槽設置在電解池內壁底部中間,第二液壓缸位于金屬槽中間,第二液壓缸安裝在電解池內壁底部中間,第二液壓缸輸出軸連接推動板,金屬槽正對金屬排出口,兩個第三液壓缸安裝在電解池相對兩側池壁上,兩個刮板分別連接兩個第三液壓缸輸出軸,第四液壓缸安裝在位于第三液壓缸下端的池壁上,第四液壓缸輸出軸連接移動擋板,移動擋板相對設置有擋板槽,金屬槽中設置有第二視覺傳感器,第二視覺傳感器安裝在移動擋板上,第二液壓缸、兩個第三液壓缸、第四液壓缸均連接中央處理器。當對重金屬進行收集時,中央處理器控制兩個第三液壓輸出端缸進行收縮移動,第三液壓缸輸出端帶動兩個刮板,兩個刮板將金屬沉淀物推向金屬槽,當金屬槽重金屬蓄滿時,中央處理器控制第四液壓缸輸出軸伸出,第四液壓缸輸出軸帶動移動擋板移動,當移動擋板嵌入擋板槽時,實現將金屬槽隔絕,此時打開金屬排出口,工作人員將固液混合物收集進行處理,此時中央處理再控制第二液壓缸輸出軸伸出,第二液壓缸輸出軸帶動推動板,推動板將金屬槽剩余的重金屬推出金屬排出口。
生物池包括抽水泵、吸水管、出水管、生物池、回流口,生物池與電解池連接,抽水泵位于生物池與電解池連接處,抽水泵一端連接吸水管,抽水泵相對吸水管的一端連接進水口,出水管位于生物池一側,生物池為封閉結構,電解池底部中間設置有反沖式過濾柱,回流口連接曝氣機構,抽水泵連接中央處理器。廢液處理過程中,抽水泵連接吸水管將電解池中水抽出,抽水泵通過吸水管送入生物池中,當經過生物反應后的水從出水管送出,部分底部污泥從回流口回流出,進行底部污泥的回流。
反沖式過濾柱包括過濾柱網、轉動軸、接水管、兩個固定板、兩個清理機構、過濾排污口、第二電機,濾柱網安裝在生物池底部,轉動軸上端連接生物池頂部中間,轉動軸下端連接過濾柱網,轉動軸側面連接接水管,過濾柱網下端連接過濾排污口,過濾排污口穿過生物池底部,轉動軸兩側分別連接兩個固定板,兩個固定板下端分別設置有連接軸,連接軸分別連接兩個清理機構,第二電機輸出軸連接轉動軸,在進行污水處理工作時,第二電機連接中央處理器。中央處理器控制第二電機輸出軸轉動,第二電機輸出軸帶動轉動軸轉動,將接水管移動到正對吸水管,廢液經過吸水管進入接水管,接水管導入廢水進入反沖式過濾柱,廢液在重力作用下開始向下,在受到底部沖擊反向移動后通過過濾柱網,過濾柱網對廢液再一次進行過濾,當過濾柱網中雜質過多時,轉動軸轉動對準出水管,出水管沖水對過濾柱網清洗,打開過濾排污口對雜質排出,在清理工作時,抽水泵停止抽水后,轉動軸轉動帶動兩個固定板,兩個固定板帶動兩個清理機構,兩個清理機構配合曝氣機構進行清理。
兩個清理機構包括清理板、攝像頭、毛刷,清理板上方與連接軸連接,攝像頭位于清理板底部中間,毛刷覆蓋在清理板底部,清理板設置有若干小孔,若干小孔內設置有第五液壓缸以及第三電機,第五液壓缸連接清理板內部,液壓缸輸出端連接第三電機底部,第三電機輸出端設置有鉆頭,清理板下方設置有曝氣機構,第三電機、第五液壓缸以及攝像頭均連接中央處理器。兩個清理機構在移動過程中,攝像頭傳出畫面信號給中央處理器,在曝氣裝置曝氣時,當發現未有氣體流出的曝氣排污管時候,用清理板小孔對準曝氣排污管,中央處理器控制第五液壓缸輸出軸伸出,第五液壓缸輸出軸伸出帶動第三電機,中央處理器控制第三電機輸出軸開始轉動,第三電機輸出軸轉動帶動鉆頭旋轉,對曝氣排污管進行通污,保證管道的通暢,攝像頭能夠傳輸底部污泥換面,當污泥快要高過曝氣排污管時,開始對底部進行清理。
曝氣機構包括曝氣排污管、曝氣管、排污管、抽氣泵、充氣泵、回流管、管道交互機構,曝氣機構安裝在生物池底部,生物池底部設置若干通孔,通孔安裝有曝氣排污管,曝氣排污管連接管道交互機構,管道交互機構設置有第四電機、第五電機、兩個轉動管,兩個轉動管設置有連接片,兩個轉動管由連接片分別與第四電機以及第五電機連接,第四電機設置有第一箱體,第一箱體下方連接曝氣管,曝氣管另一端連接充氣泵,第五電機設置有第二箱體,第二箱體下方連接排污管,排污管另一端連接抽氣泵,抽氣泵另一端連接回流管,回流管另一端連接回流口,抽氣泵、充氣泵、第四電機以及第五電機分別連接中央處理器。在生物池進行反應時,充氣泵對生物池內進行輸送氧氣,充氣泵通過曝氣管輸送空氣到管道交互機構中,此時中央處理器控制第四電機以及第五電機輸出軸轉動,兩個轉動管均設置有物體識別感應器,物體識別感應器能識別指定物體,此時設定物體識別感應器識別曝氣排污管口,第四電機輸出軸帶動連接片,連接片帶動其中一個轉動管轉動,當由第四電機帶動的轉動管中的物體識別感應器識別到曝氣排污管口時,第四電機以及第五電機停止轉動,這時充氣泵輸送氧氣到生物池內,當對生物池內進行清理時,第四電機以及第五電機輸出軸帶動連接片,連接片帶動轉動管轉動,當由第五電機帶動的轉動管中的物體識別感應器識別到曝氣排污管口時,此時抽氣泵通過排污管對生物池內部開始抽取污泥,部分排污管道不直接排出污泥接生物池上部的回流管,回流管接通回流口對底部污泥進行回流。
與現有技術相比,本發明所達到的有益效果是:
在工作過程中由于會產生大量污泥沉淀,需要保持污泥穩定在一定范圍,所以需要人工清理,且污泥導致營養分布不均,導致生物反應不均,在處理酸性以及重金屬廢液時,使用試劑不均導致浪費或者處理不全,且在廢液表面容易漂浮雜質,本發明在處理過程中實現自動定期處理污泥,且能夠對污泥進行循環,在廢液進入時反沖式帶動底部細菌上游,使得細菌分布均勻,在重金屬以及酸性廢液處理過程中能夠使得試劑均勻擴散,在反應時反應充分,在處理表面雜質過程中實現節能處理表面雜質,且能夠回收重金屬進行環保再利用。
(發明人:喬德友;朱海濱)






