公布日:2024.02.20
申請日:2023.12.27
分類號:C02F1/48(2023.01)I
摘要
本發明公開了一種用于污水處理分離式磁選機,涉及污水處理技術領域,包括:包括:底板,所述底板上表面靠近右側外表面位置固定連接有底架,所述底架上表面對稱固定連接有支撐座。該一種用于污水處理分離式磁選機,在對污水進行磁選處理時,將污水通過注水管排入到儲液箱內,通過攪拌葉的轉動可以使得金屬顆粒均勻的分布在水體內,隨后將多個第三電磁閥啟動,儲液箱內的污水會經過多個分流管分流至分流盒內完成進水,可以使得污水的流速變慢,水流由直接加入的柱狀改變為平鋪狀態,使得污水的污水與磁選輥的表面均勻接觸,磁選輥可以與污水內的金屬可以均勻接觸完成磁選,提升了磁選輥的磁選效果。

權利要求書
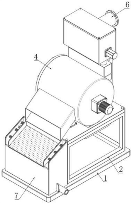
1.一種用于污水處理分離式磁選機,其特征在于,包括:底板(1),所述底板(1)上表面靠近右側外表面位置固定連接有底架(2),所述底架(2)上表面對稱固定連接有支撐座(3);磁選組件(4),所述磁選組件(4)固定連接在兩個支撐座(3)上表面之間,所述磁選組件(4)包括磁選桶(401),所述磁選桶(401)外表面靠近左側位置固定連接有出料管(407);排水組件(5),所述排水組件(5)固定連接在磁選桶(401)靠近底板(1)一側外表面,所述排水組件(5)包括出水斗(501);分流組件(6),所述分流組件(6)固定連接在底板(1)上表面靠近磁選桶(401)右側位置,所述分流組件(6)包括支架(601),所述支架(601)上表面固定連接有儲液箱(602);排料組件(7),所述排料組件(7)固定連接在底板(1)上表面靠近底架(2)左側位置,所述排料組件(7)包括集水箱(701),所述集水箱(701)兩側內表面靠近上表面位置均固定連接有多個彈簧(702),兩組所述彈簧(702)端面之間固定連接有排料導板(703);所述磁選桶(401)前表面固定連接有第一電機(402),所述第一電機(402)輸出端與磁選桶(401)滑動貫穿并延伸至內側,所述第一電機(402)輸出端固定連接有第一轉軸(403),所述第一轉軸(403)后端面與磁選桶(401)內側前表面轉動連接,所述第一轉軸(403)外表面固定連接有磁選輥(404);所述磁選桶(401)靠近儲液箱(602)一側外表面固定連接有進水管(405),所述進水管(405)上表面固定連接有分流盒(406),所述出水斗(501)、出料管(407)和進水管(405)均與磁選桶(401)呈連通設置;所述出料管(407)下表面對稱開設有滑槽(408),兩個所述滑槽(408)內表面均滑動連接有螺紋桿(409),兩個所述螺紋桿(409)上端面之間固定連接有刮板(411),所述刮板(411)位于出料管(407)內底部位置,所述刮板(411)外表面與磁選輥(404)外表面貼合,兩個所述螺紋桿(409)外表面均螺紋連接有螺母(410),所述螺母(410)位于出料管(407)下側位置;所述出水斗(501)內表面靠近上表面位置固定連接有濾網(502),所述濾網(502)與磁選桶(401)內壁呈齊平位置,所述出水斗(501)下表面固定連接有雙通管(504);所述雙通管(504)其中一個端面固定連接有出水管(505),所述雙通管(504)另一端面固定連接有循環管(508),所述循環管(508)與儲液箱(602)呈連通設置,所述雙通管(504)內部靠近出水管(505)一側設置有第一電磁閥(506),所述雙通管(504)內部靠近循環管(508)一側設置有第二電磁閥(507);所述儲液箱(602)右側外表面靠近上表面位置固定連接有注水管(603),所述儲液箱(602)下表面等距固定連接有多個分流管(604),多個所述分流管(604)內部均設置有第三電磁閥(605),所述分流管(604)與分流盒(406)呈連通設置。
2.根據權利要求1所述的用于污水處理分離式磁選機,其特征在于:所述儲液箱(602)前表面固定連接有第二電機(606),所述第二電機(606)輸出端與儲液箱(602)滑動貫穿并延伸至內側,所述第二電機(606)輸出端固定連接有第二轉軸(607),所述第二轉軸(607)后端面與儲液箱(602)內側前表面轉動連接,所述第二轉軸(607)外表面均勻固定連接有多個攪拌葉(608)。
3.根據權利要求1所述的用于污水處理分離式磁選機,其特征在于:所述排料導板(703)與出料管(407)位置相配合,所述排料導板(703)呈傾斜設置,所述排料導板(703)內底部均勻開設有多個瀝水孔(705)。
4.根據權利要求1所述的用于污水處理分離式磁選機,其特征在于:所述排料導板(703)外表面固定連接有振動電機(704),所述集水箱(701)外表面靠近下表面位置固定連接有排水閥(706),所述排水閥(706)與集水箱(701)呈連通設置。
發明內容
本發明的目的在于提供一種用于污水處理分離式磁選機,以解決上述背景技術提出的進水管道直接將污水排入到磁選機內會導致有大量的金屬顆粒在水流的沖刷下脫離磁選輥的磁場范圍,影響了磁選機的磁選效果的問題。
為實現上述目的,本發明提供如下技術方案:一種用于污水處理分離式磁選機,包括:底板,所述底板上表面靠近右側外表面位置固定連接有底架,所述底架上表面對稱固定連接有支撐座;磁選組件,所述磁選組件固定連接在兩個支撐座上表面之間,所述磁選組件包括磁選桶,所述磁選桶外表面靠近左側位置固定連接有出料管;排水組件,所述排水組件固定連接在磁選桶靠近底板一側外表面,所述排水組件包括出水斗;分流組件,所述分流組件固定連接在底板上表面靠近磁選桶右側位置,所述分流組件包括支架,所述支架上表面固定連接有儲液箱;排料組件,所述排料組件固定連接在底板上表面靠近底架左側位置,所述排料組件包括集水箱,所述集水箱兩側內表面靠近上表面位置均固定連接有多個彈簧,兩組所述彈簧端面之間固定連接有排料導板。
優選的,所述磁選桶前表面固定連接有第一電機,所述第一電機輸出端與磁選桶滑動貫穿并延伸至內側,所述第一電機輸出端固定連接有第一轉軸,所述第一轉軸后端面與磁選桶內側前表面轉動連接,所述第一轉軸外表面固定連接有磁選輥。
優選的,所述磁選桶靠近儲液箱一側外表面固定連接有進水管,所述進水管上表面固定連接有分流盒,所述出水斗、出料管和進水管均與磁選桶呈連通設置。
優選的,所述出料管下表面對稱開設有滑槽,兩個所述滑槽內表面均滑動連接有螺紋桿,兩個所述螺紋桿上端面之間固定連接有刮板,所述刮板位于出料管內底部位置,所述刮板外表面與磁選輥外表面貼合,兩個所述螺紋桿外表面均螺紋連接有螺母,所述螺母位于出料管下側位置。
優選的,所述出水斗內表面靠近上表面位置固定連接有濾網,所述濾網與磁選桶內壁呈齊平位置,所述出水斗下表面固定連接有雙通管。
優選的,所述雙通管其中一個端面固定連接有出水管,所述雙通管另一端面固定連接有循環管,所述循環管與儲液箱呈連通設置,所述雙通管內部靠近出水管一側設置有第一電磁閥,所述雙通管內部靠近循環管一側設置有第二電磁閥。
優選的,所述儲液箱右側外表面靠近上表面位置固定連接有注水管,所述儲液箱下表面等距固定連接有多個分流管,多個所述分流管內部均設置有第三電磁閥,所述分流管與分流盒呈連通設置。
優選的,所述儲液箱前表面固定連接有第二電機,所述第二電機輸出端與儲液箱滑動貫穿并延伸至內側,所述第二電機輸出端固定連接有第二轉軸,所述第二轉軸后端面與儲液箱內側前表面轉動連接,所述第二轉軸外表面均勻固定連接有多個攪拌葉。
優選的,所述排料導板與出料管位置相配合,所述排料導板呈傾斜設置,所述排料導板內底部均勻開設有多個瀝水孔。
優選的,所述排料導板外表面固定連接有振動電機,所述集水箱外表面靠近下表面位置固定連接有排水閥,所述排水閥與集水箱呈連通設置。
與現有技術相比,本發明的有益效果是:
1、在對污水進行磁選處理時,將污水通過注水管排入到儲液箱內,通過攪拌葉對污水的攪拌可以將污水內下沉的金屬顆粒翻起,使得金屬顆粒均勻的分布在水體內,避免金屬顆粒下沉堆積導致影響磁選輥的磁選效果,隨后將多個第三電磁閥啟動,儲液箱內的污水會經過多個分流管分流至分流盒內完成進水,通過分流管對污水進行分流進水的設置,可以使得污水的流速變慢,水流由直接加入的柱狀改變為平鋪狀態,使得污水的污水與磁選輥的表面均勻接觸,磁選輥可以與污水內的金屬可以均勻接觸完成磁選,提升了磁選輥的磁選效果。
2、在對污水進行磁選時,通過第一電磁閥和第二電磁閥的配合使用,第二電磁閥處于打開狀態,可以將排出的污水排入到儲液箱內進行循環,從而可以對污水進行重復磁選,避免在單次磁選時對較細的金屬顆粒造成遺漏,提升了裝置的磁選精度,在完成多次的精確磁選后,關閉第二電磁閥并打開第一電磁閥,即可將污水直接排出。
3、在從出料管位置排出金屬顆粒時,啟動振動電機可以帶動排料導板產生振動,金屬顆粒在沿著排料導板滑落時,金屬顆粒內的水分會通過瀝水孔流出到集水箱內,通過在排料時對金屬顆粒瀝水的設置,可以減小金屬顆粒的整體重量,降低了運輸成本。
(發明人:周起勁;許愛瑾)






