公布日:2024.02.27
申請日:2023.12.30
分類號:C02F3/28(2023.01)I
摘要
本發明涉及污水處理技術領域,具體涉及一種反硝化厭氧氨氧化的污水處理系統及方法,包括反硝化池、厭氧池、第一抽水泵、第一排液管、第一電磁閥、排氧罐、波紋氣囊、提升板、升降件、第二抽水泵、第二排液管和第二電磁閥,排氧罐中充入不溶于水且質量大于氧氣的惰性氣體,如氪氣,當污水進入時,將氪氣向上擠壓,此時通過升降件提高提升板的高度,讓波紋氣囊伸展開,存放向上排出的氪氣,而混入污水中的氧氣質量小于氪氣,會先排放至上方,與污水分開,本發明通過在厭氧池前進行排氧處理,從而解決了現有污水處理系統容易額外將空氣輸入到厭氧池中,導致厭氧池的反應效果變差,降低了反應效率的問題。

權利要求書
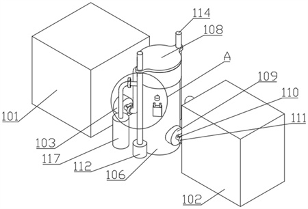
1.一種反硝化厭氧氨氧化的污水處理系統,其特征在于,包括反硝化池、厭氧池、第一抽水泵、第一排液管、第一電磁閥、排氧罐、波紋氣囊、提升板、升降件、第二抽水泵、第二排液管、第二電磁閥、抽氣泵、抽氣管、回流泵、回流管和單向氣閥,所述厭氧池設置在所述反硝化池的一側;所述第一抽水泵和所述反硝化池連通;所述第一排液管和所述第一抽水泵的輸出端連通;所述第一電磁閥設置在所述第一排液管中;所述排氧罐和所述第一排液管連通,在所述排氧罐中充入不溶于水且質量大于氧氣的惰性氣體;所述波紋氣囊和所述排氧罐連通,并位于所述排氧罐的上方;所述提升板固定在所述波紋氣囊的上方;所述升降件設置在所述提升板的一側;所述第二抽水泵和所述排氧罐連通;所述第二排液管和所述第二抽水泵的輸出端連通;所述第二電磁閥設置在所述第二排液管中;所述抽氣泵設置在所述提升板的上方;所述抽氣管和所述抽氣泵的輸出端連通;所述回流泵設置在所述厭氧池上;所述回流管和所述回流泵的輸出端連通,并和所述厭氧池連通;所述單向氣閥設置在所述回流管中。
2.如權利要求1所述的一種反硝化厭氧氨氧化的污水處理系統,其特征在于,所述升降件包括升降電機、螺桿和限位桿,所述升降電機設置在所述排氧罐的一側;所述螺桿和所述升降電機的輸出端固定連接,并和所述提升板螺紋連接;所述限位桿設置在所述提升板遠離所述螺桿的一側。
3.如權利要求2所述的一種反硝化厭氧氨氧化的污水處理系統,其特征在于,所述升降件還包括壓力表和控制器,所述壓力表設置在所述排氧罐的一側;所述控制器固定在所述排氧罐上。
4.如權利要求3所述的一種反硝化厭氧氨氧化的污水處理系統,其特征在于,所述一種反硝化厭氧氨氧化的污水處理系統還包括補氣罐、補氣管和補氣閥,所述補氣罐設置在所述排氧罐的一側;所述補氣管和所述補氣罐連通,并和所述排氧罐連通;所述補氣閥設置在所述補氣管中。
5.如權利要求4所述的一種反硝化厭氧氨氧化的污水處理系統,其特征在于,所述一種反硝化厭氧氨氧化的污水處理系統還包括蜂鳴器和報警燈,所述蜂鳴器設置在所述控制器上;所述報警燈設置在所述控制器上。
6.如權利要求5所述的一種反硝化厭氧氨氧化的污水處理系統,其特征在于,所述一種反硝化厭氧氨氧化的污水處理系統還包括密封簾,所述密封簾和所述提升板固定連接,并和所述排氧罐固定連接。
7.一種反硝化厭氧氨氧化的污水處理方法,應用于如權利要求1~6任一項所述的一種反硝化厭氧氨氧化的污水處理系統,其特征在于,包括:啟動所述升降件,將所述提升板移動到下方,使其擠壓所述波紋氣囊;在所述排氧罐中充入不溶于水且質量大于氧氣的惰性氣體;打開所述第一抽水泵和所述第一電磁閥,讓污水從所述反硝化池排到所述排氧罐中;同步啟動所述升降件,勻速提升所述提升板的高度;當污水轉移到所述排氧罐中后,關閉所述第一電磁閥和所述第一抽水泵,并打開第二抽水泵和所述第二電磁閥;將污水從所述排氧罐中排到所述厭氧池中。
發明內容
本發明的目的在于提供一種反硝化厭氧氨氧化的污水處理系統及方法,旨在解決現有污水處理系統容易額外將空氣輸入到厭氧池中,導致厭氧池的反應效果變差,降低了反應效率的問題。
為實現上述目的,第一方面,本發明提供了一種反硝化厭氧氨氧化的污水處理系統,包括反硝化池、厭氧池、第一抽水泵、第一排液管、第一電磁閥、排氧罐、波紋氣囊、提升板、升降件、第二抽水泵、第二排液管和第二電磁閥,所述厭氧池設置在所述反硝化池的一側;所述第一抽水泵和所述反硝化池連通;所述第一排液管和所述第一抽水泵的輸出端連通;所述第一電磁閥設置在所述第一排液管中;所述排氧罐和所述第一排液管連通;所述波紋氣囊和所述排氧罐連通,并位于所述排氧罐的上方;所述提升板固定在所述波紋氣囊的上方;所述升降件設置在所述提升板的一側;所述第二抽水泵和所述排氧罐連通;所述第二排液管和所述第二抽水泵的輸出端連通;所述第二電磁閥設置在所述第二排液管中。
其中,所述升降件包括升降電機、螺桿和限位桿,所述升降電機設置在所述排氧罐的一側;所述螺桿和所述升降電機的輸出端固定連接,并和所述提升板螺紋連接;所述限位桿設置在所述提升板遠離所述螺桿的一側。
其中,所述升降件還包括壓力表和控制器,所述壓力表設置在所述排氧罐的一側;所述控制器固定在所述排氧罐上。
其中,所述一種反硝化厭氧氨氧化的污水處理系統還包括補氣罐、補氣管和補氣閥,所述補氣罐設置在所述排氧罐的一側;所述補氣管和所述補氣罐連通,并和所述排氧罐連通;所述補氣閥設置在所述補氣管中。
其中,所述一種反硝化厭氧氨氧化的污水處理系統還包括蜂鳴器和報警燈,所述蜂鳴器設置在所述控制器上;所述報警燈設置在所述控制器上。
其中,所述一種反硝化厭氧氨氧化的污水處理系統還包括密封簾,所述密封簾和所述提升板固定連接,并和所述排氧罐固定連接。
另一方面,一種反硝化厭氧氨氧化的污水處理方法,應用于所述的一種反硝化厭氧氨氧化的污水處理系統,包括:啟動所述升降件,將所述提升板移動到下方,使其擠壓所述波紋氣囊;在所述排氧罐中充入不溶于水且質量大于氧氣的惰性氣體;打開所述第一抽水泵和所述第一電磁閥,讓污水從所述反硝化池排到所述排氧罐中;同步啟動所述升降件,勻速提升所述提升板的高度;當污水轉移到所述排氧罐中后,關閉所述第一電磁閥和所述第一抽水泵,并打開第二抽水泵和所述第二電磁閥;將污水從所述排氧罐中排到所述厭氧池中。
本發明的一種反硝化厭氧氨氧化的污水處理系統,所述反硝化池用于對污水進行反硝化反應,在充分反應后,通過所述第一抽水泵和所述第一排液管將污水輸送至所述排氧罐中,所述第一電磁閥用于開關所述第一排液管;所述排氧罐中充入不溶于水且質量大于氧氣的惰性氣體,如氪氣,當污水進入時,將氪氣向上擠壓,此時通過所述升降件提高所述提升板的高度,讓所述波紋氣囊伸展開,存放向上排出的氪氣,而混入污水中的氧氣質量小于氪氣,會先排放至上方,與污水分開,當污水全部轉移到所述排氧罐中,關閉所述第一電磁閥和所述第一抽水泵,并打開第二抽水泵和所述第二電磁閥,將污水從所述排氧罐中排到所述厭氧池中,即使污水中混合部分氣體,這部分氣體也只是混合下方的氪氣,氪氣為惰性氣體,且不溶于水,進入所述厭氧池后,不會在污水厭氧反應時出現干擾;本發明通過在所述厭氧池前進行排氧處理,使污水進入時不會攜帶混合氧氣,避免讓厭氧反應不充分,從而解決了現有污水處理系統容易額外將空氣輸入到厭氧池中,導致厭氧池的反應效果變差,降低了反應效率的問題。
(發明人:劉軍民;沈冬亮;顧俊斐)






