公布日:2023.09.29
申請日:2023.06.27
分類號:C02F1/72(2023.01)I;B01J8/06(2006.01)I;B01J8/02(2006.01)I;B01J8/00(2006.01)I
摘要
一種非均相類芬頓反應器、有機廢水的處理裝置及方法,屬于污水處理技術領域,克服現有技術中的類芬頓反應器占地面積大,建造成本高,反應時間長,傳質效率低的缺陷。本發明非均相類芬頓反應器包括第一進水系統、第一靜態混合催化氧化管道和第一靜態混合元件;所述第一靜態混合催化氧化管道一端與所述第一進水系統連接,另一端設置出水口;所述第一靜態混合元件設置在所述第一靜態混合催化氧化管道內;所述第一靜態混合元件具有類芬頓催化反應活性;所述第一靜態混合催化氧化管道長度與內徑之比為20:1~200:1。本發明裝置節省占地空間,反應時間短,傳質效率高。

權利要求書
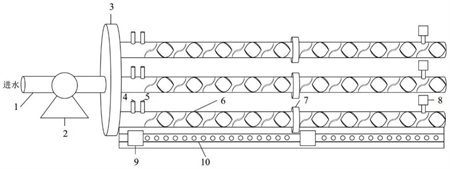
1.一種非均相類芬頓反應器,其特征在于,包括第一進水系統、第一靜態混合催化氧化管道和第一靜態混合元件;所述第一靜態混合催化氧化管道一端與所述第一進水系統連接,另一端設置出水口;所述第一靜態混合元件設置在所述第一靜態混合催化氧化管道內;所述第一靜態混合元件具有類芬頓催化反應活性;所述第一靜態混合催化氧化管道長度與內徑之比為20:1~200:1。
2.根據權利要求1所述的非均相類芬頓反應器,其特征在于,滿足以下條件中的至少一項:(1)所述第一靜態混合催化氧化管道并列設置有多個;(2)還包括第一加藥系統;所述第一加藥系統包括酸化FeSO4溶液投加口、過氧化氫投加口和第一加藥計量泵和第一在線pH計;所述酸化FeSO4溶液投加口和過氧化氫投加口設置在第一進水系統與第一靜態混合元件之間;(3)所述第一進水系統包括第一進水泵、第一進水管和第一布水器;所述第一進水泵與第一布水器之間通過第一進水管相連,第一布水器出水口與各第一靜態混合催化氧化管道連通;(4)所述第一靜態混合元件材質為鐵、錳、銅、鎳或其金屬氧化物中的一種或多種;(5)所述第一靜態混合元件為SL型靜態混合元件、SX型靜態混合元件或SK型靜態混合元件;(6)所述第一靜態混合元件可拆卸地設置在所述第一靜態混合催化氧化管道內。
3.根據權利要求1所述的非均相類芬頓反應器,其特征在于,還包括超聲清洗系統,所述超聲清洗系統包括超聲波發生器、超聲波換能器和聲場作用槽。
4.根據權利要求3所述的非均相類芬頓反應器,其特征在于,所述超聲清洗系統還包括超聲波換能器滑槽,所述超聲波換能器可沿超聲波換能器滑槽移動;和/或所述超聲清洗系統中安裝有隔音板;和/或,超聲波換能器設計有降噪結構。
5.一種難降解有機廢水的處理裝置,其特征在于,包括權利要求1-4任一項所述的非均相類芬頓反應器,還包括非均相直接氧化轉移反應器,所述非均相類芬頓反應器和非均相直接氧化轉移反應器串聯。
6.根據權利要求5所述的難降解有機廢水的處理裝置,其特征在于,還包括與所述非均相直接氧化轉移反應器連接的納米催化劑清洗回收系統;所述納米催化劑清洗回收系統包括旋流分離器、催化劑回流管、催化劑清洗室和時間控制閥門;所述非均相直接氧化轉移反應器出水口與所述旋流分離器連接,分離出的納米催化劑進入催化劑回流管,通過催化劑回流管上設置的時間控制閥門,控制分離出的納米催化劑進入催化劑清洗室清洗再生或直接回流至非均相直接氧化轉移反應器內。
7.根據權利要求5或6所述的難降解有機廢水的處理裝置,其特征在于,所述非均相直接氧化轉移反應器包括第二進水系統、第二靜態混合催化氧化管道和第二靜態混合元件;所述第二靜態混合催化氧化管道一端與所述第二進水系統連接,另一端設置出水口;所述第二靜態混合元件設置在所述第二靜態混合催化氧化管道內;所述第二靜態混合催化氧化管道長度與內徑之比為20:1~200:1。
8.根據權利要求7所述的難降解有機廢水的處理裝置,其特征在于,所述非均相直接氧化轉移反應器滿足以下條件中的至少一項:(1)所述第二靜態混合催化氧化管道并列設置有多個;(2)還包括第二加藥系統;所述第二加藥系統包括納米催化劑投加口、過硫酸鹽溶液投加口、第二加藥計量泵和第二在線pH計;所述納米催化劑投加口、過硫酸鹽溶液投加口設置在第二進水系統與第二靜態混合元件之間;(3)所述第二進水系統包括第二進水泵、第二進水管和第二布水器;所述第二進水泵與第二布水器之間通過第二進水管相連,第二布水器出水口與各第二靜態混合催化氧化管道連通;(4)所述第二靜態混合元件材質為聚四氟乙烯;(5)所述第二靜態混合元件為SL型靜態混合元件、SX型靜態混合元件或SK型靜態混合元件;(6)所述第二靜態混合元件可拆卸地設置在所述第二靜態混合催化氧化管道內。
9.一種難降解有機廢水的處理方法,其特征在于,包括以下步驟:將難降解有機廢水先進行非均相類芬頓反應,然后再進行非均相直接氧化轉移反應。
10.根據權利要求9所述的難降解有機廢水的處理方法,其特征在于,所述非均相類芬頓反應過程中,采用酸化FeSO4溶液和過氧化氫將所述難降解有機廢水的pH控制在5.0~5.5;非均相類芬頓反應時間為1~15min。
發明內容
因此,本發明要解決的技術問題在于克服現有技術中的類芬頓反應器占地面積大,建造成本高,反應時間長,傳質效率低的缺陷,從而提供一種非均相類芬頓反應器、有機廢水的處理裝置及方法。
為此,本發明提供了以下技術方案。
第一方面,本發明提供了一種非均相類芬頓反應器,包括第一進水系統、第一靜態混合催化氧化管道和第一靜態混合元件;
所述第一靜態混合催化氧化管道一端與所述第一進水系統連接,另一端設置出水口;
所述第一靜態混合元件設置在所述第一靜態混合催化氧化管道內;
所述第一靜態混合元件具有類芬頓催化反應活性;
所述第一靜態混合催化氧化管道長度與內徑之比為20:1~200:1。
進一步的,所述第一靜態混合催化氧化管道內徑為0.1m~1.0m。
進一步的,所述第一靜態混合元件與所述第一靜態混合催化氧化管道內徑相當。
進一步的,所述第一靜態混合催化氧化管道并列設置有多個;提高處理能力,第一靜態混合催化氧化管道并列設置不少于2根;
第一靜態混合催化氧化管道長度較大,不易制備,進一步的,第一靜態混合催化氧化管道由2個以上的第一管道單元連接而成,第一管道單元之間通過第一法蘭連接。
進一步的,第一管道單元的長度為1~15m。
進一步的,還包括第一加藥系統;
所述第一加藥系統包括酸化FeSO4溶液投加口、過氧化氫投加口和第一加藥計量泵和第一在線pH計;第一在線pH計與配制酸化FeSO4溶液時的酸液加藥泵連鎖,精準控制反應pH和加藥量。
所述酸化FeSO4溶液投加口和過氧化氫投加口設置在第一進水系統與第一靜態混合元件之間。
進一步的,所述第一進水系統包括第一進水泵、第一進水管和第一布水器;所述第一進水泵與第一布水器之間通過第一進水管相連,第一布水器出水口與各第一靜態混合催化氧化管道連通。
酸化FeSO4溶液投加口和過氧化氫投加口設置在第一靜態混合催化氧化管道上,位于第一布水器之后、第一靜態混合元件入口之前。
進一步的,所述第一靜態混合元件材質為鐵、錳、銅、鎳或其金屬氧化物中的一種或多種。
進一步的,第一靜態混合元件通過3D打印、化學蝕刻等方法制造而成。
進一步的,所述第一靜態混合元件為SL型靜態混合元件、SX型靜態混合元件或SK型靜態混合元件;優選為SK型靜態混合元件,適用于雜質較多的廢水,不易堵塞。左旋螺旋片與右旋螺旋片交替連接,促進流體不斷分割和充分混合。
進一步的,所述第一靜態混合元件可拆卸地設置在所述第一靜態混合催化氧化管道內;方便在催化活性降低時換新,拆卸后的第一靜態混合元件可通過酸洗重塑的方式實現異位再生利用。
進一步的,所述第一靜態混合元件設置有2個以上,第一靜態混合元件非連續地設置在所述第一靜態混合催化氧化管道內。
進一步的,非均相類芬頓反應器的工作壓力為10kg/cm2~50kg/cm2。
進一步的,還包括超聲清洗系統,所述超聲清洗系統包括超聲波發生器、超聲波換能器和聲場作用槽。超聲波發生器發出高頻交流電信號,驅動超聲波換能器產生高頻機械振動,該高頻機械振動經聲場作用槽和第一靜態混合催化氧化管道傳播至第一靜態混合催化氧化管道內的流體中,超聲波頻率與超聲時間可調。在超聲波作用下,FeSO4與過氧化氫反應產生的鐵泥轉移至液相并流出非均相類芬頓反應器,有效減緩具有類芬頓催化反應活性的第一靜態混合元件板結現象;同時,超聲波強化活性氧物種的產生過程,促進廢水中污染物與活性氧物種的充分接觸,增強催化反應效能。
進一步的,所述超聲清洗系統還包括超聲波換能器滑槽,所述超聲波換能器可沿超聲波換能器滑槽移動;和/或
所述超聲清洗系統中安裝有隔音板;
和/或,超聲波換能器設計有降噪結構。提升超聲清洗系統的降噪效果。具體的,降噪結構為設置在超聲波換能器下的緩沖墊。
所述超聲清洗系統還包括PLC自動控制模塊,控制超聲波換能器沿超聲波換能器滑槽自動移動。對不同位置的第一靜態混合催化氧化管道進行超聲清洗,提升超聲清洗系統的靈活性,降低運行成本。
進一步的,第一靜態混合催化氧化管道材質采用316L不銹鋼材質。
本發明非均相類芬頓反應器可應用于難降解有機廢水生化處理前的預處理單元,也可應用于難降解有機廢水生化處理后的深度處理單元。
第二方面,本發明還提供了一種難降解有機廢水的處理裝置,包括上述非均相類芬頓反應器,還包括非均相直接氧化轉移反應器,所述非均相類芬頓反應器和非均相直接氧化轉移反應器串聯。
進一步的,所述非均相類芬頓反應器的出水口與所述非均相直接氧化轉移反應器的進水口連接。
進一步的,還包括與所述非均相直接氧化轉移反應器連接的納米催化劑清洗回收系統;
所述納米催化劑清洗回收系統包括旋流分離器、催化劑回流管、催化劑清洗室和時間控制閥門;
所述非均相直接氧化轉移反應器出水口與所述旋流分離器連接,分離出的納米催化劑進入催化劑回流管,通過催化劑回流管上設置的時間控制閥門,控制分離出的納米催化劑進入催化劑清洗室清洗再生或直接回流至非均相直接氧化轉移反應器內。
表面飽和的納米催化劑進入催化劑清洗室,通過溶劑洗脫實現催化劑再生。催化劑表面飽和后可清洗再生,重復利用。清洗后的納米催化劑回到表面未飽和的狀態,可回流至非均相直接氧化轉移反應器繼續使用。
優選的,催化劑清洗頻率設置為4h/次~6h/次。
進一步的,所述非均相直接氧化轉移反應器包括第二進水系統、第二靜態混合催化氧化管道和第二靜態混合元件;
所述第二靜態混合催化氧化管道一端與所述第二進水系統連接,另一端設置出水口;
所述第二靜態混合元件設置在所述第二靜態混合催化氧化管道內;
所述第二靜態混合催化氧化管道長度與內徑之比為20:1~200:1。
進一步的,所述第二靜態混合催化氧化管道內徑為0.1m~1.0m。
進一步的,所述第二靜態混合元件與所述第二靜態混合催化氧化管道內徑相當。
進一步的,所述第二靜態混合元件設置有2個以上,第二靜態混合元件非連續地設置在所述第二靜態混合催化氧化管道內。
進一步的,所述非均相直接氧化轉移反應器滿足以下條件中的至少一項:
(1)所述第二靜態混合催化氧化管道并列設置有多個;
第二靜態混合催化氧化管道長度較大,不易制備,進一步的,第二靜態混合催化氧化管道由2個以上的第二管道單元連接而成,第二管道單元之間通過第一法蘭連接。
進一步的,第二管道單元的長度為1~15m。
(2)還包括第二加藥系統;
所述第二加藥系統包括納米催化劑投加口、過硫酸鹽溶液投加口、第二加藥計量泵和第二在線pH計;
所述納米催化劑投加口、過硫酸鹽溶液投加口設置在第二進水系統與第二靜態混合元件之間;
(3)所述第二進水系統包括第二進水泵、第二進水管和第二布水器;所述第二進水泵與第二布水器之間通過第二進水管相連,第二布水器出水口與各第二靜態混合催化氧化管道連通;
進一步的,納米催化劑投加口和過硫酸鹽溶液投加口位于第二布水器之后的第二靜態混合催化氧化管道起始段。
(4)所述第二靜態混合元件材質為聚四氟乙烯;第二靜態混合元件對納米催化劑不具有吸附作用,促進污染物、過硫酸鹽溶液和納米催化劑的充分混合。污染物與過硫酸鹽在納米催化劑表面發生直接氧化轉移過程,污染物的還原勢能降低而被活化,產生的氧化中間產物在納米催化劑表面穩定,并通過偶聯或聚合反應在納米催化劑表面積累,從而實現廢水中污染物的去除。
(5)所述第二靜態混合元件為SL型靜態混合元件、SX型靜態混合元件或SK型靜態混合元件;
(6)所述第二靜態混合元件可拆卸地設置在所述第二靜態混合催化氧化管道內。
進一步的,非均相直接氧化轉移反應器的工作壓力為10kg/cm2~50kg/cm2。
進一步的,第二靜態混合催化氧化管道采用316L不銹鋼材質。
進一步的,納米催化劑包括金屬氧化物、碳材料等,過硫酸鹽為PMS。優選的,納米催化劑為鐵錳復合氧化物、生物質炭、碳納米管中的至少一種。
非均相直接氧化轉移反應器可應用于難降解有機廢水生化處理后的深度處理單元。
第三方面,本發明還提供了一種難降解有機廢水的處理方法,包括以下步驟:將難降解有機廢水先進行非均相類芬頓反應,然后再進行非均相直接氧化轉移反應。
難降解有機廢水由第一進水泵泵入非均相類芬頓反應器。FeSO4與催化活性元件催化過氧化氫產生活性氧物種,使高濃度有機污染物發生部分礦化反應。在上述高級氧化過程中合理控制過氧化氫投加量,使有機污染物濃度降低至適當水平。含較低濃度有機污染物的非均相類芬頓反應器出水泵入非均相直接氧化轉移反應器。在較低過硫酸鹽投量下,剩余有機污染物與過硫酸鹽在納米催化劑表面發生直接氧化轉移過程,實現污染物從廢水到納米催化劑表面的非分解氧化轉移。
進一步的,所述非均相類芬頓反應過程中,采用酸化FeSO4溶液和過氧化氫將所述難降解有機廢水的pH控制在5.0~5.5,可大幅減少酸堿藥劑的投加量;非均相類芬頓反應時間(即難降解有機廢水從進入到出水在非均相類芬頓反應器中停留時間的時間)為1~15min。
進一步的,所述非均相直接氧化轉移反應過程中,非均相直接氧化轉移反應時間為1~15min。
進一步的,所述難降解有機廢水的處理方法采用上述的非均相類芬頓反應器和非均相直接氧化轉移反應器,包括:
S1、第一進水泵將難降解有機廢水通過第一進水管泵入第一靜態混合催化氧化管道內;
S2、投加酸化FeSO4溶液,投加量為100mg/L~250mg/L;投加過氧化氫,投加量為100mg/L~200mg/L;酸化FeSO4溶液為預先使用硫酸酸化的FeSO4溶液;反應時間1~15min;
S3、第二進水泵將S2的出水通過第二進水管泵入第二靜態混合催化氧化管道內;
S4、投加納米催化劑0.5g/L~2.0/L,投加過硫酸鹽25mg/L~50mg/L,反應1~15min后出水。
本發明技術方案,具有如下優點:
1.本發明提供的非均相類芬頓反應器,包括第一進水系統、第一靜態混合催化氧化管道和第一靜態混合元件;所述第一靜態混合催化氧化管道一端與所述第一進水系統連接,另一端設置出水口;所述第一靜態混合元件設置在所述第一靜態混合催化氧化管道內;所述第一靜態混合元件具有類芬頓催化反應活性;所述第一靜態混合催化氧化管道長度與內徑之比為20:1~200:1。
采用細長型的第一靜態混合催化氧化管道,且在其內部設置具有類芬頓催化反應活性的第一靜態混合元件,一方面,節省占地空間、投資和運行成本;另一方面,第一靜態混合元件催化活性位點豐富,兼具高效混合與催化功能,可縮短反應時間,降低后續鐵泥產量,以較低能耗和較短時間實現高傳質效率和高催化效率,且本發明非均相類芬頓反應器不存在流化布水不均的問題。
2.本發明提供的非均相類芬頓反應器,還包括超聲清洗系統,所述超聲清洗系統包括超聲波發生器、超聲波換能器和聲場作用槽。可通過超聲清洗系統對第一靜態混合元件進行原位清洗再生,超聲波不僅防止具有催化活性的第一靜態混合元件板結鈍化,同時強化類芬頓反應過程,提高催化效率。
3.本發明提供的非均相類芬頓反應器,超聲波換能器在PLC自動控制模塊的控制下沿超聲波換能器滑槽水平移動,擴大了超聲波清洗的范圍,提高超聲清洗系統的自動化水平和靈活性。
4.本發明提供的難降解有機廢水的處理方法,包括以下步驟:將難降解有機廢水先進行非均相類芬頓反應,然后再進行非均相直接氧化轉移反應。
本發明有效耦合了高級氧化技術和直接氧化轉移技術,在合理的藥劑成本區間內穩定保障出水水質達標。非均相類芬頓反應使有機污染物水平由高濃度降至較低濃度,非均相直接氧化轉移反應引發剩余有機污染物由廢水至納米催化劑表面的非分解氧化轉移,對含供電子基團有機物的去除效果尤佳,可大幅度降低非均相直接氧化轉移反應過程中氧化劑的投加量,降低成本。
非均相直接氧化轉移反應平衡非均相類芬頓反應過程中過氧化氫的投加量,并消耗非均相類芬頓反應出水中殘留的過氧化氫,減少藥劑浪費。
(發明人:王佳琪;陳亞松;柳蒙蒙;王子麟;趙云鵬;李翀;陳磊;王殿常;賈伯陽;楊明明)






