公布日:2023.08.22
申請日:2023.06.26
分類號:C02F11/02(2006.01)I;C02F11/121(2019.01)I;C02F101/30(2006.01)N;C02F103/10(2006.01)N
摘要
本發明公開了一種微生物降解的固態落地油泥環保處理裝置及工藝,屬于落地油泥處理技術領域。本發明的一種微生物降解的固態落地油泥環保處理裝置,包括微生物降解裝置、循環導水箱、導泥箱和分選設備殼體,還包括進水斗,分選設備殼體與進水斗之間設置有上流式厭氧污泥床;分選設備殼體的外部設置有四個導泥筒。本發明解決了落地油泥處理裝置的處理效率一般,可回收利用資源少,環保效果差的問題,本發明通過導泥筒進行導泥工作,導入微生物降解裝置內部進行微生物降解工作,分類后進行降解可以提高處理效果,減少微生物資源的浪費,節約成本,通過設置為兩面傾斜的多面體安裝板,使微生物充分進入泥沙內部進行降解工作,以提高降解效果。

權利要求書
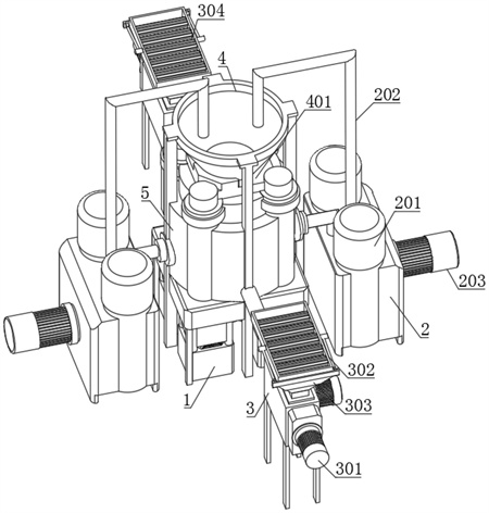
1.一種微生物降解的固態落地油泥環保處理裝置,包括微生物降解裝置(1)、循環導水箱(2)、導泥箱(3)和分選設備殼體(5),其特征在于,所述循環導水箱(2)安裝在微生物降解裝置(1)的兩側,所述導泥箱(3)設置在微生物降解裝置(1)的前端和的后端,所述分選設備殼體(5)安裝在微生物降解裝置(1)的上方;還包括進水斗(4),其設置于分選設備殼體(5)的上端,且所述分選設備殼體(5)與進水斗(4)之間設置有上流式厭氧污泥床(401);所述分選設備殼體(5)的外部設置有四個導泥筒(501),所述導泥筒(501)的位置與微生物降解裝置(1)的位置對應。
2.根據權利要求1所述的一種微生物降解的固態落地油泥環保處理裝置,其特征在于:所述微生物降解裝置(1)的上方安裝有收集箱(101),所述收集箱(101)與微生物降解裝置(1)之間安裝有支撐架(1012),所述支撐架(1012)分別與收集箱(101)和微生物降解裝置(1)焊接連接,所述收集箱(101)的內部中心設置有貫通的輸泥口(1011)。
3.根據權利要求2所述的一種微生物降解的固態落地油泥環保處理裝置,其特征在于:所述微生物降解裝置(1)的內部設置有一體成型的下料口(102),所述下料口(102)的下方安裝有安裝板(103),所述安裝板(103)的外表面安裝有斜向反應板(104),所述斜向反應板(104)的上端面設置有氣泡發生器(105),所述微生物降解裝置(1)的內部設置有一體成型的微生物降解腔(106)。
4.根據權利要求3所述的一種微生物降解的固態落地油泥環保處理裝置,其特征在于:所述循環導水箱(2)的上端兩側均安裝有儲水罐(201),所述儲水罐(201)的下端設置有電磁閥管(2011),所述循環導水箱(2)的內部下方安裝有回收水箱(204),所述回收水箱(204)的內部設置有污水過濾板(2041),所述循環導水箱(2)的后端安裝有泵用電機(203),所述泵用電機(203)的電機軸通過聯軸器固定連接有葉輪(2031),且所述循環導水箱(2)的內部設置有負壓腔(2032),且所述負壓腔(2032)下端與過回收水箱(204)的上端連通,所述葉輪(2031)延伸至負壓腔(2032)的內部與循環導水箱(2)密封連接,所述循環導水箱(2)的上端安裝有導水管(202)。
5.根據權利要求4所述的一種微生物降解的固態落地油泥環保處理裝置,其特征在于:所述導泥箱(3)上安裝有減速電機(301),所述導泥箱(3)的內部安裝有第一螺旋送料機(3051),所述導泥箱(3)的一側設置有輸泥管(305),所述輸泥管(305)與導泥箱(3)之間安裝有密封套筒(3052),所述減速電機(301)通過聯軸器與第一螺旋送料機(3051)傳動連接,所述第一螺旋送料機(3051)貫穿輸泥管(305)與導泥箱(3)轉動連接,所述分選設備殼體(5)的外部安裝有連接管(503),所述輸泥管(305)的一端穿過連接管(503)延伸至分選設備殼體(5)的內部與微生物降解裝置(1)密封連接。
6.根據權利要求5所述的一種微生物降解的固態落地油泥環保處理裝置,其特征在于:所述導泥箱(3)的上方設置有進料箱(302),所述進料箱(302)的內部安裝有分散輥(304),所述分散輥(304)的內部安裝有內轉子電機(3041),所述分散輥(304)通過軸承與進料箱(302)轉動連接,所述導泥箱(3)外固定連接有電動機(306),所述導泥箱(3)內設置有分散槳(3061),所述分散槳(3061)與電動機(306)的電機軸通過聯軸器連接。
7.根據權利要求6所述的一種微生物降解的固態落地油泥環保處理裝置,其特征在于:所述進料箱(302)的內部下方安裝有過濾隔板(307),所述過濾隔板(307)的內部設置有通孔(3071),所述進料箱(302)的一側安裝有活動清理板(303),所述活動清理板(303)與進料箱(302)通過鉸鏈活動連接,且所述活動清理板(303)的兩側均安裝有電動缸(3031)。
8.根據權利要求7所述的一種微生物降解的固態落地油泥環保處理裝置,其特征在于:所述進水斗(4)的下方設置有三相分離器(402),所述三相分離器(402)的內部安裝有電動加藥器(4021),所述上流式厭氧污泥床(401)的內部上方設置有集氣罩,所述分選設備殼體(5)的下端安裝有調速機(5051)和步進電機(5052),所述電動加藥器(4021)的下方安裝有攪拌槳(505),所述步進電機(5052)和調速機(5051)與攪拌槳(505)傳動連接。
9.根據權利要求8所述的一種微生物降解的固態落地油泥環保處理裝置,其特征在于:所述導泥筒(501)的上端安裝有伺服電機(5011),所述導泥筒(501)的內部設置有第二螺旋送料機(5012),且所述導泥筒(501)的下端設置有缺口(5013),所述分選設備殼體(5)的下方安裝有沉降泥箱(504),所述分選設備殼體(5)的外部設置有密封閥(502),所述密封閥(502)的外部安裝有回流水管(5021),所述回流水管(5021)的一端延伸至回收水箱(204)內部與循環導水箱(2)密封連接,且所述回流水管(5021)的下端設置有通口(5022)。
10.一種根據權利要求9所述的微生物降解的固態落地油泥環保處理裝置的工藝,其特征在于,包括如下步驟:步驟一:將需要進行處理的固態落地油泥導入導泥箱(3),導入過程中,先通過內轉子電機(3041)轉動帶動多個分散輥(304)轉動,從而可以使得固態的落地油泥初步進行分散,再通過過濾隔板(307)過濾,進入導泥箱(3)內部;步驟二:經過導泥箱(3)收集后的固態落地油泥可以通過減速電機(301)帶動第一螺旋送料機(3051)轉動進行輸送工作,從而可以對處理裝置進行上料工作;步驟三:通過泵用電機(203)帶動葉輪(2031)轉動,葉輪(2031)轉動后,將負壓腔(2032)內部的水分引入導水管(202),通過導水管(202)將水分導入進水斗(4),進行三相分離工作;步驟四:通過攪拌槳(505)轉動,帶動分選設備殼體(5)內部油泥活動,加熱設備進行加熱后,投入藥劑進行分層工作,通過三相分離器(402)將固態落地油泥分離成液體、氣體和固體,固體下沉至沉降泥箱(504),液體位于沉降泥箱(504)上方,氣體通過集氣罩收集,可以連接導氣管將收集產生的沼氣,并將沼氣導出氣室送往沼氣柜;步驟五:分選設備殼體(5)內部的泥沙通過分層沉淀在沉降泥箱(504)內部存儲,沉降泥箱(504)內部設置有滑料坡,通過滑料坡可以將泥沙導入導泥筒(501)附近,缺口(5013)可以將沉淀在沉降泥箱(504)內部的泥沙引入導泥筒(501)中,驅動第二螺旋送料機(5012)通過導泥筒(501)進行導泥工作,泥沙導入微生物降解裝置(1)內部后,通過氣泡發生器(105)將微生物排入微生物降解腔(106)內部,與泥沙充分混合,進行二次降解工作;步驟六:分離在中層的水分可以通過開啟密封閥(502)通過回流水管(5021)流入循環導水箱(2),經過回收水箱(204)進行過濾,從而可以進行后續使用。
發明內容
本發明的目的在于提供一種微生物降解的固態落地油泥環保處理裝置及工藝,解決了上述背景技術中提出落地油泥處理裝置的處理效率一般,可回收利用資源少,環保效果差的問題。
為實現上述目的,本發明提供如下技術方案:一種微生物降解的固態落地油泥環保處理裝置,包括微生物降解裝置、循環導水箱、導泥箱和分選設備殼體,所述循環導水箱安裝在微生物降解裝置的兩側,所述導泥箱設置在微生物降解裝置的前端和的后端,所述分選設備殼體安裝在微生物降解裝置的上方;
還包括進水斗,其設置于分選設備殼體的上端,且所述分選設備殼體與進水斗之間設置有上流式厭氧污泥床;
所述分選設備殼體的外部設置有四個導泥筒,所述導泥筒的位置與微生物降解裝置的位置對應。
優選的,所述微生物降解裝置的上方安裝有收集箱,所述收集箱與微生物降解裝置之間安裝有支撐架,所述支撐架分別與收集箱和微生物降解裝置焊接連接,所述收集箱的內部中心設置有貫通的輸泥口。
優選的,所述微生物降解裝置的內部設置有一體成型的下料口,所述下料口的下方安裝有安裝板,所述安裝板的外表面安裝有斜向反應板,所述斜向反應板的上端面設置有氣泡發生器,所述微生物降解裝置的內部設置有一體成型的微生物降解腔。
優選的,所述循環導水箱的上端兩側均安裝有儲水罐,所述儲水罐的下端設置有電磁閥管,所述循環導水箱的內部下方安裝有回收水箱,所述回收水箱的內部設置有污水過濾板,所述循環導水箱的后端安裝有泵用電機,所述泵用電機的電機軸通過聯軸器固定連接有葉輪,且所述循環導水箱的內部設置有負壓腔,且所述負壓腔下端與過回收水箱的上端連通,所述葉輪延伸至負壓腔的內部與循環導水箱密封連接,所述循環導水箱的上端安裝有導水管。
優選的,所述導泥箱上安裝有減速電機,所述導泥箱的內部安裝有第一螺旋送料機,所述導泥箱的一側設置有輸泥管,所述輸泥管與導泥箱之間安裝有密封套筒,所述減速電機通過聯軸器與第一螺旋送料機傳動連接,所述第一螺旋送料機貫穿輸泥管與導泥箱轉動連接,所述分選設備殼體的外部安裝有連接管,所述輸泥管的一端穿過連接管延伸至分選設備殼體的內部與微生物降解裝置密封連接。
優選的,所述導泥箱的上方設置有進料箱,所述進料箱的內部安裝有分散輥,所述分散輥的內部安裝有內轉子電機,所述分散輥通過軸承與進料箱轉動連接,所述導泥箱外固定連接有減速電機,所述導泥箱內設置有分散槳,所述分散槳與減速電機的電機軸通過聯軸器連接。
優選的,所述進料箱的內部下方安裝有過濾隔板,所述過濾隔板的內部設置有通孔,所述進料箱的一側安裝有活動清理板,所述活動清理板與進料箱通過鉸鏈活動連接,且所述活動清理板的兩側均安裝有電動缸。
優選的,所述進水斗的下方設置有三相分離器,所述三相分離器的內部安裝有電動加藥器,所述上流式厭氧污泥床的內部上方設置有集氣罩,所述分選設備殼體的下端安裝有調速機和步進電機,所述電動加藥器的下方安裝有攪拌槳,所述步進電機和調速機與攪拌槳傳動連接。
優選的,所述導泥筒的上端安裝有伺服電機,所述導泥筒的內部設置有第二螺旋送料機,且所述導泥筒的下端設置有缺口,所述分選設備殼體的下方安裝有沉降泥箱,所述分選設備殼體的外部設置有密封閥,所述密封閥的外部安裝有回流水管,所述回流水管的一端延伸至回收水箱內部與循環導水箱密封連接,且所述回流水管的下端設置有通口。
一種微生物降解的固態落地油泥環保處理裝置的工藝,包括如下步驟:
步驟一:將需要進行處理的固態落地油泥導入導泥箱,導入過程中,先通過內轉子電機轉動帶動多個分散輥轉動,從而可以使得固態的落地油泥初步進行分散,再通過過濾隔板過濾,進入導泥箱內部;
步驟二:經過導泥箱收集后的固態落地油泥可以通過減速電機帶動第一螺旋送料機轉動進行輸送工作,從而可以對處理裝置進行上料工作;
步驟三:通過泵用電機帶動葉輪轉動,葉輪轉動后,將負壓腔內部的水分引入導水管,通過導水管將水分導入進水斗,進行三相分離工作;
步驟四:通過攪拌槳轉動,帶動分選設備殼體內部油泥活動,加熱設備進行加熱后,投入藥劑進行分層工作,通過三相分離器將固態落地油泥分離成液體、氣體和固體,固體下沉至沉降泥箱,液體位于沉降泥箱上方,氣體通過集氣罩收集,可以連接導氣管將收集產生的沼氣,并將沼氣導出氣室送往沼氣柜;
步驟五:分選設備殼體內部的泥沙通過分層沉淀在沉降泥箱內部存儲,沉降泥箱內部設置有滑料坡,通過滑料坡可以將泥沙導入導泥筒附近,缺口可以將沉淀在沉降泥箱內部的泥沙引入導泥筒中,驅動第二螺旋送料機通過導泥筒進行導泥工作,泥沙導入微生物降解裝置內部后,通過氣泡發生器將微生物排入微生物降解腔內部,與泥沙充分混合,進行二次降解工作;
步驟六:分離在中層的水分可以通過開啟密封閥通過回流水管流入循環導水箱,經過回收水箱進行過濾,從而可以進行后續使用。
與現有技術相比,本發明的有益效果是:
1、本發明通過設置四個導泥筒,導泥筒用于將沉淀的污泥導入微生物降解裝置內部進行二次處理工作,提高處理效果,通過分選設備殼體內部的泥沙通過分層沉淀在沉降泥箱內部存儲,沉降泥箱內部設置有滑料坡,通過滑料坡可以將泥沙導入導泥筒附近,缺口可以將沉淀在沉降泥箱內部的泥沙引入導泥筒中,通過導泥筒進行導泥工作,導入微生物降解裝置內部進行微生物降解工作,分類后進行降解可以提高處理效果,減少微生物資源的浪費,節約成本,通過設置為兩面傾斜的多面體安裝板,通過傾斜的板面可以使泥沙在表面進行流動,隨重力的影響自動滑落,滑落的過程中,提高混合效果,通過氣泡發生器對泥沙發出氣泡,泥沙在微生物降解腔內部與微生物混合,使微生物充分進入泥沙內部進行降解工作,以提高降解效果。
2、本發明通過在導泥箱內部安裝第一螺旋送料機,收集后的固態落地油泥可以通過減速電機帶動第一螺旋送料機轉動進行輸送工作,從而可以對處理裝置進行上料工作根據需求調節減速電機,電動控制上油泥的速度,方便連續化工作,并且通過電動控制進水,以提高工作質量,便于調節工作,電動加藥器通過加熱設備、電磁閥和氣壓閥組成,可以電動控制藥劑和微生物液體的排出,方便適應不同的工作類型,電動控制以保證物料之間的數值平衡,以實現最佳的處理效果。
(發明人:黃金虎;劉愛軍;黃金峰)






