公布日:2024.03.26
申請日:2023.12.29
分類號:C02F3/30(2023.01)I;C02F101/30(2006.01)N;C02F101/16(2006.01)N;C02F101/10(2006.01)N
摘要
本發明涉及水處理領域,一體式改良型A2O生活污水處理裝置,包括罐體、厭氧區、缺氧Ⅰ區、缺氧Ⅱ區、好氧區、進水管組件、出水管和分隔柱、罐體,所述罐體為柱狀結構,所述厭氧區位于罐體的中部,厭氧區貫通罐體的上下底面,厭氧區底部設有進水管組件,厭氧區罐體在罐體的內部通過厭氧罐形成一個厭氧空腔,厭氧區上部設有溢流堰第二溢流堰,厭氧區頂部設有出氣口,所述分隔柱與厭氧區形成一個缺氧區,本發明采用多段進水方式,通過將部分進水輸送至缺氧Ⅱ區提供碳源,解決缺氧段碳源不足,需大量補充碳源的問題,對缺氧Ⅱ區殘留的NO3‑‑N進行反硝化處理,滿足脫氮排放標準,將好氧區泥水混合液回流至缺氧Ⅰ區,為反硝化提供充足的電子受體。

權利要求書
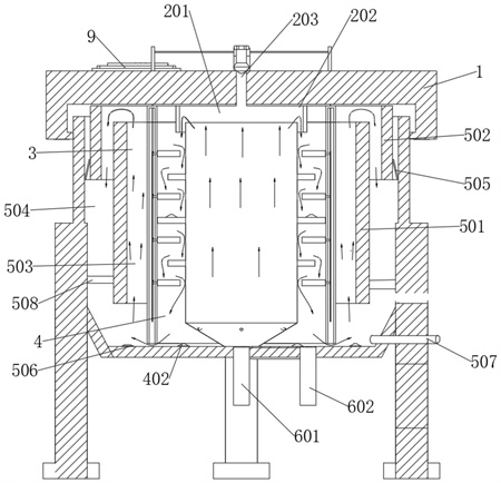
1.一種一體式改良型A2O生活污水處理裝置,其特征在于:包括罐體(1)、厭氧區(2)、缺氧Ⅰ區(3)、缺氧Ⅱ區(4)、好氧區(5)、進水管組件(6)、出水管(7)和分隔柱(12);罐體(1),所述罐體(1)為柱狀結構;厭氧區(2),所述厭氧區(2)位于罐體(1)的中部,厭氧區(2)貫通罐體(1)的上下底面,厭氧區(2)底部設有進水管組件(6),罐體(1)的內部通過厭氧罐(201)形成一個厭氧空腔,厭氧區(2)上部設有溢流堰第二溢流堰(202),厭氧區(2)頂部設有出氣口(203);分隔柱(12),所述分隔柱(12)與厭氧區(2)形成一個缺氧區,且所述厭氧區(2)的外壁中部與分隔柱(12)之間固定連接有隔板(14),所述隔板(14)將分隔柱(12)與厭氧區(2)行成的缺氧區分成缺氧Ⅰ區(3)和缺氧Ⅱ區(4),所述缺氧Ⅰ區(3)位于缺氧Ⅱ區(4)的上側、所述缺氧Ⅰ區(3)和缺氧Ⅱ區(4)均呈環狀分布,所述缺氧Ⅰ區(3)設有多個平行分布的第一導流板(301),所述缺氧Ⅱ區(4)設有多個平行分布的第二導流板(401),所述第一導流板(301)和第二導流板(401)用于改變廢水的運動軌跡,提升反應效率,所述缺氧Ⅰ區(3)和缺氧Ⅱ區(4)的底部均分別設有第一微孔曝氣器(302)和第二微孔曝氣器(402),所述第二微孔曝氣器(402)位于罐體(1)的底部,所述第一微孔曝氣器(302)和第二微孔曝氣器(402)用于維持缺氧區DO濃度控制在0.5mg/L以下;所述缺氧Ⅰ區(3)和厭氧罐(201)相連通;好氧區(5),所述好氧區(5)位于罐體(1)與分隔柱(12)之間的空腔,所述(5)與(12)之間設有水通道;驅動組件(15),所述驅動組件(15)位于罐體(1)的頂部,所述驅動組件(15)的下端貫穿罐體(1)至分隔柱(12)的內部。
2.根據權利要求1所述的一種一體式改良型A2O生活污水處理裝置,其特征在于:所述進水管組件(6)包括第一進水支管(601)和第二進水支管(602),所述第一進水支管(601)與厭氧罐(201)相連通,所述第二進水支管(602)與缺氧Ⅱ區(4)相連通用于配送部分進水,以充分利用缺氧Ⅰ區(3)殘留的NO3--N,發生反硝化反應,提高系統的脫氮效果。
3.根據權利要求2所述的一種一體式改良型A2O生活污水處理裝置,其特征在于:缺氧Ⅱ區(4)設有回流管道(403),所述回流管道(403)用于將缺氧Ⅱ區(4)中混合液回流至厭氧區(2),避免缺氧區中的NO3--N和過高的DO對厭氧區2釋磷的不良影響。
4.根據權利要求1所述的一種一體式改良型A2O生活污水處理裝置,其特征在于:所述好氧區(5)的內部設有第五導流板(501)和第三導流板(502),所述第三導流板(502)與罐體(1)之間固定連接有斜板分離器(505),所述第三導流板(502)的半徑大于第五導流板(501)的半徑,所述好氧區(5)包括曝氣區(503)和沉淀區(504),所述曝氣區(503)位于第五導流板(501)和分隔柱(12)之間,所述沉淀區(504)位于第三導流板(502)和罐體(1)之間,所述第五導流板(501)低于罐體(1)的高度且下端通過支撐桿(508)與罐體(1)固定連接,所述第三導流板(502)的上端與罐體(1)固定連接,所述罐體(1)的底部設有第三微孔曝氣器(506),所述沉淀區(504)與罐體(1)之間設有排泥管(507)用于排除污泥。
5.根據權利要求4所述的一種一體式改良型A2O生活污水處理裝置,其特征在于:所述罐體(1)外壁上部設有第一溢流堰(101),上清液由沉淀區(504)上部經第一溢流堰(101)排出后經出水管(7)流出,所述沉淀區(504)與罐體(1)之間設有排泥管(507),通過排泥管(507)將好氧區(5)的污泥回流至缺氧Ⅰ區(3),并將多余的剩余污泥排出。
6.根據權利要求1所述的一種一體式改良型A2O生活污水處理裝置,其特征在于:所述驅動組件(15)包括雙軸電機(1501),所述雙軸電機(1501)的兩側固定連接有主動軸(1502),兩個所述主動軸(1502)遠離雙軸電機(1501)的一端均貫穿固定箱(1503)的內部且固定連接有圓盤(1504),兩個所述圓盤(1504)遠離雙軸電機(1501)的一端均固定連接有限位桿(1506),兩個所述限位桿(1506)的均滑動連接有齒條(1505),所述雙軸電機(1501)設有與限位桿(1506)相配套的限位槽(15051),兩個所述齒條(1505)的下端均嚙合有一組齒輪(1508),多個所述齒輪(1508)靠近厭氧區(2)的一端均固定連接有固定桿(1507)。
7.根據權利要求6所述的一種一體式改良型A2O生活污水處理裝置,其特征在于:多個所述第一導流板(301)從上至下依次,且多個第一導流板(301)分別于分隔柱(12)和厭氧罐(201)依次固定連接,并以此分別于分隔柱(12)和厭氧罐(201)形成空隙用于漏出廢水,多個所述第二導流板(401)從上至下依次,且多個第二導流板(401)分別于分隔柱(12)和厭氧罐(201)依次固定連接,并以此分別于分隔柱(12)和厭氧罐(201)形成空隙用于漏出廢水,多個所述固定桿(1507)靠近厭氧罐(201)的一端均與分隔柱(12)相固定連接的第一導流板(301)和第二導流板(401)固定連接。
8.根據權利要求3所述的一種一體式改良型A2O生活污水處理裝置,其特征在于:所述隔板(14)的上端固定連接有第一微孔曝氣器(302),所述隔板(14)設有過流洞(303),所述缺氧Ⅰ區(3)和缺氧Ⅱ區(4)通過過流洞(303)相連通。
9.根據權利要求1所述的一種一體式改良型A2O生活污水處理裝置,其特征在于:厭氧罐(201)通過出氣口(203)與外界相連通,所述出氣口(203)的上方固定連接有弧形腔(205),所述弧形腔(205)的內部設有閥球(204),所述弧形腔(205)的上端設有擋板(206)。
10.根據權利要求1所述的一種一體式改良型A2O生活污水處理裝置,其特征在于:所述罐體(1)的下側固定連接有多個用于支撐的支撐柱(10),所述支撐柱(10)的下端均設有保護墊(11),所述罐體(1)的上方固定連接有控制器(9)。
發明內容
本部分的目的在于概述本發明的實施例的一些方面以及簡要介紹一些較佳實施例。在本部分以及本申請的說明書摘要和發明名稱中可能會做些簡化或省略以避免使本部分、說明書摘要和發明名稱的目的模糊,而這種簡化或省略不能用于限制本發明的范圍。
本專利提供一種一體式改良型A2O生活污水處理裝置,裝置具有投資低、能耗少、占地面積小、管理方便等優勢。
裝置采用多段進水和獨特的內循環方式實現深度脫氮除磷,并克服傳統的A2O工藝存在的碳源競爭、污泥齡矛盾、回流污泥硝酸鹽含量高影響除磷效率等缺陷,同時采用一體化結構,并結合導流結構設計,好氧區實現反應、沉淀、出水的一體化,省去了傳統A2O工藝的二沉池。
基于上述現有技術中的問題,本專利對傳統A2O工藝和裝置進行改良優化,發明一種一體式改良型A2O生活污水處理裝置,所采用的技術方案如下:
一種一體式改良型A2O生活污水處理裝置,包括罐體、厭氧區、缺氧Ⅰ區、缺氧Ⅱ區、好氧區、進水管組件、出水管和分隔柱;
罐體,所述罐體為柱狀結構;
厭氧區,所述厭氧區位于罐體的中部,厭氧區貫通罐體的上下底面,厭氧區底部設有進水管組件,罐體的內部通過厭氧罐形成一個厭氧空腔,厭氧區上部設有溢流堰第二溢流堰,厭氧區頂部設有出氣口;
分隔柱,所述分隔柱與厭氧區形成一個缺氧區,且所述厭氧區的外壁中部與分隔柱之間固定連接有隔板,所述隔板將分隔柱與厭氧區行成的缺氧區分成缺氧Ⅰ區和缺氧Ⅱ區,所述缺氧Ⅰ區位于缺氧Ⅱ區的上側、所述缺氧Ⅰ區和缺氧Ⅱ區均呈環狀分布,所述缺氧Ⅰ區設有多個平行分布的第一導流板,所述缺氧Ⅱ區設有多個平行分布的第二導流板,所述第一導流板和第二導流板用于改變廢水的運動軌跡,提升反應效率,所述缺氧Ⅰ區和缺氧Ⅱ區的底部均分別設有第一微孔曝氣器和第二微孔曝氣器,所述第二微孔曝氣器位于罐體的底部,所述第一微孔曝氣器和第二微孔曝氣器用于維持缺氧區DO濃度控制在0.5mg/L以下;所述缺氧Ⅰ區和厭氧罐相連通;
好氧區,所述好氧區位于罐體與分隔柱之間的空腔;
驅動組件,所述驅動組件位于罐體的頂部,所述驅動組件的下端貫穿罐體至分隔柱的內部。
進一步地,所述進水管組件包括第一進水支管和第二進水支管,所述第一進水支管與厭氧罐相連通,所述第二進水支管與缺氧Ⅱ區相連通用于配送部分進水,以充分利用缺氧Ⅰ區殘留的NO3--N,發生反硝化反應,提高系統的脫氮效果。
進一步的,所述缺氧Ⅱ區設有回流管道,所述回流管道用于將缺氧Ⅱ區中混合液回流至厭氧區,避免缺氧區中的NO3--N和過高的DO對厭氧區釋磷的不良影響。
進一步地,所述好氧區的內部設有第五導流板和第三導流板,所述第三導流板與罐體之間固定連接有斜板分離器,所述第三導流板的半徑大于第五導流板的半徑,所述好氧區包括曝氣區和沉淀區,所述曝氣區位于第五導流板和分隔柱之間,所述沉淀區位于第三導流板和罐體之間,所述第五導流板低于罐體的高度且下端通過支撐桿與罐體固定連接,所述第三導流板的上端與罐體固定連接,所述罐體的底部設有第三微孔曝氣器,所述沉淀區與罐體之間設有排泥管用于排除污泥。
進一步地,所述罐體外壁上部設有第一溢流堰,上清液由沉淀區上部經第一溢流堰排出后經出水管流出,所述沉淀區與罐體之間設有排泥管,通過排泥管將好氧區的污泥回流至缺氧Ⅰ區,并將多余的剩余污泥排出。
進一步地,所述驅動組件包括雙軸電機,所述雙軸電機的兩側固定連接有主動軸,兩個所述主動軸遠離雙軸電機的一端均貫穿固定箱的內部且固定連接有圓盤,兩個所述圓盤遠離雙軸電機的一端均固定連接有限位桿,兩個所述限位桿的均滑動連接有齒條,所述雙軸電機設有與限位桿相配套的限位槽,兩個所述齒條的下端均嚙合有一組齒輪,多個所述齒輪靠近厭氧區的一端均固定連接有固定桿。
進一步地,多個所述第一導流板從上至下依次,且多個第一導流板分別于分隔柱和厭氧罐依次固定連接,并以此分別于分隔柱和厭氧罐形成空隙用于漏出廢水,多個所述第二導流板從上至下依次,且多個第二導流板分別于分隔柱和厭氧罐依次固定連接,并以此分別于分隔柱和厭氧罐形成空隙用于漏出廢水,多個所述固定桿靠近厭氧罐的一端均與分隔柱相固定連接的第一導流板和第二導流板固定連接。
進一步地,所述隔板的上端固定連接有第一微孔曝氣器,所述隔板設有過流洞,所述缺氧Ⅰ區和缺氧Ⅱ區通過過流洞相連通。
進一步地,厭氧罐通過出氣口與外界相連通,所述出氣口的上方固定連接有弧形腔,所述弧形腔的內部設有閥球,所述弧形腔的上端設有擋板。
進一步地,所述罐體的下側固定連接有多個用于支撐的支撐柱,所述支撐柱的下端均設有保護墊,所述罐體的上方固定連接有控制器。
該裝置的工作原理為:廢水由第一進水管進入厭氧區,并與缺氧Ⅱ區回流的回流液混合后,在厭氧區通過厭氧微生物菌群的聯合作用,去除廢水中的大部分有機污染物,厭氧產生的沼氣通過厭氧區頂部的出氣口排出,同時,聚磷菌釋放磷,并吸收低級脂肪酸等易降解的有機物,出水通過厭氧區上部的第二溢流堰流出后進入缺氧Ⅰ區;在缺氧Ⅰ區中充分發生反硝化反應,將好氧區回流帶入的NO3--N通過生物反硝化作用,轉化成氮氣;之后廢水在重力作用下通過過水通道進入缺氧Ⅱ區,充分利用部分進水的碳源進一步去除缺氧Ⅰ區殘留的NO3--N,發生反硝化反應,進一步提高系統的脫氮效果,之后污水通過過水通道進入好氧區,好氧區底部的第三微孔曝氣為好氧區提供溶解氧和廢水循環流動的動力,在氣提作用和第五導流板的作用下做環流運動,與活性污泥充分混合,將廢水中的NH4+-N通過生物硝化作用,轉化成NO3--N,同時聚磷菌超量吸收磷,完成除磷,之后在沉淀區進行泥水分離,最終上清液由沉淀區上部經第一溢流堰排出后經出水管流出,多余污泥經排泥管排出。
與現有技術相比,本發明的有益效果是:
1、本發明采用多段進水方式,通過將部分進水輸送至缺氧Ⅱ區提供碳源,解決缺氧段碳源不足,需大量補充碳源的問題,對缺氧Ⅱ區殘留的NO3--N進行反硝化處理,滿足脫氮排放標準。
2、本發明通過將好氧區泥水混合液回流至缺氧Ⅰ區,為反硝化提供充足的電子受體。
3、本發明將缺氧Ⅱ區的泥水混合物回流至厭氧區,以降低回流液中的NO3--N和DO對厭氧環境的影響,保證厭氧充分釋磷,以提升除磷效果。
4、本發明通過導流結構的設計,有效提高了固、液、氣、三相的接觸反應,省去了常規好氧池的后端設置的二沉池,將生化反應區和污泥沉淀區整合,保證好氧反應器內始終可以保持較高的活性污泥濃度,且無需動力裝置實現了污泥回流。
5、本發明通過驅動組件,通過雙軸電機帶動主動軸進而帶動圓盤和限位桿轉動,進而帶動齒條上下移動,齒輪反復轉動,進而帶動第一導流板和第二導流板轉動,增加廢水在缺氧Ⅰ區和缺氧Ⅱ區的混合效率。
(發明人:張傳兵;郭麗娟;王慧芳;徐亞慧;湯友增;劉少甫;余義東;張旭東;韓亞飛;楚亞輝;李志恒;高德成)






