公布日:2023.09.05
申請日:2023.05.22
分類號:F23G7/00(2006.01)I;F23G5/027(2006.01)I;F23G5/44(2006.01)I;F23G5/46(2006.01)I
摘要
本發明提供一種多元含碳固廢預處理摻燒的裝置系統及方法,所述裝置系統包括鏈條爐、污泥干化裝置、污泥熱解裝置、生物干化裝置和生物質預燃裝置;所述污泥熱解裝置和生物質預燃裝置分別與鏈條爐相連;所述污泥干化裝置和污泥熱解裝置串聯設置;所述生物干化裝置和生物質預燃裝置串聯設置。本發明所述方法將污泥先干化處理再進行熱解,將熱解氣在鏈條爐爐膛中燃燒,減少直接摻燒污泥對爐膛溫度的影響;同時將生物質預燃后送入鏈條爐爐膛中部,有助于形成高溫燃燒火焰;而且進行合理的配風,促進低揮發分煤基燃料的燃燒燃盡,降低尾氣處理的復雜性,應用前景廣闊。

權利要求書
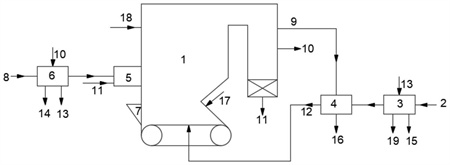
1.一種多元含碳固廢預處理摻燒的裝置系統,其特征在于,所述裝置系統包括鏈條爐、污泥干化裝置、污泥熱解裝置、生物干化裝置和生物質預燃裝置;所述污泥熱解裝置和生物質預燃裝置分別與鏈條爐相連;所述污泥干化裝置和污泥熱解裝置串聯設置;所述生物干化裝置和生物質預燃裝置串聯設置。
2.根據權利要求1所述的裝置系統,其特征在于,所述鏈條爐經第一煙氣管道與污泥熱解裝置相連;優選地,所述污泥熱解裝置經熱解氣管道與鏈條爐的底部相連;優選地,所述污泥熱解裝置與固化殘渣排出管道相連。
3.根據權利要求1或2所述的裝置系統,其特征在于,所述鏈條爐的頂部一側設置有燃盡風管道;優選地,所述鏈條爐的爐排上方設置有二次風管道;優選地,所述鏈條爐的一側設置有燃煤入口;優選地,所述鏈條爐的底部設置有助燃空氣管道。
4.根據權利要求1~3任一項所述的裝置系統,其特征在于,所述鏈條爐的煙道內設置有空氣預熱裝置;優選地,所述空氣預熱裝置與預熱空氣管道相連;優選地,所述鏈條爐的中部設置有第二煙氣管道;優選地,所述生物質預燃裝置設置在鏈條爐的中部。
5.根據權利要求1~4任一項所述的裝置系統,其特征在于,所述第二煙氣管道與生物干化裝置相連;優選地,所述生物干化裝置還分別與生物質輸送管道、第一水蒸氣管道和第三煙氣管道相連;優選地,所述預熱空氣管道與生物質預燃裝置相連。
6.根據權利要求1~5任一項所述的裝置系統,其特征在于,所述污泥干化裝置與第三煙氣管道相連;優選地,所述污泥干化裝置還分別與污泥輸送管道、第二水蒸氣管道和殘余煙氣管道相連。
7.一種多元含碳固廢預處理摻燒的方法,其特征在于,所述方法采用權利要求1~6任一項所述的多元含碳固廢預處理摻燒的裝置系統進行;所述方法包括:鏈條爐產生的第二煙氣進入生物干化裝置與生物質換熱后,變為第三煙氣進入污泥干化裝置將污泥干化后,變為殘余煙氣被排出;生物干化裝置內被干化的生物質依次進入生物質預燃裝置和鏈條爐,促進鏈條爐上的煤層引燃;污泥干化裝置內被干化的污泥進入污泥熱解裝置,與鏈條爐產生的第一煙氣接觸,產生熱解氣進入鏈條爐燃燒。
8.根據權利要求7所述的方法,其特征在于,燃煤經燃煤入口進入鏈條爐進行燃燒;優選地,所述生物質經生物質輸送管道進入生物干化裝置干化后,產生第一水蒸氣,經第一水蒸氣管道排出;優選地,所述鏈條爐的煙道內的空氣預熱裝置產生的預熱空氣經預熱空氣管道進入生物質預燃裝置進行氣化預燃;優選地,污泥經污泥輸送管道進入污泥干化裝置干化后,產生第二水蒸氣,經第二水蒸氣管道排出;優選地,所述被干化的污泥進入污泥熱解裝置產生的固化殘渣經固化殘渣排出管道排出。
9.根據權利要求7或8所述的方法,其特征在于,所述熱解氣與助燃空氣進入鏈條爐,在鏈條爐的煤層燃燒區域形成還原性氣氛;之后,在鏈條爐爐排上方經二次風管道吹入二次風,使得還原性氣氛中的可燃物質繼續燃燒,最后在鏈條爐頂部被經燃盡風管道輸送的燃盡風燃盡。
10.根據權利要求7~9任一項所述的方法,其特征在于,所述第一煙氣的溫度為450~600℃;優選地,所述第二煙氣的溫度為300~400℃;優選地,所述第三煙氣的溫度為150~250℃;優選地,所述預熱空氣的溫度為60~120℃。
發明內容
鑒于現有技術中存在的問題,本發明提供一種多元含碳固廢預處理摻燒的裝置系統及方法,將污泥先干化處理再進行熱解,將熱解氣在鏈條爐爐膛中燃燒,減少直接摻燒污泥對爐膛溫度的影響;同時將生物質預燃后送入鏈條爐爐膛中部,有助于形成高溫燃燒火焰;而且進行合理的配風,促進低揮發分煤基燃料的燃燒燃盡,降低尾氣處理的復雜性。
為達此目的,本發明采用以下技術方案:
第一方面,本發明提供一種多元含碳固廢預處理摻燒的裝置系統,所述裝置系統包括鏈條爐、污泥干化裝置、污泥熱解裝置、生物干化裝置和生物質預燃裝置;
所述污泥熱解裝置和生物質預燃裝置分別與鏈條爐相連;
所述污泥干化裝置和污泥熱解裝置串聯設置;
所述生物干化裝置和生物質預燃裝置串聯設置。
本發明所述的多元含碳固廢預處理摻燒的裝置系統利用鏈條爐的中高溫煙氣將污泥進行干化和熱解處理,解耦了污泥干化吸熱及燃燒放熱的過程。雖然污泥整體的放熱量不變,但是由于熱解過程富集了熱解氣,使得送入鏈條爐爐膛的燃料能量密度很高;而且單位質量的熱解氣能量是濕污泥的數十倍,將熱解氣送入爐膛不會影響爐溫,同時實現了大規模消納污泥的目的。本發明還利用生物質引燃容易,反應速率快的特點,在鏈條爐爐膛中間區域送入經過生物質預燃裝置預燃燃燒的生物質,在爐膛中部形成高溫火焰,增強對鏈條爐底部煤層的熱輻射,使得低揮發分的煤種引燃更容易,燃燒更充分。
優選地,所述鏈條爐經第一煙氣管道與污泥熱解裝置相連。
本發明中第一煙氣與生物間接接觸進行換熱,污泥吸收熱量發生熱解。
優選地,所述污泥熱解裝置經熱解氣管道與鏈條爐的底部相連。
優選地,所述污泥熱解裝置與固化殘渣排出管道相連。
優選地,所述鏈條爐的頂部一側設置有燃盡風管道。
優選地,所述鏈條爐的爐排上方設置有二次風管道。
優選地,所述鏈條爐的底部設置有助燃空氣管道。
本發明通過合理配置助燃空氣管道、二次風管道和燃盡風管道,在鏈條爐內形成還原性氣氛,降低了燃燒污染物生成。相較于現有技術中的鏈條爐僅設置一次風管道或在爐膛中部設置二次風管道的方案而言,鏈條爐的燃燒效率較高。
優選地,所述鏈條爐的一側設置有燃煤入口。
優選地,所述鏈條爐的煙道內設置有空氣預熱裝置。
優選地,所述空氣預熱裝置與預熱空氣管道相連。
優選地,所述鏈條爐的中部設置有第二煙氣管道。
優選地,所述生物質預燃裝置設置在鏈條爐的中部。
優選地,所述第二煙氣管道與生物干化裝置相連。
本發明中第二煙氣與生物間接接觸進行換熱。
優選地,所述生物干化裝置還分別與生物質輸送管道、第一水蒸氣管道和第三煙氣管道相連。
優選地,所述預熱空氣管道與生物質預燃裝置相連。
本發明中預熱空氣與干化后的生物質直接接觸,進行氣化預燃。
優選地,所述污泥干化裝置與第三煙氣管道相連。
本發明中第三煙氣與污泥間接接觸進行換熱。
優選地,所述污泥干化裝置還分別與污泥輸送管道、第二水蒸氣管道和殘余煙氣管道相連。
第二方面,本發明還提供一種多元含碳固廢預處理摻燒的方法,所述方法采用第一方面所述的多元含碳固廢預處理摻燒的裝置系統進行;所述方法包括:
鏈條爐產生的第二煙氣進入生物干化裝置與生物質換熱后,變為第三煙氣進入污泥干化裝置將污泥干化后,變為殘余煙氣被排出;
生物干化裝置內被干化的生物質依次進入生物質預燃裝置和鏈條爐,促進鏈條爐上的煤層引燃;
污泥干化裝置內被干化的污泥進入污泥熱解裝置,與鏈條爐產生的第一煙氣接觸,產生熱解氣進入鏈條爐燃燒。
本發明所述的多元含碳固廢預處理摻燒的方法中污泥經過干化和熱解處理,生物質經過預燃,有助于對重金屬、病原菌、持久性有機物的控制,避免在鏈條爐爐膛煙氣中生成過多污染物,降低尾氣處理的復雜性。本發明采用煙氣熱能梯級利用技術,有利于維持鏈條爐爐內燃料充分燃燒,提升了鍋爐燃燒效率,進而提升了整體能量利用效率。
優選地,燃煤經燃煤入口進入鏈條爐進行燃燒。
優選地,所述生物質經生物質輸送管道進入生物干化裝置干化后,產生第一水蒸氣,經第一水蒸氣管道排出。
優選地,所述鏈條爐的煙道內的空氣預熱裝置產生的預熱空氣經預熱空氣管道進入生物質預燃裝置進行氣化預燃。
優選地,污泥經污泥輸送管道進入污泥干化裝置干化后,產生第二水蒸氣,經第二水蒸氣管道排出。
優選地,所述被干化的污泥進入污泥熱解裝置產生的固化殘渣經固化殘渣排出管道排出。
優選地,所述熱解氣與助燃空氣進入鏈條爐,在鏈條爐的煤層燃燒區域形成還原性氣氛;之后,在鏈條爐爐排上方經二次風管道吹入二次風,使得還原性氣氛中的可燃物質繼續燃燒,最后在鏈條爐頂部被經燃盡風管道輸送的燃盡風燃盡。
優選地,所述第一煙氣的溫度為450~600℃,例如可以是450℃、480℃、500℃、550℃、570℃或600℃等,但并不僅限于所列舉的數值,該數值范圍內其他未列舉的數值同樣適用。
優選地,所述第二煙氣的溫度為300~400℃,例如可以是300℃、320℃、350℃、370℃、390℃或400℃等,但并不僅限于所列舉的數值,該數值范圍內其他未列舉的數值同樣適用。
優選地,所述第三煙氣的溫度為150~250℃,例如可以是150℃、190℃、200℃、220℃、240℃或250℃等,但并不僅限于所列舉的數值,該數值范圍內其他未列舉的數值同樣適用。
優選地,所述預熱空氣的溫度為60~120℃,例如可以是60℃、70℃、80℃、90℃、100℃或120℃等,但并不僅限于所列舉的數值,該數值范圍內其他未列舉的數值同樣適用。
作為本發明優選的技術方案,所述方法包括:
燃煤經燃煤入口進入鏈條爐進行燃燒,生物質經生物質輸送管道進入生物干化裝置干化,污泥經污泥輸送管道進入污泥干化裝置干化;
鏈條爐產生的溫度為300~400℃的第二煙氣進入生物干化裝置與生物質換熱后,變為溫度為150~250℃的第三煙氣進入污泥干化裝置將污泥干化后,變為殘余煙氣被排出;
生物干化裝置產生的第一水蒸氣,經第一水蒸氣管道排出;
污泥干化裝置產生的第二水蒸氣,經第二水蒸氣管道排出;
所述污泥干化裝置內被干化的污泥進入污泥熱解裝置,與鏈條爐產生的溫度為450~600℃的第一煙氣接觸,產生熱解氣經熱解氣管道進入鏈條爐,與助燃空氣共同燃燒;污泥熱解裝置產生的固化殘渣經固化殘渣排出管道排出;
生物干化裝置內被干化的生物質進入生物質預燃裝置,設置在鏈條爐的煙道內的空氣預熱裝置排出的溫度為60~120℃的預熱空氣經預熱空氣管道進入生物質預燃裝置,實現生物質氣化預燃,最后送入爐膛中部,促進鏈條爐上的煤層引燃。
與現有技術相比,本發明至少具有以下有益效果:
(1)本發明提供的多元含碳固廢預處理摻燒的裝置系統將污泥進行干化和熱解后生成熱解氣,在鏈條爐爐膛中燃燒熱解氣,對爐膛溫度沒有明顯的影響,有助于消納更多比例的污泥;生物質預燃后送入爐膛中部,有助于形成高溫燃燒火焰,加之合理的配風,促進低揮發分煤基燃料的燃燒燃盡;
(2)本發明提供的多元含碳固廢預處理摻燒的方法無需嚴格的控制污泥及生物質的含水率,降低了固體給料機構的復雜控制特性;
(3)本發明提供的多元含碳固廢預處理摻燒的方法在鏈條爐爐膛中燃燒熱解氣,相較于污泥直接燃燒,有助于對重金屬、病原菌、持久性有機物的控制,避免在爐膛煙氣中生成過多污染物,降低了尾氣處理的復雜性。
(發明人:劉向民;于旭;楊琨;嚴德亞;陳城;張濤;崇培安;王浩;卞伯明;朱曉磊;呂為智)






