公布日:2023.11.03
申請日:2023.08.18
分類號:B01F27/80(2022.01)I;B01F35/83(2022.01)I;B01F35/71(2022.01)I;B01F101/00(2022.01)N
摘要
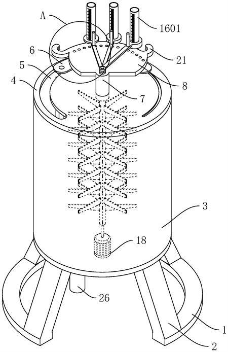
本申請提供了一種工業廢水處理用臭氧催化劑物料混合裝置,屬于工業廢水處理技術領域,包括底板,所述底板的上方固定連接有支架,所述支架的上方固定設置有外殼,所述外殼的上方轉動安裝有轉盤,所述轉盤的表面開設有通口,轉盤的上方滑動安裝有擋板,轉盤的中間固定設置有固定軸,固定軸上固定連接有固定板,所述固定板上固定連接有連接軸,所述連接軸的外側由下至上依次安裝有第一轉板、第二轉板和第三轉板,所述第一轉板、第二轉板和第三轉板遠離連接軸的一側固定連接有連接環,所述連接環的內部安裝有儲料筒。本申請不僅能夠在混料的同時調節加料次序,而且能夠調節該加料次序下的進料比例,還能夠適應不同稠度大小進行自動加料。

權利要求書
1.一種工業廢水處理用臭氧催化劑物料混合裝置,包括底板(1),其特征在于:所述底板(1)的上方固定連接有支架(2),所述支架(2)的上方固定設置有外殼(3),所述外殼(3)的上方轉動安裝有轉盤(4),外殼(3)上安裝有排料管(26),所述轉盤(4)的表面開設有通口(5),轉盤(4)的上方滑動安裝有擋板(6),轉盤(4)的中間固定設置有固定軸(7),固定軸(7)上固定連接有固定板(8),所述固定板(8)上固定連接有連接軸(9),所述連接軸(9)的外側由下至上依次安裝有第一轉板(10)、第二轉板(11)和第三轉板(12),所述第一轉板(10)、第二轉板(11)和第三轉板(12)遠離連接軸(9)的一側固定連接有連接環(15),所述連接環(15)的內部安裝有儲料筒(16),所述儲料筒(16)的內部安裝有銜接組件(17),所述外殼(3)的底部安裝有電機(18),所述電機(18)的輸出軸上固定連接有轉桿(19),所述轉桿(19)的外側安裝有攪拌組件(20),所述轉桿(19)和固定軸(7)之間為固定連接,所述擋板(6)的表面開設有排料孔(22),所述擋板(6)和轉盤(4)之間固定連接有松緊繩(23),所述擋板(6)的底面固定連接有銜接桿(24),所述銜接桿(24)上固定設置有阻力板(25);所述第一轉板(10)、第二轉板(11)和第三轉板(12)與連接軸(9)之間均為轉動連接,第二轉板(11)的上下表面與第三轉板(12)的下表面和第一轉板(10)的上表面之間互相貼合,所述第一轉板(10)的內部貫穿設置有卡桿(13),所述固定板(8)上開設有用于與卡桿(13)對接的對接槽(14);所述對接槽(14)在固定板(8)上等角度分布,所述儲料筒(16)和連接環(15)通過對接槽(14)和卡桿(13)與固定板(8)之間構成卡合結構。
2.根據權利要求1所述的一種工業廢水處理用臭氧催化劑物料混合裝置,其特征在于:所述底板(1)、支架(2)和外殼(3)為一個整體,所述支架(2)在底板(1)上等角度分布,所述底板(1)為前端設置有缺口的圓環體。
3.根據權利要求1所述的一種工業廢水處理用臭氧催化劑物料混合裝置,其特征在于:所述通口(5)和擋板(6)均為圓弧狀,通口(5)的寬度小于擋板(6)的寬度,所述擋板(6)、銜接桿(24)和阻力板(25)一體成型。
4.根據權利要求1所述的一種工業廢水處理用臭氧催化劑物料混合裝置,其特征在于:所述固定板(8)的左右兩側固定連接有擋桿(21),固定軸(7)、固定板(8)、連接軸(9)和擋桿(21)一體成型。
5.根據權利要求1所述的一種工業廢水處理用臭氧催化劑物料混合裝置,其特征在于:所述儲料筒(16)包括滑動安裝于所述連接環(15)中間的透明滑筒(1601),所述透明滑筒(1601)上固定連接有后置板(1602),所述后置板(1602)上開設有通孔(1603),所述通孔(1603)的內部貼合安裝有卡塊(1604),所述卡塊(1604)上固定設置有第一彈簧(1605),所述第一彈簧(1605)上固定連接有連接筒(1606),所述連接筒(1606)上固定設置有連接塊(1607),所述連接塊(1607)的上下兩側固定連接有銜接板(1608),所述透明滑筒(1601)的底部固定連接有密封墊(1609)。
6.根據權利要求5所述的一種工業廢水處理用臭氧催化劑物料混合裝置,其特征在于:所述通孔(1603)在后置板(1602)上等間距分布,所述連接筒(1606)、連接塊(1607)和銜接板(1608)通過通孔(1603)和卡塊(1604)與后置板(1602)之間構成卡合結構,所述銜接板(1608)和透明滑筒(1601)之間的連接方式為滑動連接。
7.根據權利要求5所述的一種工業廢水處理用臭氧催化劑物料混合裝置,其特征在于:所述銜接組件(17)包括固定安裝于銜接板(1608)上的內環(1701),所述內環(1701)上固定連接有阻尼套(1702),所述阻尼套(1702)的內部設置有蓋板(1703),所述蓋板(1703)的上方固定連接有連接桿(1704)。
8.根據權利要求1所述的一種工業廢水處理用臭氧催化劑物料混合裝置,其特征在于:所述攪拌組件(20)的四周固定連接有固定套(2001),所述固定套(2001)的內部滑動安裝有內板(2002),所述內板(2002)和固定套(2001)之間固定連接有第二彈簧(2003)。
發明內容
鑒于現有臭氧催化劑物料混合裝置中存在的問題,提出了本發明。
為解決上述技術問題,本發明提供了如下技術方案:一種工業廢水處理用臭氧催化劑物料混合裝置,包括底板,所述底板的上方固定連接有支架,所述支架的上方固定設置有外殼,所述外殼的上方轉動安裝有轉盤,外殼上安裝有排料管,所述轉盤的表面開設有通口,轉盤的上方滑動安裝有擋板,轉盤的中間固定設置有固定軸,固定軸上固定連接有固定板,所述固定板上固定連接有連接軸,所述連接軸的外側由下至上依次安裝有第一轉板、第二轉板和第三轉板,所述第一轉板、第二轉板和第三轉板遠離連接軸的一側固定連接有連接環,所述連接環的內部安裝有儲料筒,所述儲料筒的內部安裝有銜接組件,所述外殼的底部安裝有電機,所述電機的輸出軸上固定連接有轉桿,所述轉桿的外側安裝有攪拌組件,所述轉桿和固定軸之間為固定連接,所述擋板的表面開設有排料孔,所述擋板和轉盤之間固定連接有松緊繩,所述擋板的底面固定連接有銜接桿,所述銜接桿上固定設置有阻力板。
作為本發明的一種優先方案,所述底板、支架和外殼為一個整體,所述支架在底板上等角度分布,所述底板為前端設置有缺口的圓環體。
作為本發明的一種優先方案,所述通口和擋板均為圓弧狀,通口的寬度小于擋板的寬度,所述擋板、銜接桿和阻力板一體成型。
作為本發明的一種優先方案,所述固定板的左右兩側固定連接有擋桿,固定軸、固定板、連接軸和擋桿一體成型。
作為本發明的一種優先方案,所述第一轉板、第二轉板和第三轉板與連接軸之間均為轉動連接,第二轉板的上下表面與第三轉板的下表面和第一轉板的上表面之間互相貼合,所述第一轉板的內部貫穿設置有卡桿,所述固定板上開設有用于與卡桿對接的對接槽。
作為本發明的一種優先方案,所述對接槽在固定板上等角度分布,所述儲料筒和連接環通過對接槽和卡桿與固定板之間構成卡合結構。
作為本發明的一種優先方案,所述儲料筒包括滑動安裝于所述連接環中間的透明滑筒,所述透明滑筒上固定連接有后置板,所述后置板上開設有通孔,所述通孔的內部貼合安裝有卡塊,所述卡塊上固定設置有第一彈簧,所述第一彈簧上固定連接有連接筒,所述連接筒上固定設置有連接塊,所述連接塊的上下兩側固定連接有銜接板,所述透明滑筒的底部固定連接有密封墊。
作為本發明的一種優先方案,所述通孔在后置板上等間距分布,所述連接筒、連接塊和銜接板通過通孔和卡塊與后置板之間構成卡合結構,所述銜接板和透明滑筒之間的連接方式為滑動連接。
作為本發明的一種優先方案,所述銜接組件包括固定安裝于銜接板上的內環,所述內環上固定連接有阻尼套,所述阻尼套的內部設置有蓋板,所述蓋板的上方固定連接有連接桿。
作為本發明的一種優先方案,所述攪拌組件的四周固定連接有固定套,所述固定套的內部滑動安裝有內板,所述內板和固定套之間固定連接有第二彈簧。
與現有技術相比,本發明的有益效果是:
1、通過設置的第一轉板、第二轉板和第三轉板以及與之對應的三個儲料筒,工作人員可通過在三個儲料筒加入不同量的原料,從而使得裝置能夠在工作的過程中按照特定的比例加入催化劑原料,解決了現有的臭氧催化劑物料混合裝置不能夠對混料時的加料比例進行調節的缺陷,該裝置能夠根據不同的催化劑進行不同比例混料工作。
2、通過裝置上的連接軸和連接環,使得裝置能夠在工作的過程中對儲料筒和與之最靠近的排料孔的距離進行調節,從而改變進料的次序,解決了現有的混料裝置不能夠在調節比例后對混料時的加料次序進行調節,該裝置不僅能夠對不同原料的進料比例進行調節,也能夠對進料的次序進行調節,能夠調節混料時的加料次序以及該次序下的進料量,該裝置具有可調節程度更高的優勢。
3、通過裝置上的松緊繩、銜接桿和阻力板,使得裝置上的電機驅動轉桿轉動并帶動轉盤整體進行轉動,由于外殼內部物料具有一定稠度,在外殼內部物料的阻力作用下,擋板會在轉盤上滑動,此時轉盤在各個儲料筒的下方移動,實現自動進料的功能,該裝置能夠根據稠度大小自動進行加料或停止加料,具有功能性更強的優勢。
4、通過裝置上的攪拌組件,使得裝置能夠在攪拌速度增大時使得固定套內的內板離心力增大,從而使得內板能夠在離心力的作用下自動伸出,能夠在攪拌速度增加時自動提升攪拌范圍和攪拌效率。
(發明人:邴吉帥;劉紅;張亮;田靜)






