公布日:2023.10.13
申請日:2023.07.31
分類號:B30B11/14(2006.01)I;B30B15/00(2006.01)I;B30B15/30(2006.01)I;B30B9/02(2006.01)I
摘要
本發明公開了一種污泥資源化用污泥壓塊設備,包括支座,所述支座上端內部通過兩個動力轉軸轉動連接有多個壓制盒,且多個壓制盒之間通過鉸鏈相互連接,多個所述壓制盒連接處前后兩側均轉動連接有支撐輪,所述支座右端內部設置有轉運帶,且轉運帶位于多個壓制盒下端右側,所述支座上端左側固定連接有下料斗,且下料斗位于多個壓制盒上端外側,通過鉸鏈將多個壓制盒連接,并通過兩個動力轉軸使多個壓制盒進行轉動,同時在多個壓制盒上端設置進行同步轉動的多個壓板,并通過移位滾輪和滑面壓塊控制壓板的下壓和抽出,使得多個壓制盒和多個壓板能對污泥進行連續的壓制,從而使污泥能進行連續的制塊,中間不停頓,提高壓塊設備的壓制效率。

權利要求書
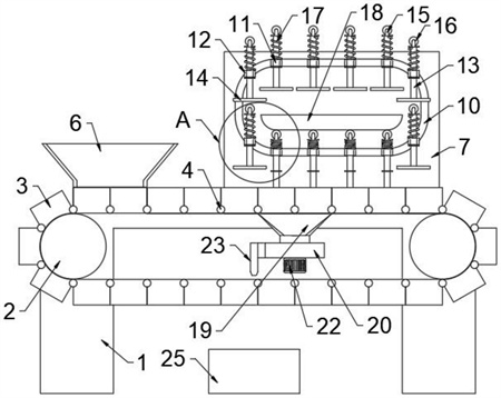
1.一種污泥資源化用污泥壓塊設備,其特征在于,包括支座(1),所述支座(1)上端內部通過兩個動力轉軸(2)轉動連接有多個壓制盒(3),且多個壓制盒(3)之間通過鉸鏈相互連接,多個所述壓制盒(3)連接處前后兩側均轉動連接有支撐輪(4),所述支座(1)右端內部設置有轉運帶(5),且轉運帶(5)位于多個壓制盒(3)下端右側,所述支座(1)上端左側固定連接有下料斗(6),且下料斗(6)位于多個壓制盒(3)上端外側,所述支座(1)上端右側固定連接有兩個同步轉動機構(7),且兩個同步轉動機構(7)分布在多個壓制盒(3)的前后兩側,多個所述壓制盒(3)底部均開設有多個透水孔(8),多個所述壓制盒(3)底部均固定連接有透水墊(9),兩個所述同步轉動機構(7)之間通過兩個同步軌道(10)轉動連接有多個同步壓軸(11),且兩個同步軌道(10)分別開設在兩個同步轉動機構(7)相鄰一端中心處外側,多個所述同步壓軸(11)中心處前后兩側均通過滑座(12)滑動連接有壓桿(13),位于同一個同步壓軸(11)內部的兩個所述壓桿(13)下端固定連接有壓板(14),多個所述壓桿(13)上端均通過滾輪座(15)轉動連接有移位滾輪(16),多個所述壓桿(13)上側均套接有回位彈簧(17),且多個回位彈簧(17)均位于同步壓軸(11)與滾輪座(15)之間,兩個所述同步轉動機構(7)之間均設置有滑面壓塊(18),且兩個滑面壓塊(18)分別位于兩個同步軌道(10)內部下側。
2.根據權利要求1所述的一種污泥資源化用污泥壓塊設備,其特征在于:所述支撐輪(4)能在支座(1)上端滾動,且與支座(1)之間設置有位于支座(1)左右兩端內部的輪槽。
3.根據權利要求1所述的一種污泥資源化用污泥壓塊設備,其特征在于:所述壓制盒(3)能在下料斗(6)下端內部滑動,且壓制盒(3)的上端外壁和前后兩端外壁能與下料斗(6)的內壁緊密貼合。
4.根據權利要求1所述的一種污泥資源化用污泥壓塊設備,其特征在于:所述同步壓軸(11)的轉動速度與壓制盒(3)的轉動速度相同,且同步壓軸(11)在左右水平方向的間隔與壓制盒(3)在左右水平方向的間隔相同。
5.根據權利要求1所述的一種污泥資源化用污泥壓塊設備,其特征在于:所述壓板(14)能在支座(1)上端順利插入和抽出壓制盒(3)內部,且壓板(14)的側壁能與壓制盒(3)的內壁緊密貼合。
6.根據權利要求1所述的一種污泥資源化用污泥壓塊設備,其特征在于:所述滑面壓塊(18)下端左右兩側棱邊均呈弧面設置,且移位滾輪(16)能通過弧面順利滾入滑面壓塊(18)下端,并通過滾輪座(15)和壓桿(13)對壓板(14)造成擠壓。
7.根據權利要求1所述的一種污泥資源化用污泥壓塊設備,其特征在于:所述壓桿(13)下側外部固定連接有限位環,且回位彈簧(17)通過滾輪座(15)向上推擠壓桿(13),并通過限位環限制壓桿(13)向上滑動的位置。
8.根據權利要求1所述的一種污泥資源化用污泥壓塊設備,其特征在于:所述支座(1)上端右側內部固定連接有抽吸罩(19),并位于多個壓制盒(3)之間,且抽吸罩(19)上端開口位于上側的壓制盒(3)下端,所述抽吸罩(19)下端連通有抽吸盒(20),所述抽吸盒(20)內部轉動連接有離心葉輪(21),所述離心葉輪(21)下端固定連接有電機(22),且電機(22)位于抽吸盒(20)下端中心處,并通過連接轉軸與離心葉輪(21)固定連接,所述抽吸盒(20)左端連通有導水管(23),且導水管(23)下端開設有清洗噴口(24),所述清洗噴口(24)下側設置有集水箱(25),且集水箱(25)位于多個壓制盒(3)下側,并位于支座(1)下端右側內部。
9.根據權利要求8所述的一種污泥資源化用污泥壓塊設備,其特征在于:所述抽吸罩(19)能通過多個透水孔(8)與壓制盒(3)內部連通,并能通過抽吸盒(20)和離心葉輪(21)對壓制盒(3)內部的水進行抽吸,且能通過導水管(23)和清洗噴口(24)將抽吸的水噴出。
10.根據權利要求8所述的一種污泥資源化用污泥壓塊設備,其特征在于:所述清洗噴口(24)能將水通過多個透水孔(8)噴到壓制盒(3)內部的透水墊(9)底部,并能透過透水墊(9)流入集水箱(25)內部。
發明內容
本發明的目的在于提供一種污泥資源化用污泥壓塊設備,以解決上述背景技術中提出的污泥壓塊設備因壓板和成型盒是直上直下壓制的,因此不能進行連續壓制,壓制效率低問題。
為了實現上述目的,本發明提供如下技術方案:一種污泥資源化用污泥壓塊設備,包括支座,所述支座上端內部通過兩個動力轉軸轉動連接有多個壓制盒,且多個壓制盒之間通過鉸鏈相互連接,多個所述壓制盒連接處前后兩側均轉動連接有支撐輪,所述支座右端內部設置有轉運帶,且轉運帶位于多個壓制盒下端右側,所述支座上端左側固定連接有下料斗,且下料斗位于多個壓制盒上端外側,所述支座上端右側固定連接有兩個同步轉動機構,且兩個同步轉動機構分布在多個壓制盒的前后兩側,多個所述壓制盒底部均開設有多個透水孔,多個所述壓制盒底部均固定連接有透水墊,兩個所述同步轉動機構之間通過兩個同步軌道轉動連接有多個同步壓軸,且兩個同步軌道分別開設在兩個同步轉動機構相鄰一端中心處外側,多個所述同步壓軸中心處前后兩側均通過滑座滑動連接有壓桿,位于同一個同步壓軸內部的兩個所述壓桿下端固定連接有壓板,多個所述壓桿上端均通過滾輪座轉動連接有移位滾輪,多個所述壓桿上側均套接有回位彈簧,且多個回位彈簧均位于同步壓軸與滾輪座之間,兩個所述同步轉動機構之間均設置有滑面壓塊,且兩個滑面壓塊分別位于兩個同步軌道內部下側。
優選的,所述支撐輪能在支座上端滾動,且與支座之間設置有位于支座左右兩端內部的輪槽。
優選的,所述壓制盒能在下料斗下端內部滑動,且壓制盒的上端外壁和前后兩端外壁能與下料斗的內壁緊密貼合。
優選的,所述同步壓軸的轉動速度與壓制盒的轉動速度相同,且同步壓軸在左右水平方向的間隔與壓制盒在左右水平方向的間隔相同。
優選的,所述壓板能在支座上端順利插入和抽出壓制盒內部,且壓板的側壁能與壓制盒的內壁緊密貼合。
優選的,所述滑面壓塊下端左右兩側棱邊均呈弧面設置,且移位滾輪能通過弧面順利滾入滑面壓塊下端,并通過滾輪座和壓桿對壓板造成擠壓。
優選的,所述壓桿下側外部固定連接有限位環,且回位彈簧通過滾輪座向上推擠壓桿,并通過限位環限制壓桿向上滑動的位置。
優選的,所述支座上端右側內部固定連接有抽吸罩,并位于多個壓制盒之間,且抽吸罩上端開口位于上側的壓制盒下端,所述抽吸罩下端連通有抽吸盒,所述抽吸盒內部轉動連接有離心葉輪,所述離心葉輪下端固定連接有電機,且電機位于抽吸盒下端中心處,并通過連接轉軸與離心葉輪固定連接,所述抽吸盒左端連通有導水管,且導水管下端開設有清洗噴口,所述清洗噴口下側設置有集水箱,且集水箱位于多個壓制盒下側,并位于支座下端右側內部。
優選的,所述抽吸罩能通過多個透水孔與壓制盒內部連通,并能通過抽吸盒和離心葉輪對壓制盒內部的水進行抽吸,且能通過導水管和清洗噴口將抽吸的水噴出。
優選的,所述清洗噴口能將水通過多個透水孔噴到壓制盒內部的透水墊底部,并能透過透水墊流入集水箱內部。
本發明的有益效果如下:
1、本發明通過鉸鏈將多個壓制盒連接,并通過兩個動力轉軸使多個壓制盒進行轉動,同時在多個壓制盒上端設置進行同步轉動的多個壓板,并通過移位滾輪和滑面壓塊控制壓板的下壓和抽出,使得多個壓制盒和多個壓板能對污泥進行連續的壓制,從而使污泥能進行連續的制塊,中間不停頓,提高壓塊設備的壓制效率。
2、本發明通過在被壓板擠壓的壓制盒下端設置抽吸罩、抽吸盒和離心葉輪,讓壓制盒內部的污泥在被擠壓過程中,能通過抽吸罩和抽吸盒的抽吸提高污泥中水分透過透水墊的速度,且能更徹底的將污泥中的水分抽出,既能提高污泥脫水的效率,又能使污泥塊更干燥,更容易成型。
3、本發明通過在抽吸盒左端下側設置導水管和清洗噴口,讓吸入抽吸罩和抽吸盒內部的水能在離心葉輪的作用下能通過導水管和清洗噴口向下噴出,并噴在下側壓制盒的底部,從而對壓制盒進行清洗,同時能通過壓制盒底部的多個透水孔對透水墊進行方向沖洗,既能使壓制盒保持清潔,又能防止污泥殘留在透水墊內部對透水墊造成堵塞,確保透水墊的透水性。
(發明人:何晶;白星廣;陳利娟;魏朋英)






