公布日:2023.11.07
申請日:2023.07.11
分類號:C02F1/00(2023.01)I;C02F1/66(2023.01)I;B01F27/90(2022.01)I;B01F27/191(2022.01)I;B01F27/1125(2022.01)I;B01F27/2122(2022.01)I;B01F27/213(2022.01)I;
C02F101/30(2006.01)N
摘要
本發明屬于廢水處理裝置領域,尤其是一種農藥生產廢水處理裝置,針對現有的過濾板很容易堵塞,中和劑與污水接觸不夠均勻,影響處理效果的問題,現提出如下方案,其包括中和箱,所述中和箱的一側固定安裝有過濾箱,中和箱的另一側固定安裝有藥劑箱,所述過濾箱和中和箱上固定連通有同一個連接管,所述過濾箱內固定安裝有過濾板,過濾板上設有多個過濾孔,所述過濾箱上設有疏通機構,所述中和箱的頂部開設有轉動孔,本發明通過一個電機的運轉,可以實現對農藥生產廢水的攪動、對中和劑的輸送和對過濾板的疏通,可以使得中和劑與農藥生產廢水接觸的更加均勻,對過濾孔進行疏通,避免堵塞,保持過濾效果。

權利要求書
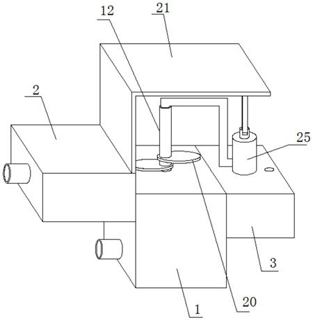
1.一種農藥生產廢水處理裝置,包括中和箱(1),其特征在于,所述中和箱(1)的一側固定安裝有過濾箱(2),中和箱(1)的另一側固定安裝有藥劑箱(3),所述過濾箱(2)和中和箱(1)上固定連通有同一個連接管(5),所述過濾箱(2)內固定安裝有過濾板(7),過濾板(7)上設有多個過濾孔(8),所述過濾箱(2)上設有疏通機構,所述中和箱(1)的頂部開設有轉動孔(40),轉動孔(40)內設有攪動桿(12),攪動桿(12)的外側固定安裝有多個攪動葉(13),多個攪動葉(13)均位于中和箱(1)內,所述攪動桿(12)的頂部開設有柱形槽(14),柱形槽(14)的內壁開設有多個橫孔(15),多個攪動葉(13)的一側均開設有凹槽(16),凹槽(16)的內壁開設有多個噴孔(17),柱形槽(14)通過橫孔(15)與凹槽(16)連通,所述藥劑箱(3)上設有藥劑輸送機構,藥劑輸送機構與攪動桿(12)配合,所述過濾箱(2)的頂部固定安裝有L形板(21),L形板(21)上設有轉動機構,轉動機構與攪動桿(12)配合,且L形板(21)上設有傳動機構,轉動機構通過傳動機構與藥劑輸送機構連接,中和箱(1)的一側固定連通有排污管(6),排污管(6)上設有閥門。
2.根據權利要求1所述的一種農藥生產廢水處理裝置,其特征在于,所述疏通機構包括滑動安裝于過濾箱(2)一側的兩個推拉板(9),兩個推拉板(9)的一側均延伸至過濾箱(2)內并固定安裝有承載板(10),兩個承載板(10)的一側均固定安裝有多個疏通桿(11),多個疏通桿(11)與多個過濾孔(8)配合,過濾箱(2)的另一側設有進水管(4)。
3.根據權利要求2所述的一種農藥生產廢水處理裝置,其特征在于,所述攪動桿(12)的外側固定套設有兩個凸輪(20),兩個凸輪(20)的外側分別與兩個推拉板(9)的另一側接觸,兩個推拉板(9)的頂部均固定安裝有復位板(18),復位板(18)的一側固定安裝有彈簧(19)的一端,彈簧(19)的另一端與過濾箱(2)的一側固定連接,過濾箱(2)的一側開設有兩個矩形橫孔(38),兩個推拉板(9)的外側分別與兩個矩形橫孔(8)的內壁滑動連接。
4.根據權利要求3所述的一種農藥生產廢水處理裝置,其特征在于,所述藥劑輸送機構包括固定安裝于藥劑箱(3)頂部的中空柱(25),中空柱(25)的底部固定連通有抽液管(26)的一端,抽液管(26)的另一端延伸至藥劑箱(3)內。
5.根據權利要求4所述的一種農藥生產廢水處理裝置,其特征在于,所述中空柱(25)上固定連通有輸送管(27),輸送管(27)的一端外側與柱形槽(14)的內壁接觸,抽液管(26)和輸送管(27)內均安裝有單向閥(28),位于抽液管(26)內的單向閥(28)的流向為從下至上,位于輸送管(27)內的單向閥(28)的流向為從右至左。
6.根據權利要求5所述的一種農藥生產廢水處理裝置,其特征在于,所述中空柱(25)內滑動安裝有活塞(29),活塞(29)的頂部固定安裝有升降桿(30),升降桿(30)的頂端延伸至中空柱(25)的上方。
7.根據權利要求6所述的一種農藥生產廢水處理裝置,其特征在于,所述轉動機構包括固定安裝于L形板(21)上的電機(22),電機(22)的輸出軸上固定安裝有第一錐齒輪(23),第一錐齒輪(23)上嚙合有第二錐齒輪(24),第二錐齒輪(24)固定套設于攪動桿(12)的外側。
8.根據權利要求7所述的一種農藥生產廢水處理裝置,其特征在于,所述傳動機構包括轉動安裝于L形板(21)上的傳動桿(31),傳動桿(31)的一端固定安裝有圓形板(32),傳動桿(31)與圓形板(32)同心,圓形板(32)的一端偏心轉動安裝有連接桿(33),連接桿(33)的一端與升降板(30)的頂端轉動連接。
9.根據權利要求8所述的一種農藥生產廢水處理裝置,其特征在于,所述傳動桿(31)的外側固定套設有從動齒輪(35),電機(22)的輸出軸上固定套設有主動齒輪(34),主動齒輪(34)與從動齒輪(35)嚙合。
10.根據權利要求9所述的一種農藥生產廢水處理裝置,其特征在于,所述藥劑箱(3)的頂部設有注液口(37),藥劑箱(3)的頂部固定安裝有支撐板(36),支撐板(36)上開設有兩個支撐孔,傳動桿(31)和輸送管(27)的外側與兩個支撐孔的內壁接觸,中和箱(1)的頂部固定安裝有軸承(39),軸承(39)的內圈與攪動桿(12)的外側固定連接。
發明內容
本發明的目的是為了解決現有技術中存在過濾板很容易堵塞,中和劑與污水接觸不夠均勻,影響處理效果的缺點,而提出的一種農藥生產廢水處理裝置。
為了實現上述目的,本發明采用了如下技術方案:
一種農藥生產廢水處理裝置,包括中和箱,所述中和箱的一側固定安裝有過濾箱,中和箱的另一側固定安裝有藥劑箱,所述過濾箱和中和箱上固定連通有同一個連接管,所述過濾箱內固定安裝有過濾板,過濾板上設有多個過濾孔,所述過濾箱上設有疏通機構,所述中和箱的頂部開設有轉動孔,轉動孔內設有攪動桿,攪動桿的外側固定安裝有多個攪動葉,多個攪動葉均位于中和箱內,所述攪動桿的頂部開設有柱形槽,柱形槽的內壁開設有多個橫孔,多個攪動葉的一側均開設有凹槽,凹槽的內壁開設有多個噴孔,柱形槽通過橫孔與凹槽連通,所述藥劑箱上設有藥劑輸送機構,藥劑輸送機構與攪動桿配合,所述過濾箱的頂部固定安裝有L形板,L形板上設有轉動機構,轉動機構與攪動桿配合,且L形板上設有傳動機構,轉動機構通過傳動機構與藥劑輸送機構連接,中和箱的一側固定連通有排污管,排污管上設有閥門,所述疏通機構包括滑動安裝于過濾箱一側的兩個推拉板,兩個推拉板的一側均延伸至過濾箱內并固定安裝有承載板,兩個承載板的一側均固定安裝有多個疏通桿,多個疏通桿與多個過濾孔配合,過濾箱的另一側設有進水管,所述攪動桿的外側固定套設有兩個凸輪,兩個凸輪的外側分別與兩個推拉板的另一側接觸,兩個推拉板的頂部均固定安裝有復位板,復位板的一側固定安裝有彈簧的一端,彈簧的另一端與過濾箱的一側固定連接,過濾箱的一側開設有兩個矩形橫孔,兩個推拉板的外側分別與兩個矩形橫孔的內壁滑動連接,所述藥劑輸送機構包括固定安裝于藥劑箱頂部的中空柱,中空柱的底部固定連通有抽液管的一端,抽液管的另一端延伸至藥劑箱內,所述中空柱上固定連通有輸送管,輸送管的一端外側與柱形槽的內壁接觸,抽液管和輸送管內均安裝有單向閥,位于抽液管內的單向閥的流向為從下至上,位于輸送管內的單向閥的流向為從右至左,所述中空柱內滑動安裝有活塞,活塞的頂部固定安裝有升降桿,升降桿的頂端延伸至中空柱的上方,所述轉動機構包括固定安裝于L形板上的電機,電機的輸出軸上固定安裝有第一錐齒輪,第一錐齒輪上嚙合有第二錐齒輪,第二錐齒輪固定套設于攪動桿的外側,所述傳動機構包括轉動安裝于L形板上的傳動桿,傳動桿的一端固定安裝有圓形板,傳動桿與圓形板同心,圓形板的一端偏心轉動安裝有連接桿,連接桿的一端與升降板的頂端轉動連接,所述傳動桿的外側固定套設有從動齒輪,電機的輸出軸上固定套設有主動齒輪,主動齒輪與從動齒輪嚙合,所述藥劑箱的頂部設有注液口,藥劑箱的頂部固定安裝有支撐板,支撐板上開設有兩個支撐孔,傳動桿和輸送管的外側與兩個支撐孔的內壁接觸,中和箱的頂部固定安裝有軸承,軸承的內圈與攪動桿的外側固定連接。
本發明中,所述一種農藥生產廢水處理裝置的有益效果:
農藥生產廢水從進水管進入過濾箱,通過過濾板對農藥生產廢水進行過濾,過濾后的農藥生產廢水從連接管進入中和箱內,通過電機帶動第一錐齒輪和主動齒輪轉動,第一錐齒輪帶動第二錐齒輪轉動,第二錐齒輪帶動攪動桿轉動,攪動桿帶動多個攪動葉轉動,對農藥生產廢水進行攪動;
通過抽液管對藥劑箱內的中和劑進行抽取,中和劑進入中空柱內,當活塞向下移動時,中和劑被擠入輸送管,再從輸送管進入柱形槽,從多個橫孔進入多個凹槽內,最后通過多個噴孔均勻噴出,使得中和劑與農藥生產廢水接觸的更加均勻;
通過攪動桿的轉動帶動兩個凸輪轉動,兩個凸輪轉動配合彈簧的復位會使得兩個推拉板水平往復移動,兩個推拉板交替運動,兩個推拉板帶動兩個承載板交替往復移動,從而使得疏通桿可以穿過過濾孔,對過濾孔進行疏通,避免堵塞,保持過濾效果;
本發明通過一個電機的運轉,可以實現對農藥生產廢水的攪動、對中和劑的輸送和對過濾板的疏通,可以使得中和劑與農藥生產廢水接觸的更加均勻,對過濾孔進行疏通,避免堵塞,保持過濾效果。
(發明人:楊金珠;黃天杰;鄭加茂;陳明朗)






