公布日:2023.11.10
申請日:2023.07.31
分類號:C02F1/52(2023.01)I;C02F7/00(2006.01)I;C02F103/10(2006.01)N
摘要
本發明涉及廢水處理技術領域,尤其涉及一種焦化廢水處理器,包括曝氣筒和沉淀箱,所述曝氣筒的頂部外壁設置有支撐柱,且沉淀箱設置于支撐柱的頂端,所述曝氣筒的頂部外壁設置有氣泵,且氣泵的導氣端設置有導氣管,所述導氣管的端部位于曝氣筒中,且導氣管的端部轉動設置有轉筒,所述轉筒的外側連通設置有等距離呈環形分布的排氣管,且排氣管的外側連通設置有等距離分布的噴頭,所述轉筒的底部外壁設置有轉球,所述沉淀箱的一側外壁貫穿固定設置有排污框,且排污框的端部設置有框蓋。本發明有效實現廢水的連續處理,且沉淀產生的沉淀物可以自動快速排出,同時在對廢水進行曝氣時可以使得曝氣更加充分,使用效果更佳。

權利要求書
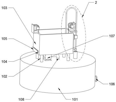
1.一種焦化廢水處理器,其特征在于,包括曝氣筒和沉淀箱,所述曝氣筒的頂部外壁設置有支撐柱,且沉淀箱設置于支撐柱的頂端,所述曝氣筒的頂部外壁設置有氣泵,且氣泵的導氣端設置有導氣管,所述導氣管的端部位于曝氣筒中,且導氣管的端部轉動設置有轉筒,所述轉筒的外側連通設置有等距離呈環形分布的排氣管,且排氣管的外側連通設置有等距離分布的噴頭,所述轉筒的底部外壁設置有轉球,所述沉淀箱的一側外壁貫穿固定設置有排污框,且排污框的端部設置有框蓋,所述曝氣筒的一側外壁連通設置有排水管,且排水管的端部設置有管蓋,所述曝氣筒的內壁設置有環斗,且環斗的開口朝下,所述環斗的頂部外壁開設有等距離呈環形分布的固定口,且固定口中固定設置有集氣筒,所述集氣筒的外壁連通設置有等距離呈環形分布的散氣管,且散氣管的外壁開設有等距離分布的氣孔,所述集氣筒的頂部外壁設置有連接桿,且連接桿的頂端和曝氣筒的頂部內壁相連接,所述轉筒的內壁設置有第一環板,所述導氣管的端部外側設置有第二環板,所述第一環板和第二環板的空隙處設置有橡膠圈,所述橡膠圈的頂部外壁設置有等距離呈環形分布的彈性件,且彈性件的端部和轉筒的頂部內壁相連接,還包括:輸水機構,所述輸水機構設置于沉淀箱上,用于將沉淀箱中的污水導入曝氣筒中;排污機構,所述排污機構設置于沉淀箱中,用于將沉淀箱中的沉淀物通過排污框排出。
2.根據權利要求1所述的一種焦化廢水處理器,其特征在于,所述輸水機構包括設置沉淀箱一側外壁的電動滑軌,所述電動滑軌中滑動設置有滑塊,所述滑塊的外壁設置有液泵,所述液泵的抽液端設置有抽水管,所述抽水管的形狀為U形,且抽水管的端部位于沉淀箱中,所述液泵的導液端設置有導水管,所述曝氣筒的頂部外壁貫穿固定設置有立管,且導水管的端部位于立管中。
3.根據權利要求2所述的一種焦化廢水處理器,其特征在于,所述抽水管和導水管的外側均套接有限位環,且限位環的外壁設置有固定桿,所述固定桿的端部和沉淀箱的外壁相連接。
4.根據權利要求2所述的一種焦化廢水處理器,其特征在于,所述排污機構包括活動設置于沉淀箱中的移動板,所述沉淀箱頂部外壁靠近兩側的位置均設置有安裝板,所述安裝板的一側內壁設置有固定架,所述固定架的一側外壁設置有驅動件,且驅動件的驅動端設置有輥筒,且輥筒轉動設置于固定架中,所述輥筒的外側繞接有牽引繩,且牽引繩的端部和移動板的外壁相連接,所述沉淀箱的內壁還設置有滑輪,且牽引繩滑動設置于滑輪的外側,所述移動板的底端開設有等距離分布的通口,且通口中設置有擋泥組件,用于移動板向排污框方向移動時擋泥組件可以將通口封閉,移動板向遠離排污框的方向移動時擋泥組件可以解除對通口的封閉。
5.根據權利要求4所述的一種焦化廢水處理器,其特征在于,所述擋泥組件包括活動設置于通口中的擋板,所述擋板的頂端設置有轉動板,所述轉動板的外壁開設有安裝孔,且安裝孔中轉動設置有限位桿,所述限位桿和移動板靠近排污框的一側外壁相連接。
6.根據權利要求4所述的一種焦化廢水處理器,其特征在于,所述電動滑軌、驅動件、氣泵和液泵均通過導線連接有開關,且開關電性連接有控制器。
發明內容
本發明的目的是為了解決現有技術中存在的缺陷,而提出的一種焦化廢水處理器。
為了實現上述目的,本發明采用了如下技術方案:
一種焦化廢水處理器,包括曝氣筒和沉淀箱,所述曝氣筒的頂部外壁設置有支撐柱,且沉淀箱設置于支撐柱的頂端,所述曝氣筒的頂部外壁設置有氣泵,且氣泵的導氣端設置有導氣管,所述導氣管的端部位于曝氣筒中,且導氣管的端部轉動設置有轉筒,所述轉筒的外側連通設置有等距離呈環形分布的排氣管,且排氣管的外側連通設置有等距離分布的噴頭,所述轉筒的底部外壁設置有轉球,所述沉淀箱的一側外壁貫穿固定設置有排污框,且排污框的端部設置有框蓋,所述曝氣筒的一側外壁連通設置有排水管,且排水管的端部設置有管蓋,還包括:
輸水機構,所述輸水機構設置于沉淀箱上,用于將沉淀箱中的污水導入曝氣筒中;
排污機構,所述排污機構設置于沉淀箱中,用于將沉淀箱中的沉淀物通過排污框排出。
作為本發明再進一步的方案:所述輸水機構包括設置沉淀箱一側外壁的電動滑軌,所述電動滑軌中滑動設置有滑塊,所述滑塊的外壁設置有液泵,所述液泵的抽液端設置有抽水管,所述抽水管的形狀為U形,且抽水管的端部位于沉淀箱中,所述液泵的導液端設置有導水管,所述曝氣筒的頂部外壁貫穿固定設置有立管,且導水管的端部位于立管中。
作為本發明再進一步的方案:所述抽水管和導水管的外側均套接有限位環,且限位環的外壁設置有固定桿,所述固定桿的端部和沉淀箱的外壁相連接。
作為本發明再進一步的方案:所述排污機構包括活動設置于沉淀箱中的移動板,所述沉淀箱頂部外壁靠近兩側的位置均設置有安裝板,所述安裝板的一側內壁設置有固定架,所述固定架的一側外壁設置有驅動件,且驅動件的驅動端設置有輥筒,且輥筒轉動設置于固定架中,所述輥筒的外側繞接有牽引繩,且牽引繩的端部和移動板的外壁相連接,所述沉淀箱的內壁還設置有滑輪,且牽引繩滑動設置于滑輪的外側,所述移動板的底端開設有等距離分布的通口,且通口中設置有擋泥組件,用于移動板向排污框方向移動時擋泥組件可以將通口封閉,移動板向遠離排污框的方向移動時擋泥組件可以解除對通口的封閉。
作為本發明再進一步的方案:所述擋泥組件包括活動設置于通口中的擋板,所述擋板的頂端設置有轉動板,所述轉動板的外壁開設有安裝孔,且安裝孔中轉動設置有限位桿,所述限位桿和移動板靠近排污框的一側外壁相連接。
作為本發明再進一步的方案:所述電動滑軌、驅動件、氣泵和液泵均通過導線連接有開關,且開關電性連接有控制器。
作為本發明再進一步的方案:所述曝氣筒的內壁設置有環斗,且環斗的開口朝下,所述環斗的頂部外壁開設有等距離呈環形分布的固定口,且固定口中固定設置有集氣筒,所述集氣筒的外壁連通設置有等距離呈環形分布的散氣管,且散氣管的外壁開設有等距離分布的氣孔,所述集氣筒的頂部外壁設置有連接桿,且連接桿的頂端和曝氣筒的頂部內壁相連接。
作為本發明再進一步的方案:所述轉筒的內壁設置有第一環板,所述導氣管的端部外側設置有第二環板,所述第一環板和第二環板的空隙處設置有橡膠圈,所述橡膠圈的頂部外壁設置有等距離呈環形分布的彈性件,且彈性件的端部和轉筒的頂部內壁相連接。
與現有技術相比,本發明的有益效果是:
本發明提供的一種焦化廢水處理器,需要處理的焦化廢水可以導入沉淀箱中,并加入絮凝劑,產生的沉淀物在靜置過程中會沉淀至沉淀箱中,當靜置沉淀完畢,可以通過輸水機構將沉淀物上層的污水導入曝氣筒中,然后可以通過氣泵工作,將外界空氣通過導氣管導入轉筒中,并通過排氣管上的噴頭排出,通過對廢水的曝氣作用,使得污染物的不溶性轉變為可溶性,且當氣體通過噴頭噴出時產生的動力可以帶動轉筒轉動,使得曝氣更加均勻,凈化后的廢水可以通過排水管排出,在曝氣過程中,可以在排污機構的作用下將沉淀物通過排污框排出,并添加新的焦化廢水進行沉淀處理,不會對廢水的曝氣過程造成影響,有效實現廢水的連續處理,使用效果更佳。
(發明人:譚長飛;孫利敏;甘新宇;楊瑞洪)






