公布日:2023.11.24
申請日:2023.09.11
分類號:C02F1/52(2023.01)I;C02F1/00(2023.01)I;B01F27/07(2022.01)I;B01D29/64(2006.01)I;B01D29/68(2006.01)I;C02F103/30(2006.01)N
摘要
本發明公開了一種噴織廢水處理回用設備,涉及噴織廢水處理技術領域,包括廢水處理箱,其特征在于:所述廢水處理箱的內部設置有攪拌機構,所述攪拌機構包括一號桿和二號桿,所述一號桿的底端貫穿且轉動連接在廢水處理箱的底部,所述二號桿轉動連接在一號桿的側壁,且二號桿通過齒輪齒條的配合進行傳動;本發明中,通過一號桿帶動二號桿進行轉動,并且在齒條與齒輪的配合作用下,使得同一個二號桿能夠攪拌到不同高度位置的廢水,增大了二號桿的攪拌范圍,從而使得往廢水處理箱的廢水中加入絮凝劑后,絮凝劑與廢水快速混合,避免出現絮凝劑混合不均勻的現象,從而使得內部的雜質絮凝沉降徹底,提高對廢水的凈化效果。

權利要求書
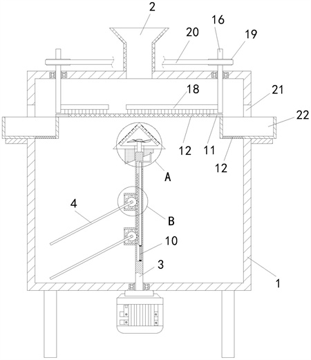
1.一種噴織廢水處理回用設備,包括廢水處理箱(1),其特征在于:所述廢水處理箱(1)的內部設置有攪拌機構,所述攪拌機構包括一號桿(3)和二號桿(4),所述一號桿(3)的底端貫穿且轉動連接在廢水處理箱(1)的底部,所述二號桿(4)轉動連接在一號桿(3)的側壁,且二號桿(4)通過齒輪(9)齒條(8)的配合進行傳動;所述齒條(8)滑動連接在一號桿(3)內部空腔內,所述齒輪(9)轉動連接在一號桿(3)內部空腔內,所述齒條(8)通過驅動件進行驅動。
2.根據權利要求1所述的一種噴織廢水處理回用設備,其特征在于,所述驅動件包括L形桿(7),所述L形桿(7)的一端固接在齒條(8)的頂部,另一端貫穿且滑動連接于在一號桿(3);所述廢水處理箱(1)的內壁固接有三角形塊(5),所述三角形塊(5)的底部固接有圓柱凸輪(6),所述一號桿(3)的頂端貫穿且轉動連接在圓柱凸輪(6)的中心位置處,所述L形桿(7)位于一號桿(3)外的一端滑動連接在圓柱凸輪(6)的底部,所述二號桿(4)的一端貫穿于一號桿(3)一側,且固接在齒輪(9)的轉軸上;所述齒條(8)的底部固接有彈簧(10),且所述彈簧(10)的底端固接在一號桿(3)內部空腔的底部。
3.根據權利要求1所述的一種噴織廢水處理回用設備,其特征在于,所述廢水處理箱(1)的內壁還固接有環形板(11),所述環形板(11)的內壁固接有過濾網(12),所述過濾網(12)位于三角形塊(5)的上方。
4.根據權利要求2所述的一種噴織廢水處理回用設備,其特征在于,所述三角形塊(5)內部開設有三角形槽(17),所述三角形塊(5)的頂部等距開設有多個排氣孔(13),且所述排氣孔(13)的開口處固接有防水透氣膜;所述一號桿(3)的頂端固接有轉桿(14),且轉桿(14)的頂端位于三角形槽(17)內,所述轉桿(14)的頂端固接有扇葉(15)。
5.根據權利要求3所述的一種噴織廢水處理回用設備,其特征在于,所述廢水處理箱(1)的頂部貫穿且轉動連接有兩個三號桿(16),兩個所述三號桿(16)對稱設置在廢水處理箱(1)的頂部,所述三號桿(16)的外壁固接有清理桿(18)。
6.根據權利要求5所述的一種噴織廢水處理回用設備,其特征在于,所述廢水處理箱(1)的兩側對稱開設有安裝槽(21),所述廢水處理箱(1)的外側壁在安裝槽(21)的底部位置處固接有支撐板,所述支撐板的上方放置有收集殼(22),且收集殼(22)位于環形板(11)的下方,所述收集殼(22)在靠近環形板(11)的一側開設有通槽,所述通槽內固接有過濾網(12)。
7.根據權利要求5所述的一種噴織廢水處理回用設備,其特征在于,兩個所述三號桿(16)的頂端均固接有帶輪(19),兩個所述三號桿(16)之間通過同步帶(20)進行傳動。
發明內容
本發明所解決的技術問題為:現有的噴織廢水處理回用設備,藥液噴灑頭將絮凝劑播散到沉淀池中后,絮凝劑與廢水混合的過程較慢,還是會出現絮凝劑混合不均勻的現象,造成絮凝沉降不夠徹底,導致對廢水的凈化效果不好。
本發明可以通過以下技術方案實現:一種噴織廢水處理回用設備,包括廢水處理箱,所述廢水處理箱的內部設置有攪拌機構,所述攪拌機構包括一號桿和二號桿,所述一號桿的底端貫穿且轉動連接在廢水處理箱的底部,所述二號桿轉動連接在一號桿的側壁,且二號桿通過齒輪齒條的配合進行傳動;所述齒條滑動連接在一號桿內部空腔內,所述齒輪轉動連接在一號桿內部空腔內,所述齒條通過驅動件進行驅動。
本發明的進一步技術改進在于:所述驅動件包括L形桿,所述L形桿的一端固接在齒條的頂部,另一端貫穿且滑動連接于在一號桿;所述廢水處理箱的內壁固接有三角形塊,所述三角形塊的底部固接有圓柱凸輪,所述一號桿的頂端貫穿且轉動連接在圓柱凸輪的中心位置處,所述L形桿位于一號桿外的一端滑動連接在圓柱凸輪的底部,所述二號桿的一端貫穿于一號桿一側,且固接在齒輪的轉軸上;所述齒條的底部固接有彈簧,且所述彈簧的底端固接在一號桿內部空腔的底部。
本發明的進一步技術改進在于:所述齒條的底部固接有彈簧,且所述彈簧的底端固接在空腔的底部。
本發明的進一步技術改進在于:所述廢水處理箱的內壁還固接有環形板,所述環形板的內壁固接有過濾網,所述過濾網位于三角形塊的上方。
本發明的進一步技術改進在于:所述三角形塊內部開設有三角形槽,所述三角形塊的頂部等距開設有多個排氣孔,且所述排氣孔的開口處固接有防水透氣膜;所述一號桿的頂端固接有轉桿,且轉桿的頂端位于三角形槽內,所述轉桿的頂端固接有扇葉。
本發明的進一步技術改進在于:所述廢水處理箱的頂部貫穿且轉動連接有兩個三號桿,兩個所述三號桿對稱設置在廢水處理箱的頂部,所述三號桿的外壁固接有清理桿。
本發明的進一步技術改進在于:所述廢水處理箱的兩側對稱開設有安裝槽,所述廢水處理箱的外側壁在安裝槽的底部位置處固接有支撐板,所述支撐板的上方放置有收集殼,且收集殼位于環形板的下方,所述收集殼在靠近環形板的一側開設有通槽,所述通槽內固接有過濾網。
本發明的進一步技術改進在于:兩個所述三號桿的頂端均固接有帶輪,兩個所述三號桿之間通過同步帶進行傳動。
與現有技術相比,本發明具備以下有益效果:
1、本發明中,通過一號桿帶動二號桿進行轉動,并且在齒條與齒輪的配合作用下,使得同一個二號桿能夠攪拌到不同高度位置的廢水,增大了二號桿的攪拌范圍,從而使得往廢水處理箱的廢水中加入絮凝劑后,絮凝劑與廢水快速混合,避免出現絮凝劑混合不均勻的現象,從而使得內部的雜質絮凝沉降徹底,提高對廢水的凈化效果。
2、本發明中,當一號桿轉動時,將使得一號桿帶動轉桿轉動,使得轉桿帶動扇葉快速轉動,進而使得扇葉產生風力,這些風透過排氣孔吹向過濾網,風力將以不同的方向吹向過濾網網孔,對過濾網網孔具有疏通作用,避免過濾網出現堵塞;通過使得兩個三號桿一起產生轉動,三號桿帶動清理桿轉動,通過清理桿將過濾網頂部的雜質清理出環形板的頂部,方便實現對過濾網頂部雜質的清理,保證過濾網的過濾效果。
(發明人:賀振洲;高毛林;程蒙;周洋洋)






