申請日2014.10.16
公開(公告)日2015.01.28
IPC分類號C10L5/46
摘要
本實用新型涉及污泥處理技術領域,具體為一種燃料污泥制備裝置,其結構簡單,使用成本低,能夠有效提高污泥焚燒爐的熱效率;其包括污泥干燥機,污泥干燥機開有進料口、出料口,污泥干燥機的進料口處設置污泥上料裝置,污泥干燥機的出料口處設置污泥出料裝置,其特征在于,污泥出料裝置的出料端處設置振動篩分機,振動篩分機的落料板出料處設置燃料污泥輸送裝置。
權利要求書
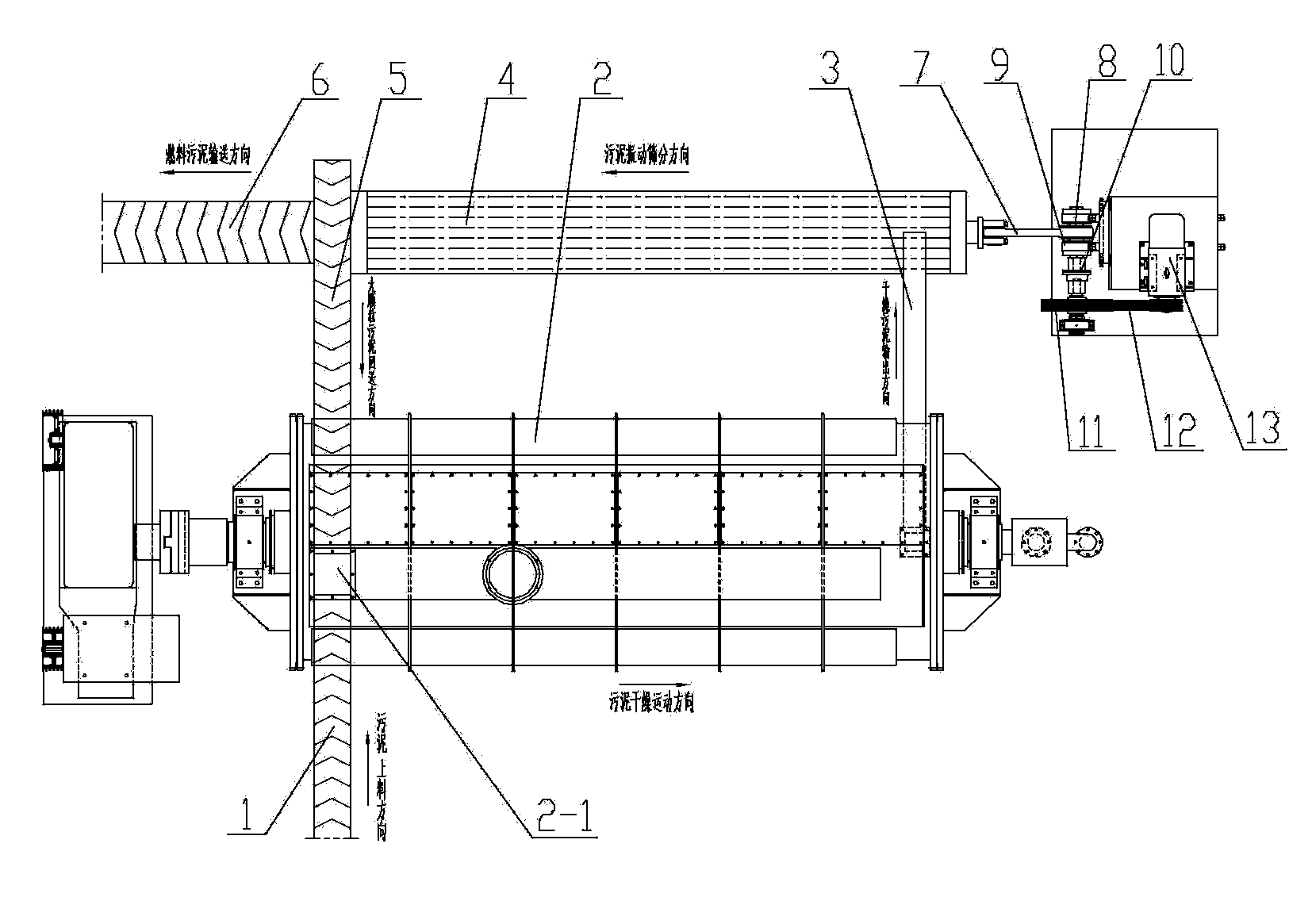
1.一種燃料污泥制備裝置,其包括污泥干燥機,所述污泥干燥機開有進料口、出料口,所述污泥干燥機的進料口處設置污泥上料裝置,所述污泥干燥機的出料口處設置污泥出料裝置,其特征在于,所述污泥出料裝置的出料端處設置振動篩分機,所述振動篩分機的落料板出料處設置燃料污泥輸送裝置。
2.根據權利要求1所述的一種燃料污泥制備裝置,其特征在于,所述振動篩分機的篩網層末端出料處設置污泥回收裝置,所述污泥回收裝置的出料端設置于所述污泥干燥機的進料口處。
3.根據權利要求1所述的一種燃料污泥制備裝置,其特征在于,所述污泥上料裝置、燃料污泥輸送裝置、污泥回收裝置均為皮帶輸送機。
4.根據權利要求1所述的一種燃料污泥制備裝置,其特征在于,所述污泥出料裝置為螺旋輸送機,所述螺旋輸送機的進料端固定連接所述污泥干燥機的出料口、出料端設置于所述振動篩分機上方。
5.根據權利要求1所述的一種燃料污泥制備裝置,其特征在于,所述污泥干燥機的進料口設置于所述污泥干燥機一側上端,所述污泥干燥機的出料口設置于所述污泥干燥機另一側下端。
6.根據權利要求1所述的一種燃料污泥制備裝置,其特征在于,所述振動篩分機一端通過連桿連接偏心軸,所述偏心軸安裝于軸承座,所述偏心軸一端通過聯軸器連接驅動輪,所述驅動輪通過皮帶連接電機。
說明書
燃料污泥制備裝置
技術領域
本實用新型涉及污泥處理技術領域,具體為一種燃料污泥制備裝置。
背景技術
城市污泥的處理方法主要由填埋、用于農作肥和焚燒。污泥焚燒處理具有其他處理方法所不具備的一些優點:污泥焚燒容量大,有機物熱分解徹底。
污泥焚燒處理方法中,脫水污泥直接焚燒系統簡單,設備初投資少,但一般需要消耗輔助燃料;而污泥干化焚燒增加了污泥干化系統,初投資增加,但可以有效回收污泥焚燒產生的熱量,降低運行成本。如果污泥的熱值可以維持甚至大于系統的熱平衡要求,鍋爐運行過程中不需要添加輔助燃料,甚或還有多余的熱量輸出。因此,隨著污泥干化焚燒技術的不斷發展,此技術已成為污泥處理的主要方式。
目前的污泥脫水主流技術為板框式機械液壓脫水,污泥脫水后呈厚度為2cm左右的大塊不規則餅狀結構,這些污泥塊首先要進入污泥破碎機進行破碎,將大塊結構破碎為邊長3~5cm左右的小顆粒結構,然后經皮帶輸送機送入污泥干燥機進行干燥。干燥后的污泥經斗式提升機或皮帶機送入污泥焚燒爐爐前料倉,并經料倉底部的螺旋輸送機送入污泥焚燒爐進行焚燒處理,焚燒后產生的熱量經導熱油或蒸汽反送入污泥干燥機作為后續污泥的干燥熱源。需要耗費大量電能,使用成本高,且較大顆粒污泥進入焚燒爐后由于流化不好而容易引起床料結焦阻塞出渣口,灰渣含碳量高使焚燒效率偏低,降低了焚燒爐的熱效率。
發明內容
為了解決上述問題,本實用新型提供了一種燃料污泥制備裝置,其結構簡單,使用成本低,能夠有效提高污泥焚燒爐的熱效率。
其技術方案是這樣的:一種燃料污泥制備裝置,其包括污泥干燥機,所述污泥干燥機開有進料口、出料口,所述污泥干燥機的進料口處設置污泥上料裝置,所述污泥干燥機的出料口處設置污泥出料裝置,其特征在于,所述污泥出料裝置的出料端處設置振動篩分機,所述振動篩分機的落料板出料處設置燃料污泥輸送裝置。
其進一步特征在于,所述振動篩分機的篩網層末端出料處設置污泥回收裝置,所述污泥回收裝置的出料端設置于所述污泥干燥機的進料口處;
所述污泥上料裝置、燃料污泥輸送裝置、污泥回收裝置均為皮帶輸送機;
所述污泥出料裝置為螺旋輸送機,所述螺旋輸送機的進料端固定連接所述污泥干燥機的出料口、出料端設置于所述振動篩分機上方;
所述污泥干燥機的進料口設置于所述污泥干燥機一側上端,所述污泥干燥機的出料口設置于所述污泥干燥機另一側下端;
所述振動篩分機一端通過連桿連接偏心軸,所述偏心軸安裝于軸承座,所述偏心軸一端通過聯軸器連接驅動輪,所述驅動輪通過皮帶連接電機。
采用本實用新型的裝置后,取消了脫水污泥破碎這個環節,由于污泥破碎機為機電式破碎系統,破碎機構由大功率電機帶動,工作時需要消耗大量的電能,取消此環節后可以節約大量的能源,相對應地,脫水污泥進入污泥干燥機后,受到污泥干燥機內盤片的熱傳導作用后水份開始析出,大塊污泥餅自然碎裂為小顆粒污泥,污泥干燥機用電功率并沒有太大的增加;另外增加了振動篩分機,該機構為一小電機帶動的振動輸送機構,與污泥破碎機相比,設備初始投資金額可以大大減小,污泥經振動篩分機的分離后,進入污泥焚燒爐的污泥顆粒度較均勻,減少了較大顆粒污泥進入焚燒爐后由于流化不好引起的床料結焦堵塞出渣口、以及灰渣含碳量升高引起的焚燒爐效率偏低的現象,提高了污泥焚燒爐的熱效率,同時也提高了污泥焚燒爐的可靠性。







