申請日2013.08.23
公開(公告)日2013.12.18
IPC分類號C02F3/02; C02F3/34
摘要
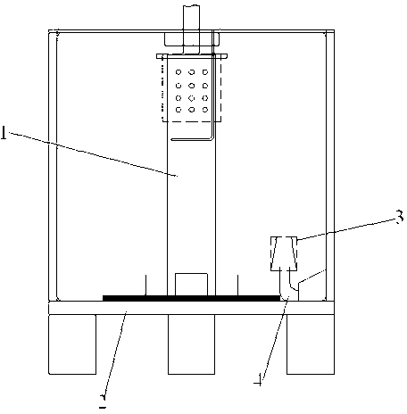
本發明公開了一種用于獲得高濃度酵母菌快速去除廢水COD的反應器,其特征在于,包括:多功能柱、反應器、過濾膜、出水管,所述多功能柱直接安插于所述反應器中并與所述反應器內部連通,所述過濾膜與所述出水管安裝于所述反應器底部,所述過濾膜包裹于所述出水管的第一端,所述出水管的第二端從反應器下端的出口處穿出。本發明能夠可直接用于任何反應容器中,控制方便,廢水處理高效,接種量每擴大10倍,達到相同廢水COD去除率的時間可縮短50%,處理時間縮短,系統運行穩定,出水水質穩定。
權利要求書
1.一種用于獲得高濃度酵母菌快速去除廢水COD的反應器,包括:多功能柱(1)、反應器(2)、過濾膜(3)、出水管(4),其特征在于,所述多功能柱(1)安插于所述反應器(2)中并與所述反應器(2)的內部連通,所述過濾膜(3)與所述出水管(4)安裝于所述反應器(2)底部,所述過濾膜(3)包裹于所述出水管(4)的第一端,所述出水管(4)的第二端從反應器(2)下端的出口處穿出。
2.根據權利要求1所述的用于獲得高濃度酵母菌快速去除廢水COD的反應器,其特征在于,所述多功能柱(1)上裝配有液位系統、溫控系統、進水系統、氣路系統和出水系統,集進水、曝氣、溫控、液位控制于一體,所述多功能柱(1)直接安插于所述反應器(2)中并交聯固定于所述反應器(2)表面。
3.根據權利要求1所述的用于獲得高濃度酵母菌快速去除廢水COD的反應器,其特征在于,所述的反應器(2)是適用于微生物培養、食品發酵或微生物水處理的生物反應器。
4.根據權利要求1所述的用于獲得高濃度酵母菌快速去除廢水COD的反應器,其特征在于,所述的過濾膜(3)的孔徑為1 μm。
5.根據權利要求1所述的用于獲得高濃度酵母菌快速去除廢水COD的反應器,其特征在于,所述的出水管(4)呈L型,位于所述反應器(2)的底部,所述出水管(4)的第一端開口朝上,所述第一端包裹于所述過濾膜(3)內部,所述出水管(4)的第二端在水平方向上從位于所述反應器(2)下端的所述出口處穿出。
6.根據權利要求1所述的用于獲得高濃度酵母菌快速去除廢水COD的反應器,其特征在于,所述過濾膜(3)與所述出水管(4)的材質皆為耐腐蝕材料。
7.根據權利要求6所述的用于獲得高濃度酵母菌快速去除廢水COD的反應器,其特征在于,所述過濾膜(3)的材料為PP、尼龍或PE,所述出水管(4)的材料為PP或亞克力。
說明書
一種用于獲得高濃度酵母菌快速去除廢水COD的反應器
技術領域
本發明涉及酵母菌廢水處理領域,具體涉及一種用于獲得高濃度酵母菌快速去除廢水COD的反應器。
背景技術
目前的廢水生物處理,水力停留時間一般均需要24-72 h甚至更長時間,在此期間需要維持溫度,對于好氧型微生物還需進行長時間曝氣以維持水中溶解氧(DO),需要大量能耗,此外,對于大流量廢水處理時往往需要進行土建構筑大型生物池,使得廢水生物處理成本與能耗居高不下。因此,對于如何大幅縮短水力停留時間以提高反應速率,節省能耗,降低成本始終是廢水生物處理亟待解決的問題。發明內容
本發明主要解決的技術問題是提供一種用于獲得高濃度酵母菌快速去除廢水COD的反應器,所有的反應過程在一個生物反應器中完成,廢水處理效率高,處理廢水的時間大幅縮短,系統運行穩定,出水水質穩定。
為解決上述技術問題,本發明采用的一個技術方案是:
提供一種用于獲得高濃度酵母菌快速去除廢水COD的反應器,包括:多功能柱、反應器、過濾膜、出水管,所述多功能柱安插于所述反應器中并與所述反應器的內部連通,所述過濾膜與所述出水管安裝于所述反應器底部,所述過濾膜包裹于所述出水管的第一端,所述出水管的第二端從反應器下端的出口處穿出。
在本發明一個較佳實施例中,所述的用于獲得高濃度酵母菌快速去除廢水COD的反應器中,所述多功能柱上裝配有液位系統、溫控系統、進水系統、氣路系統和出水系統,集進水、曝氣、溫控、液位控制于一體,所述多功能柱直接安插于所述反應器中并以交聯固定于所述反應器表面。
在本發明一個較佳實施例中,所述的用于獲得高濃度酵母菌快速去除廢水COD的反應器中所述的反應器是適用于微生物培養、食品發酵或微生物水處理的生物反應器。
在本發明一個較佳實施例中,所述的用于獲得高濃度酵母菌快速去除廢水COD的反應器中所述的過濾膜的孔徑為1 μm。
在本發明一個較佳實施例中,所述的用于獲得高濃度酵母菌快速去除廢水COD的反應器中所述的出水管呈L型,位于所述反應器的底部,所述出水管的第一端開口朝上,所述第一端包裹于所述過濾膜內部,所述出水管的第二端在水平向上從位于所述反應器下端的所述出口處穿出。
在本發明一個較佳實施例中,所述的用于獲得高濃度酵母菌快速去除廢水COD的反應器中所述過濾膜與所述出水管的材質皆為耐腐蝕材料。
在本發明一個較佳實施例中,所述的用于獲得高濃度酵母菌快速去除廢水COD的反應器中所述過濾膜的材料為PP、尼龍或PE,所述出水管的材料為PP或亞克力。
本發明的有益效果是:
本發明提供一種用于獲得高濃度酵母菌快速去除廢水COD的反應器。,所有反應過程在一個生物反應器中完成,包括多功能柱、反應器、過濾膜、出水管,適用于任何生物反應器,廢水處理高效,接種量每擴大10倍,達到相同廢水COD去除率的時間可縮短約50%,處理時間大幅縮短,系統運行穩定,出水水質穩定。







