申請日2016.05.26
公開(公告)日2016.07.27
IPC分類號C02F9/10
摘要
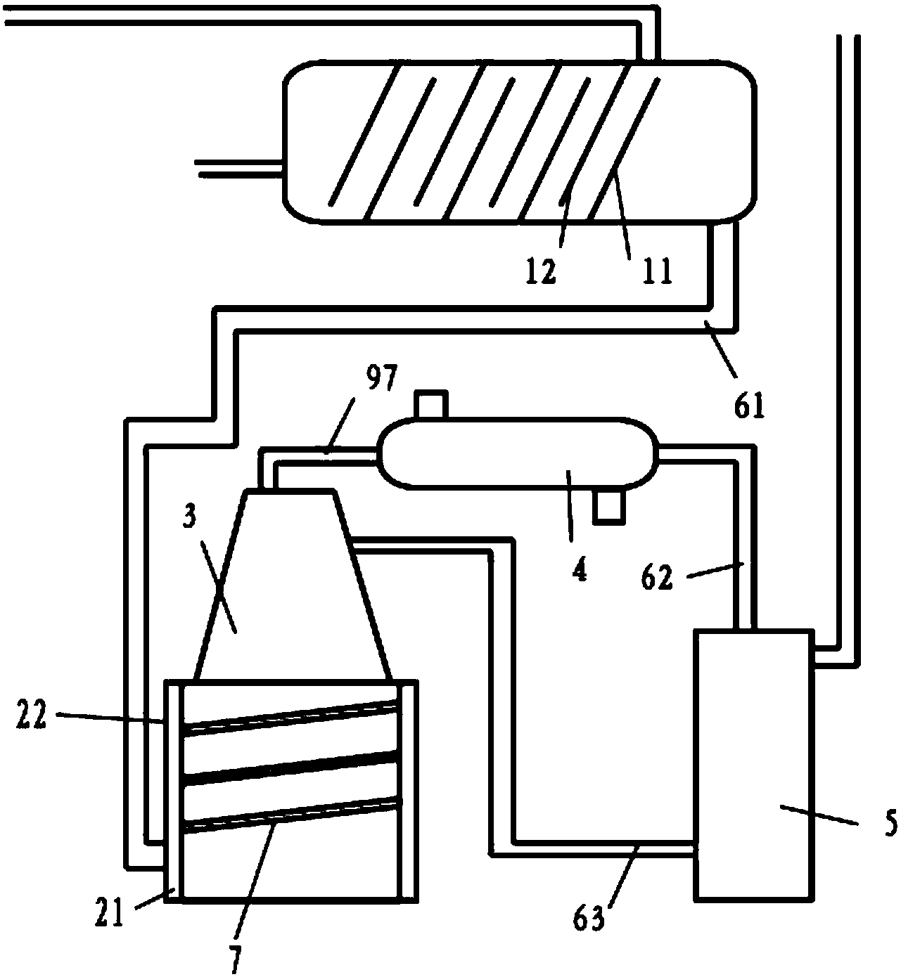
本發明公開一種生產鄰苯二甲酸二辛酯用廢水提料裝置,包括臥式分離罐、加熱罐、廢水塔、冷凝器、分液罐;所述臥式分離罐的前端設置進料口,所述臥式分離罐后端的頂部設置有回酯口,所述臥式分離罐后端的底部設置有廢水排出口;所述廢水排出口與加熱罐連通,所述加熱罐的頂部設置有廢水塔,所述廢水塔的頂部與所述冷凝器的進氣口連通,所述冷凝器的出液口與所述分液罐的上端連通;所述分液罐上開設有出水口、出醇口;所述出水口位于所述出醇口的下方。本發明具有有效回收產物、原料以及減少對環境的污染、降低后期水處理成本的優點。
摘要附圖
權利要求書
1.一種生產鄰苯二甲酸二辛酯用廢水提料裝置,其特征在于:包括臥式分離罐、加熱罐、廢水塔、冷凝器、分液罐;所述臥式分離罐的前端設置進料口,所述臥式分離罐后端的頂部設置有回酯口,所述臥式分離罐后端的底部設置有廢水排出口;
所述廢水排出口與加熱罐連通,所述加熱罐的頂部設置有廢水塔,所述廢水塔的頂部與所述冷凝器的進氣口連通,所述冷凝器的出液口與所述分液罐的上端連通;
所述分液罐上開設有出水口、出醇口;所述出水口位于所述出醇口的下方。
2.根據權利要求1所述的一種生產鄰苯二甲酸二辛酯用廢水提料裝置,其特征在于:所述臥式分離罐的內部空腔設置有若干塊第一隔板、第二隔板;
其中,所述第一隔板的頂部與所述臥式分離罐內頂壁密封,所述第一隔板的底部與所述臥式分離罐內底壁存在間隙;所述第一隔板的底部與所述臥式分離罐內底壁密封,所述第一隔板的頂部與所述臥式分離罐內頂壁存在間隙;
所述若干塊第一隔板、第二隔板沿水平方向從前至后依次間隔錯位設置。
3.根據權利要求1所述的一種生產鄰苯二甲酸二辛酯用廢水提料裝置,其特征在于:所述加熱罐的外壁設置有外蒸汽管。
4.根據權利要求3所述的一種生產鄰苯二甲酸二辛酯用廢水提料裝置,其特征在于:所述外蒸汽管以所述加熱罐為軸心自上而下或自下而上呈螺旋狀盤繞在所述加熱罐的外壁上。
說明書
一種生產鄰苯二甲酸二辛酯用廢水提料裝置
技術領域
本發明涉及鄰苯二甲酸二丁酯生產技術領域,尤其涉及一種生產鄰苯二甲酸二辛酯用廢水提料裝置。
背景技術
鄰苯二甲酸二辛酯是通用型增塑劑,主要用于聚氯乙烯脂的加工、還可用于化地樹脂、醋酸樹脂、ABS樹脂及橡膠等高聚物的加工,也可用于造漆、染料、分散劑等、DOP增塑的PVC可用于制造人造革、農用薄膜、包裝材料、電纜等。
除了乙酸纖維素、聚乙酸乙烯外,與絕大多數工業上使用的合成樹脂和橡膠均有良好的相容性。具有良好的綜合性能,混合性能好,增塑效率高,揮發性較低,低溫柔軟性較好,耐水抽出,電氣性能高,耐熱性和耐候性良好。
在暖通空調中,用于測試高效過濾器的過濾效率。因為對于高效過濾器,0.3um(微米)是穿透率最大的粒徑,因此用DOP來測試高效過濾器的過濾效率。
鄰苯二甲酸二丁酯的生產工藝:苯酐與醇在硫酸做催化劑加熱反應生產成粗制鄰苯二甲酸二丁酯,再經過中和、水洗、脫醇、壓濾得到精制鄰苯二甲酸二丁酯。
鄰苯二甲酸二丁酯在生產過程中會生產大量的廢水,廢水中含有部分醇、酯,如若不及時回收處理,一方面造成原料的浪費,另一方面污染環境。
發明內容
本發明針對現有技術的不足,提供一種有效回收產物、原料以及減少對環境的污染、降低后期水處理成本的鄰苯二甲酸二丁酯生產系統的廢水分離裝置。
本發明采用以下技術手段解決上述技術問題:一種生產鄰苯二甲酸二辛酯用廢水提料裝置,其特征在于:包括臥式分離罐、加熱罐、廢水塔、冷凝器、分液罐;所述臥式分離罐的前端設置進料口,所述臥式分離罐后端的頂部設置有回酯口,所述臥式分離罐后端的底部設置有廢水排出口;
所述廢水排出口與加熱罐連通,所述加熱罐的頂部設置有廢水塔,所述廢水塔的頂部與所述冷凝器的進氣口連通,所述冷凝器的出液口與所述分液罐的上端連通;
所述分液罐上開設有出水口、出醇口;所述出水口位于所述出醇口的下方。
優選地:所述臥式分離罐的內部空腔設置有若干塊第一隔板、第二隔板;
其中,所述第一隔板的頂部與所述臥式分離罐內頂壁密封,所述第一隔板的底部與所述臥式分離罐內底壁存在間隙;所述第一隔板的底部與所述臥式分離罐內底壁密封,所述第一隔板的頂部與所述臥式分離罐內頂壁存在間隙;
所述若干塊第一隔板、第二隔板沿水平方向從前至后依次間隔錯位設置。
優選地:所述加熱罐的外壁設置有外蒸汽管。
優選地:所述外蒸汽管以所述加熱罐為軸心自上而下或自下而上呈螺旋狀盤繞在所述加熱罐的外壁上。
本發明的優點在于:
(1)將生產中產生的廢水通過臥式分離罐的進料口流入臥式分離罐中,進行水、酯的分離,將分層后位于上層的酯通過提料泵的作用從回酯口抽出,供系統二次使用;下層的水從臥式分離罐后端底部的廢水排出口排出至加熱罐中。此時,水中含有一定濃度的醇,對加熱罐加熱至100度,醇、水溶液由液態變為氣態,通過廢水塔流入至冷凝器,在冷凝器的冷凝作用,氣態醇、水液化,流入至分液罐中;由于水的密度大于醇,水沉于下層,醇位于上層,由于水醇溶解需要一定的時間,當醇尚且溶或少量溶于水中時,對上層的醇抽出,供系統二次使用,從而實現有效回收產物、原料以及減少對環境的污染、降低后期水處理成本的技術效果。
(2)通過在臥式分離罐的內部空腔設置本發明的第一隔板、第二隔板,使得廢水呈蛇形狀在臥式分離罐流動,提高分層時間,實現動態分離、回收。
(3)第一隔板、第二隔板呈傾斜狀,進一步增加廢水在分離罐內的流動路徑,提高分層時間。
(4)在所述加熱罐的外壁設置有外蒸汽管且以釜體為軸心自上而下或自下而上呈螺旋狀盤繞在釜體的外壁上,通過向外蒸汽管注入熱蒸汽,利用熱傳導效應,更進一步提高釜體內部的溫度,提高熱化效果,提高醇水氣化效率。


