公布日:2023.10.20
申請日:2023.07.26
分類號:C02F1/00(2023.01)I;C02F1/44(2023.01)I;C02F9/00(2023.01)I;B01D36/00(2006.01)I;C02F103/20(2006.01)N
摘要
本申請涉及污水過濾裝置技術領域,公開了一種養豬場用具有自清洗功能的養殖污水過濾裝置,包括安裝架,所述安裝架一側安裝有泥沙分離機構,所述安裝架另一側安裝有大分子過濾機構,所述泥沙分離機構和所述大分子過濾機構之間通過四個支撐桿連接,所述泥沙分離機構頂部安裝有排沙機構,所述泥沙分離機構包括分離罐,所述分離罐內部固定連接有濾筒,所述分離罐底部中側固定連接有電機,所述電機輸出端固定連接有轉桿。通過泥沙分離機構、大分子過濾機構和排沙機構的配合,使得過濾裝置能夠快速便捷地對泥沙進行過濾篩除,并將過濾出的泥沙快速地排出裝置內部,同時能夠對污水進行二次的過濾,將污水內大分子有害物質濾除。

權利要求書
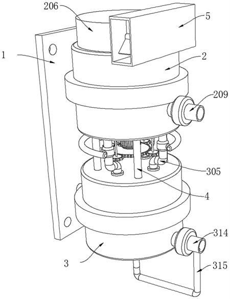
1.一種養豬場用具有自清洗功能的養殖污水過濾裝置,包括安裝架(1),其特征在于,所述安裝架(1)一側安裝有泥沙分離機構(2),所述安裝架(1)另一側安裝有大分子過濾機構(3),所述泥沙分離機構(2)和所述大分子過濾機構(3)之間通過四個支撐桿(4)連接,所述泥沙分離機構(2)頂部安裝有排沙機構(5);所述泥沙分離機構(2)包括分離罐(201),所述分離罐(201)內部固定連接有濾筒(202),所述分離罐(201)底部中側固定連接有電機(203),所述電機(203)輸出端固定連接有轉桿(204),所述轉桿(204)外周固定連接有螺旋葉片(205),所述分離罐(201)頂部邊緣固定連接有頂殼(206),所述分離罐(201)頂部中側固定連接有凸臺(207),所述轉桿(204)外周頂部固定連接有三個刮板(208),所述分離罐(201)一側固定連接有污水進口(209)。
2.根據權利要求1所述的一種養豬場用具有自清洗功能的養殖污水過濾裝置,其特征在于,所述螺旋葉片(205)外側和所述凸臺(207)內壁、所述濾筒(202)內壁貼合,所述刮板(208)底部和所述凸臺(207)外側、所述分離罐(201)頂部貼合。
3.根據權利要求1所述的一種養豬場用具有自清洗功能的養殖污水過濾裝置,其特征在于,所述污水進口(209)貫穿所述分離罐(201)并和所述濾筒(202)內部連通。
4.根據權利要求1所述的一種養豬場用具有自清洗功能的養殖污水過濾裝置,其特征在于,所述大分子過濾機構(3)包括過濾罐(301),所述過濾罐(301)頂部固定連接有四個連接頭(302),所述過濾罐(301)底部固定連接有四個閥門(303),所述連接頭(302)和所述閥門(303)之間固定連接有中空超濾膜(304),所述連接頭(302)頂部固定連接有進水管(305),所述進水管(305)外周安裝有三通閥(306),四個所述三通閥(306)外側之間安裝有連接管(307),所述過濾罐(301)內底壁固定連接有水泵(308),所述水泵(308)輸出端和所述連接管(307)之間通過輸送管(309)連通,所述進水管(305)內部一側轉動連接有傳動軸(310),所述傳動軸(310)外周一側固定連接有毛刷(311),所述傳動軸(310)外周另一側固定連接有從動齒輪(312),四個所述從動齒輪(312)之間嚙合連接有主動齒輪(313),所述過濾罐(301)一側固定連接有污水出口(314),四個所述閥門(303)和所述污水出口(314)之間通過合流管(315)連通。
5.根據權利要求1、4所述的一種養豬場用具有自清洗功能的養殖污水過濾裝置,其特征在于,所述主動齒輪(313)固定連接在所述電機(203)底部輸出端,所述傳動軸(310)頂端轉動連接在所述分離罐(201)底部。
6.根據權利要求4所述的一種養豬場用具有自清洗功能的養殖污水過濾裝置,其特征在于,所述毛刷(311)和所述中空超濾膜(304)內壁之間貼合,所述輸送管(309)外側貫穿所述過濾罐(301)。
7.根據權利要求1、4所述的一種養豬場用具有自清洗功能的養殖污水過濾裝置,其特征在于,所述污水進口(209)外側安裝有電磁閥,所述污水出口(314)外側安裝有電磁閥,所述支撐桿(4)一端固定連接在所述分離罐(201)底部邊緣,所述支撐桿(4)另一端固定連接在所述過濾罐(301)頂部邊緣。
8.根據權利要求1所述的一種養豬場用具有自清洗功能的養殖污水過濾裝置,其特征在于,所述排沙機構(5)包括輸送通道(501)和支架(505),所述輸送通道(501)內部轉動連接有多個轉輥(502),多個所述轉輥(502)外側之間通過皮帶(503)相連,所述皮帶(503)外側固定連接有多個推沙板(504),所述支架(505)底端轉動連接有蝸輪(506),所述蝸輪(506)外側嚙合連接有蝸桿(507),所述蝸輪(506)中部固定連接有連接軸(508),所述輸送通道(501)靠近所述凸臺(207)的一側開設有進料口(509)。
9.根據權利要求1、8所述的一種養豬場用具有自清洗功能的養殖污水過濾裝置,其特征在于,所述支架(505)固定連接在所述頂殼(206)內頂壁,所述蝸桿(507)一端固定連接在所述轉桿(204)頂端,所述蝸桿(507)頂端轉動連接在所述頂殼(206)內頂壁中側。
10.根據權利要求1、8所述的一種養豬場用具有自清洗功能的養殖污水過濾裝置,其特征在于,所述連接軸(508)一端貫穿所述輸送通道(501)并固定連接在其中一個所述轉輥(502)中部,所述頂殼(206)和所述輸送通道(501)之間通過所述進料口(509)連通。
發明內容
針對現有技術的不足,本發明提供了一種養豬場用具有自清洗功能的養殖污水過濾裝置,解決了養殖污水內的泥沙會導致過濾裝置堵塞,需要定期安排工人進行清理的問題。
為實現以上目的,本發明通過以下技術方案予以實現:一種養豬場用具有自清洗功能的養殖污水過濾裝置,包括安裝架,所述安裝架一側安裝有泥沙分離機構,所述安裝架另一側安裝有大分子過濾機構,所述泥沙分離機構和所述大分子過濾機構之間通過四個支撐桿連接,所述泥沙分離機構頂部安裝有排沙機構;
所述泥沙分離機構包括分離罐,所述分離罐內部固定連接有濾筒,所述分離罐底部中側固定連接有電機,所述電機輸出端固定連接有轉桿,所述轉桿外周固定連接有螺旋葉片,所述分離罐頂部邊緣固定連接有頂殼,所述分離罐頂部中側固定連接有凸臺,所述轉桿外周頂部固定連接有三個刮板,所述分離罐一側固定連接有污水進口。
優選的,所述螺旋葉片外側和所述凸臺內壁、所述濾筒內壁貼合,所述刮板底部和所述凸臺外側、所述分離罐頂部貼合。
優選地,所述污水進口貫穿所述分離罐并和所述濾筒內部連通。
優選的,所述大分子過濾機構包括過濾罐,所述過濾罐頂部固定連接有四個連接頭,所述過濾罐底部固定連接有四個閥門,所述連接頭和所述閥門之間固定連接有中空超濾膜,所述連接頭頂部固定連接有進水管,所述進水管外周安裝有三通閥,四個所述三通閥外側之間安裝有連接管,所述過濾罐內底壁固定連接有水泵,所述水泵輸出端和所述連接管之間通過輸送管連通,所述進水管內部一側轉動連接有傳動軸,所述傳動軸外周一側固定連接有毛刷,所述傳動軸外周另一側固定連接有從動齒輪,四個所述從動齒輪之間嚙合連接有主動齒輪,所述過濾罐一側固定連接有污水出口,四個所述閥門和所述污水出口之間通過合流管連通。
優選的,所述主動齒輪固定連接在所述電機底部輸出端,所述傳動軸頂端轉動連接在所述分離罐底部。
優選的,所述毛刷和所述中空超濾膜內壁之間貼合,所述輸送管外側貫穿所述過濾罐。
優選的,所述污水進口外側安裝有電磁閥,所述污水出口外側安裝有電磁閥,所述支撐桿一端固定連接在所述分離罐底部邊緣,所述支撐桿另一端固定連接在所述過濾罐頂部邊緣。
優選的,所述排沙機構包括輸送通道和支架,所述輸送通道內部轉動連接有多個轉輥,多個所述轉輥外側之間通過皮帶相連,所述皮帶外側固定連接有多個推沙板,所述支架底端轉動連接有蝸輪,所述蝸輪外側嚙合連接有蝸桿,所述蝸輪中部固定連接有連接軸,所述輸送通道靠近所述凸臺的一側開設有進料口。
優選的,所述支架固定連接在所述頂殼內頂壁,所述蝸桿一端固定連接在所述轉桿頂端,所述蝸桿頂端轉動連接在所述頂殼內頂壁中側。
優選的,所述連接軸一端貫穿所述輸送通道并固定連接在其中一個所述轉輥中部,所述頂殼和所述輸送通道之間通過所述進料口連通。
工作原理:打開污水進口上的電磁閥,養殖污水順著污水進口進入濾筒內部,此時污水內的泥沙會被濾筒過濾留在濾筒內部,而污水直接進入分離罐內部,此時電機啟動帶動轉桿轉動,使得螺旋葉片轉動將濾筒內部攔截的泥沙不斷地向上輸送,直至泥沙從凸臺中部的通孔排出,并順著凸臺的斜坡滑落至分離罐頂部,同時隨著轉桿轉動其頂部的三個刮板也會隨著轉動,將落在分離罐頂部的泥沙刮動,通過離心力的作用使得泥沙貼著頂殼的內壁移動,并且隨著轉桿的轉動其頂端的蝸桿也會隨著帶動蝸輪轉動,通過蝸輪轉動帶動連接軸轉動,從而使得其中一個轉輥轉動,進而使得皮帶通過多個轉輥的配合實現運行,繼而使得皮帶外側的多個推沙板能夠運轉,此時經過進料口處的泥沙在離心力的作用下直接進入輸送通道內部,并被運轉的推沙板刮動至輸送通道內部,在輸送通道內部輸送,隨后進入和輸送通道端部連接地收集設備內暫存等待后續在處理,之后分離罐內部的污水通過進水管和連接頭的配合進入中空超濾膜內部,此時閥門處于關閉狀態,中空超濾膜內部的污水經過中空超濾膜的過濾將內部的大分子有害物質攔截在其內部,經過雙重過濾之后的污水最終穿過中空超濾膜進入過濾罐內部,并隨著污水出口上的電磁閥開啟,將過濾后的污水排入污水處理設備內,當養殖污水過濾完畢后,此時啟動水泵、三通閥和閥門,水泵將過濾罐內部二次過濾之后的中水順著輸送管排入連接管內部,隨后中水順著三通閥進入進水管內部,由于此時進水管至分離罐一段被三通閥封閉,中水會順著進水管下移進入中空超濾膜內部,并且此時隨著電機的啟動主動齒輪會帶動四個從動齒輪同步的轉動,使得傳動軸帶動毛刷轉動將中空超濾膜內壁附著的大分子物質清掃脫落,掃落的大分子物質被進入的中水裹挾從閥門進入合流管內部,保證中空超濾膜能夠重復多次的使用,進一步的提高裝置的過濾效果,最后混合著大分子物質的清洗污水流入污水出口管道內,并通過和污水出口相連的另一組管道進入處理池內,等待加藥無害化處理。
本發明提供了一種養豬場用具有自清洗功能的養殖污水過濾裝置。具備以下有益效果:
本發明通過泥沙分離機構、大分子過濾機構和排沙機構的配合,使得養豬場養殖污水過濾裝置能夠快速便捷的對泥沙進行過濾篩除,并將過濾出的泥沙快速地排出裝置內部,提高過濾效果的同時,極大的降低了勞動力的投入,并且能夠避免泥沙堵塞裝置,同時能夠對污水進行二次的過濾,將污水內大分子有害物質濾除,減少后續污水處理的流程程序,能夠重復多次的使用,降低裝置成本的投入并進一步地提高裝置的過濾效果。
(發明人:曾正)






