公布日:2023.12.12
申請日:2023.09.08
分類號:B01D29/03(2006.01)I;B01D29/82(2006.01)I;B01D29/64(2006.01)I;B01D29/94(2006.01)I
摘要
本發明提供了一種含鈷廢水處理設備,屬于廢水處理技術領域,包括處理箱和篩網;處理箱的頂部具有進料口,底部具有出液口;進料口用于與過濾裝置的出渣口連通,出液口通過管道與濃縮裝置連通,與出液口連通的管道上設有水泵,用于將廢液抽入至濃縮裝置內;篩網設置在處理箱內;篩網將處理箱分隔為進料腔和儲液腔,進料口和出液口分別位于進料腔和儲液腔上;篩網用于阻隔沉淀物,并用于廢水穿過,以分離沉淀物和廢水。通過本申請上述設置,能夠使沉淀物與廢水分離,因此便于對沉淀物進行收集,同時也能夠對分離后的廢水進行回收利用。

權利要求書
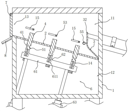
1.一種含鈷廢水處理設備,其特征在于,包括:處理箱,頂部具有進料口,底部具有出液口;所述進料口用于與過濾裝置的出渣口連通,所述出液口用于與濃縮裝置連通;以及篩網,設置在所述處理箱內;所述篩網將所述處理箱分隔為進料腔和儲液腔,所述進料口和所述出液口分別位于所述進料腔和所述儲液腔上;所述篩網用于阻隔沉淀物,并用于廢水穿過,以分離沉淀物和廢水;其中,所述篩網傾斜設置,所述處理箱于所述篩網的高端位置具有出料口;所述進料腔內設有刮板,所述刮板的底端與所述篩網的上表面接觸,且所述刮板的下表面與所述篩網的上表面呈銳角,并形成刮料區域;所述刮板具有沿所述篩網低端向所述篩網高端滑動的自由度;在所述刮板由所述篩網低端向所述篩網高端滑動時,所述刮板能夠按壓刮料區域的沉淀物,以使廢水脫離沉淀物。
2.如權利要求1所述的一種含鈷廢水處理設備,其特征在于,所述篩網上具有上下貫通的避讓槽,含鈷廢水處理設備還包括:擋板,滑動設置在所述避讓槽內;所述擋板的上表面具有凸出于所述篩網上表面的第一狀態,以及與所述篩網上表面共面的第二狀態;驅動機構,設置在所述處理箱上,所述驅動機構用于驅動所述擋板滑動;其中,所述擋板、所述刮板以及所述篩網上表面之間為刮料區域;在所述刮板向上滑動時,在所述擋板的阻擋作用下,所述刮板能夠擠壓所述刮料區域的沉淀物;在所述刮板向上滑動預設距離時,所述驅動機構驅動所述擋板滑至第二狀態,以使刮板和沉淀物跨域所述擋板處的避讓槽。
3.如權利要求2所述的一種含鈷廢水處理設備,其特征在于,所述擋板為若干個,若干所述擋板沿所述篩網低端至所述篩網高端間隔設置。
4.如權利要求2所述的一種含鈷廢水處理設備,其特征在于,所述儲液腔的側壁上具有滑道,所述進料腔的側壁上具有與所述篩網平行設置的滑槽;所述滑槽靠近所述篩網低端的位置為第一連接口,所述滑道靠近其底部的位置具有第二連接口;所述處理箱的側壁內部具有連通第一連接口和所述第二連接口的通道;所述驅動機構包括:滑動部,連接在所述擋板的底部,并與所述滑道滑動配合;彈性件,一端連接在所述滑道的底部,另一端連接在所述滑動部上;連接部,滑動設置在所述滑槽內;連接繩,位于所述通道內;所述連接繩的一端穿過所述第一連接口,并與所述連接部連接;所述連接繩的另一端穿過第二連接口,并與所述滑動部連接;以及連接結構,設置在所述刮板上;所述連接結構具有與所述連接部連接或分離的連接端;其中,所述連接結構的連接端用于與低處的連接部連接,在連接部跟隨所述連接結構滑動至高處時,所述連接結構的連接端與所述連接部分離。
5.如權利要求4所述的一種含鈷廢水處理設備,其特征在于,所述連接部上具有插孔,所述連接結構的連接端用于與所述插孔插接配合;所述連接結構為電動推桿或者氣缸。
6.如權利要求4所述的一種含鈷廢水處理設備,其特征在于,所述儲液腔內設有卡接定位結構,所述卡接定位結構用于與所述擋板的底部卡接配合,以使所述擋板處于第二狀態;其中,在所述刮板由所述篩網高端滑至所述篩網低端時,所述卡接定位結構與所述擋板分離,所述擋板在所述彈性件的彈力作用下向上復位。
7.如權利要求6所述的一種含鈷廢水處理設備,其特征在于,所述擋板側壁靠近底部的位置具有凹槽,所述卡接定位結構包括:定位部,設置在所述儲液腔內;所述定位部上具有與所述滑動部插接配合的插槽;彈性凸起,固定在所述定位部于插槽的頂端位置;所述彈性凸起用于與所述凹槽卡接配合;以及驅動部件,設置在所述處理箱上;所述驅動部件具有與所述定位部連接的驅動端,在所述驅動端的驅動下,所述定位部具有與所述擋板卡接配合的第一位置,以及具有與所述擋板分離的第二位置;第二位置的高度低于第一位置的高度。
8.如權利要求7所述的一種含鈷廢水處理設備,其特征在于,所述滑道側壁靠近底部的位置具有止擋部,在所述擋板與所述定位部卡接配合時,所述止擋部與所述滑動部接觸。
9.如權利要求1所述的一種含鈷廢水處理設備,其特征在于,所述處理箱于排料口的位置鉸接有啟閉門,在所述刮板的頂推作用下,能夠打開啟閉門,進而將沉淀物從排料口排出。
10.如權利要求9所述的一種含鈷廢水處理設備,其特征在于,所述處理箱于所述排料口的下方連接有導料板,所述導料板斜向下設置。
發明內容
本發明實施例提供一種含鈷廢水處理設備,旨在解決現有技術中的排渣方式不利于收集沉淀物的技術問題。
為實現上述目的,本發明采用的技術方案是:
提供一種含鈷廢水處理設備,包括:
處理箱,頂部具有進料口,底部具有出液口;所述進料口用于與過濾裝置的出渣口連通,所述出液口用于與濃縮裝置連通;以及
篩網,設置在所述處理箱內;所述篩網將所述處理箱分隔為進料腔和儲液腔,所述進料口和所述出液口分別位于所述進料腔和所述儲液腔上;所述篩網用于阻隔沉淀物,并用于廢水穿過,以分離沉淀物和廢水;
其中,所述篩網傾斜設置,所述處理箱于所述篩網的高端位置具有出料口;所述進料腔內設有刮板,所述刮板的底端與所述篩網的上表面接觸,且所述刮板的下表面與所述篩網的上表面呈銳角,并形成刮料區域;所述刮板具有沿所述篩網低端向所述篩網高端滑動的自由度;
在所述刮板由所述篩網低端向所述篩網高端滑動時,所述刮板能夠按壓刮料區域的沉淀物,以使廢水脫離沉淀物。
在一種可能的實現方式中,所述篩網上具有上下貫通的避讓槽,含鈷廢水處理設備還包括:
擋板,滑動設置在所述避讓槽內;所述擋板的上表面具有凸出于所述篩網上表面的第一狀態,以及與所述篩網上表面共面的第二狀態;
驅動機構,設置在所述處理箱上,所述驅動機構用于驅動所述擋板滑動;
其中,所述擋板、所述刮板以及所述篩網上表面之間為刮料區域;在所述刮板向上滑動時,在所述擋板的阻擋作用下,所述刮板能夠擠壓所述刮料區域的沉淀物;
在所述刮板向上滑動預設距離時,所述驅動機構驅動所述擋板滑至第二狀態,以使刮板和沉淀物跨域所述擋板處的避讓槽。
在一種可能的實現方式中,所述擋板為若干個,若干所述擋板沿所述篩網低端至所述篩網高端間隔設置。
在一種可能的實現方式中,所述儲液腔的側壁上具有滑道,所述進料腔的側壁上具有與所述篩網平行設置的滑槽;所述滑槽靠近所述篩網低端的位置為第一連接口,所述滑道靠近其底部的位置具有第二連接口;所述處理箱的側壁內部具有連通第一連接口和所述第二連接口的通道;所述驅動機構包括:
滑動部,連接在所述擋板的底部,并與所述滑道滑動配合;
彈性件,一端連接在所述滑道的底部,另一端連接在所述滑動部上;
連接部,滑動設置在所述滑槽內;
連接繩,位于所述通道內;所述連接繩的一端穿過所述第一連接口,并與所述連接部連接;所述連接繩的另一端穿過第二連接口,并與所述滑動部連接;以及
連接結構,設置在所述刮板上;所述連接結構具有與所述連接部連接或分離的連接端;
其中,所述連接結構的連接端用于與低處的連接部連接,在連接部跟隨所述連接結構滑動至高處時,所述連接結構的連接端與所述連接部分離。
在一種可能的實現方式中,所述連接部上具有插孔,所述連接結構的連接端用于與所述插孔插接配合;所述連接結構為電動推桿或者氣缸。
在一種可能的實現方式中,所述儲液腔內設有卡接定位結構,所述卡接定位結構用于與所述擋板的底部卡接配合,以使所述擋板處于第二狀態;
其中,在所述刮板由所述篩網高端滑至所述篩網低端時,所述卡接定位結構與所述擋板分離,所述擋板在所述彈性件的彈力作用下向上復位。
在一種可能的實現方式中,所述擋板側壁靠近底部的位置具有凹槽,所述卡接定位結構包括:
定位部,設置在所述儲液腔內;所述定位部上具有與所述滑動部插接配合的插槽;
彈性凸起,固定在所述定位部于插槽的頂端位置;所述彈性凸起用于與所述凹槽卡接配合;以及
驅動部件,設置在所述處理箱上;所述驅動部件具有與所述定位部連接的驅動端,在所述驅動端的驅動下,所述定位部具有與所述擋板卡接配合的第一位置,以及具有與所述擋板分離的第二位置;第二位置的高度低于第一位置的高度。
在一種可能的實現方式中,所述滑道側壁靠近底部的位置具有止擋部,在所述擋板與所述定位部卡接配合時,所述止擋部與所述滑動部接觸。
在一種可能的實現方式中,所述處理箱于排料口的位置鉸接有啟閉門,在所述刮板的頂推作用下,能夠打開啟閉門,進而將沉淀物從排料口排出。
在一種可能的實現方式中,所述處理箱于所述排料口的下方連接有導料板,所述導料板斜向下設置。
本發明提供的一種含鈷廢水處理設備,與現有技術相比,過濾裝置在排渣過程中,沉淀物和廢水會一同從進料口進入到處理箱的進料腔,并落入到篩網上;沉淀物被篩網阻隔,停留在篩網上;廢水能夠穿過篩網,并流到下方的儲液腔內;儲液腔內的廢水通過出液口能夠被傳送至濃縮裝置中。在上料完畢后,會有大部分的廢水穿過篩網流到下方的儲液腔內;此時,刮板由篩網的低端向高端運動;在運動過程中,刮板帶動沉淀物一同向上運動,并且刮板能夠對刮料區域內的沉淀物起到按壓的作用,能夠進一步使沉淀物上的廢水與沉淀物分離。在刮板帶動沉淀物運動到篩網的高端時,脫水后的沉淀物從處理箱的出料口排出。通過本申請上述設置,能夠使沉淀物與廢水分離,因此便于對沉淀物進行收集,同時也能夠對分離后的廢水進行回收利用。
(發明人:曾祥志;丁波峰;江志凡)






