公布日:2023.12.12
申請日:2023.08.28
分類號:C02F1/52(2023.01)I;B01D29/03(2006.01)I;C02F101/14(2006.01)N
摘要
本發明涉及含氟廢水處理技術領域,具體是涉及一種含氟廢水混凝沉淀設備,包括外殼、撒料裝置和廢水池;襯托架呈環形結構,襯托架的底部固定設置有襯托環;襯托架沿外殼的軸線滑動設置在外殼內,襯托架的側壁上開設有通槽;供氣殼呈圓盤結構,供氣殼沿外殼的軸線轉動設置在襯托環的上部,供氣殼位于襯托架內,供氣殼內盛有氣體,供氣殼的上部均勻開設有出氣孔,供氣殼上開設有下落槽;供氣裝置設置在供氣殼的上部;過濾板設置在供氣殼的上部;卡接裝置設置在外殼的內壁上;驅動裝置設置在供氣裝置的一側;彈性裝置沿外殼的軸線設置在襯托架的上部。本發明實現了裝置的自動補料又防止了混凝劑被水汽污染,同時還能保證撒料均勻。

權利要求書
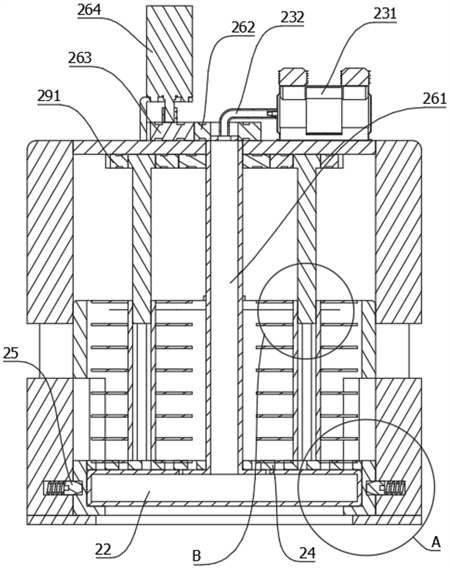
1.一種含氟廢水混凝沉淀設備,包括外殼(1)、撒料裝置(2)和廢水池;其特征在于,撒料裝置(2)包括襯托架(21)、供氣殼(22)、供氣裝置(23)、過濾板(24)、卡接裝置(25)、驅動裝置(26)和彈性裝置(27);外殼(1)為圓形殼體結構,外殼(1)的底部開設有開口,襯托架(21)呈環形結構,襯托架(21)的底部固定設置有襯托環;襯托架(21)沿外殼(1)的軸線滑動設置在外殼(1)內,外殼(1)的側壁上開設有進料口,襯托架(21)的側壁上開設有通槽,襯托架(21)沿外殼(1)的軸線滑動時,通槽能與進料口重合;供氣殼(22)呈圓盤結構,供氣殼(22)沿外殼(1)的軸線轉動設置在襯托環的上部,供氣殼(22)位于襯托架(21)內,供氣殼(22)內盛有氣體,供氣殼(22)的上部均勻開設有出氣孔,供氣殼(22)上開設有下落槽,下落槽呈弧形結構,下落槽的軸線與供氣殼(22)的軸線重合;供氣裝置(23)設置在供氣殼(22)的上部,供氣裝置(23)對供氣殼(22)進行供氣;過濾板(24)設置在供氣殼(22)的上部,過濾板(24)上用于承接混凝劑;卡接裝置(25)設置在外殼(1)的內壁上,卡接裝置(25)位于進料口的下方,當襯托架(21)將進料口完全遮擋住后,卡接裝置(25)將襯托架(21)卡接,卡接裝置(25)具有彈性,卡接裝置(25)利用自身彈性進行卡接;驅動裝置(26)設置在供氣裝置(23)的一側,驅動裝置(26)通過供氣裝置(23)帶動供氣殼(22)轉動;彈性裝置(27)沿外殼(1)的軸線設置在襯托架(21)的上部,彈性裝置(27)的上部與外殼(1)的頂部連接。
2.根據權利要求1所述的一種含氟廢水混凝沉淀設備,其特征在于,驅動裝置(26)包括轉動軸(261)、第一齒環(262)、第一齒輪(263)和旋轉驅動器(264);轉動軸(261)沿外殼(1)的軸線轉動設置在外殼(1)內,轉動軸(261)的底部與供氣殼(22)的上部固定連接,轉動軸(261)貫穿于外殼(1)的頂部;第一齒環(262)沿轉動軸(261)的軸線固定設置在轉動軸(261)上;第一齒輪(263)沿第一齒環(262)的軸線轉動設置在第一齒環(262)的一側,第一齒輪(263)和第一齒環(262)相互嚙合;旋轉驅動器(264)固定設置在第一齒輪(263)的上部,旋轉驅動器(264)驅動第一齒輪(263)轉動。
3.根據權利要求2所述的一種含氟廢水混凝沉淀設備,其特征在于,供氣裝置(23)包括通氣孔、氣泵(231)和連接管(232);通氣孔沿轉動軸(261)的軸線貫穿開設在轉動軸(261)上,通氣孔與供氣殼(22)相互連通;氣泵(231)固定設置在外殼(1)的頂部;連接管(232)的兩端分別與氣泵(231)和轉動軸(261)的上部連接,連接管(232)和通氣孔相互連通。
4.根據權利要求1所述的一種含氟廢水混凝沉淀設備,其特征在于,彈性裝置(27)包括第一導向桿(271)、第一套殼(272)和第一彈簧(273);第一套殼(272)沿外殼(1)的軸線固定設置在襯托架(21)的上部;第一導向桿(271)沿第一套殼(272)的軸線滑動設置在第一套殼(272)內,第一導向桿(271)的上部與外殼(1)的頂部固定連接,第一套殼(272)的上部與外殼(1)的頂部之間存有第一間隙;第一彈簧(273)沿第一導向桿(271)的軸線固定設置在第一間隙內。
5.根據權利要求1所述的一種含氟廢水混凝沉淀設備,其特征在于,卡接裝置(25)包括卡接塊(251)、第二彈簧(252)、卡接槽(253)和滑槽(254);滑槽(254)沿外殼(1)的徑向方向開設在外殼(1)的內壁上;卡接塊(251)沿滑槽(254)的長度方向滑動設置在滑槽(254)內,卡接塊(251)與滑槽(254)的底部之間存有第二間隙;第二彈簧(252)設置在第二間隙內;卡接槽(253)開設在襯托架(21)的側壁上,卡接塊(251)和卡接槽(253)相互卡接。
6.根據權利要求2所述的一種含氟廢水混凝沉淀設備,其特征在于,撒料裝置(2)還包括限位裝置(28),限位裝置(28)包括第二導向桿(281)和第二套殼(282);第二套殼(282)沿外殼(1)的軸線轉動設置在轉動軸(261)的一側,第二套殼(282)的底部與過濾板(24)的上部固定連接;第二導向桿(281)沿第二套殼(282)的軸線滑動設置在第二套殼(282)內,第二導向桿(281)的上部與外殼(1)的頂部固定連接。
7.根據權利要求6所述的一種含氟廢水混凝沉淀設備,其特征在于,撒料裝置(2)還包括攪動裝置(29),攪動裝置(29)包括傳動裝置(291)和攪拌件(292);傳動裝置(291)分別設置在第二導向桿(281)和轉動軸(261)上,轉動軸(261)通過傳動裝置(291)帶動第二導向桿(281)轉動;攪拌件(292)設置有多個,攪拌件(292)圍繞第二套殼(282)的軸線均勻固定設置在第二套殼(282)的外壁上,第二導向桿(281)能帶動第二套殼(282)同步轉動。
8.根據權利要求7所述的一種含氟廢水混凝沉淀設備,其特征在于,第二導向桿(281)的截面為非圓形結構,第二套殼(282)的截面與第二導向桿(281)相互契合。
9.根據權利要求8所述的一種含氟廢水混凝沉淀設備,其特征在于,傳動裝置(291)包括第二齒環(2911)和第二齒輪(2912);第二齒環(2911)沿轉動軸(261)的軸線固定設置在第一齒環(262)下方的轉動軸(261)上;第二齒輪(2912)沿第二導向桿(281)的軸線固定設置在第二導向桿(281)的上部,第二齒環(2911)與第二齒輪(2912)相互嚙合。
10.根據權利要求1所述的一種含氟廢水混凝沉淀設備,其特征在于,撒料裝置(2)還包括限位環(211);限位環(211)沿外殼(1)的軸線固定設置在外殼(1)的底部,限位環(211)用于限制襯托架(21)的最低下降位置。
發明內容
針對上述問題,提供一種含氟廢水混凝沉淀設備,將混凝劑從進料口投入外殼內,混凝劑穿過襯托架側壁上的通槽進入到襯托架內,混凝劑落在過濾板上,過濾板上的壓力逐漸增加,過濾板通過供氣殼將襯托架下壓,設置在襯托架上部的彈性裝置被襯托架帶動拉伸,隨著混凝劑的不斷投入,襯托架也會不斷下降,當襯托架側壁上的通槽掠過進料口后,襯托架將進料口堵住,此時進料口便不再發生進料,同時設置在外殼內壁上的卡接裝置將襯托架卡接,卡接裝置自身具有彈性,卡接裝置通過自身彈性進行卡接,供氣殼上開設有下落槽,位于過濾板上的混凝劑通過過濾板的過濾孔并穿過下落槽便能排入至廢水中,隨著混凝劑的排出,過濾板上部的壓力逐漸降低,由于卡接裝置的卡接,襯托架不會被彈性裝置拉動復位,只有當過濾板上的壓力降低到指定數值時,彈性裝置便能使得襯托殼脫離卡接裝置的卡接,襯托架在彈性裝置的帶動下復位,位于進料口處的混凝劑能通過襯托架側壁上的通槽補入,循環往復,實現了裝置的自動補料又防止了混凝劑被水汽污染,同時供氣殼能防止過濾板的過濾孔出現堵塞,轉動中的供氣殼使得過濾板上的混凝劑能均勻撒落。
為解決現有技術問題,一種含氟廢水混凝沉淀設備,包括外殼、撒料裝置和廢水池;撒料裝置包括襯托架、供氣殼、供氣裝置、過濾板、卡接裝置、驅動裝置和彈性裝置;外殼為圓形殼體結構,外殼的底部開設有開口,襯托架呈環形結構,襯托架的底部固定設置有襯托環;襯托架沿外殼的軸線滑動設置在外殼內,外殼的側壁上開設有進料口,襯托架的側壁上開設有通槽,襯托架沿外殼的軸線滑動時,通槽能與進料口重合;供氣殼呈圓盤結構,供氣殼沿外殼的軸線轉動設置在襯托環的上部,供氣殼位于襯托架內,供氣殼內盛有氣體,供氣殼的上部均勻開設有出氣孔,供氣殼上開設有下落槽,下落槽呈弧形結構,下落槽的軸線與供氣殼的軸線重合;供氣裝置設置在供氣殼的上部,供氣裝置對供氣殼進行供氣;過濾板設置在供氣殼的上部,過濾板上用于承接混凝劑;卡接裝置設置在外殼的內壁上,卡接裝置位于進料口的下方,當襯托架將進料口完全遮擋住后,卡接裝置將襯托架卡接,卡接裝置具有彈性,卡接裝置利用自身彈性進行卡接;驅動裝置設置在供氣裝置的一側,驅動裝置通過供氣裝置帶動供氣殼轉動;彈性裝置沿外殼的軸線設置在襯托架的上部,彈性裝置的上部與外殼的頂部連接。
優選的,驅動裝置包括轉動軸、第一齒環、第一齒輪和旋轉驅動器;轉動軸沿外殼的軸線轉動設置在外殼內,轉動軸的底部與供氣殼的上部固定連接,轉動軸貫穿于外殼的頂部;第一齒環沿轉動軸的軸線固定設置在轉動軸上;第一齒輪沿第一齒環的軸線轉動設置在第一齒環的一側,第一齒輪和第一齒環相互嚙合;旋轉驅動器固定設置在第一齒輪的上部,旋轉驅動器驅動第一齒輪轉動。
優選的,供氣裝置包括通氣孔、氣泵和連接管;通氣孔沿轉動軸的軸線貫穿開設在轉動軸上,通氣孔與供氣殼相互連通;氣泵固定設置在外殼的頂部;連接管的兩端分別與氣泵和轉動軸的上部連接,連接管和通氣孔相互連通。
優選的,彈性裝置包括第一導向桿、第一套殼和第一彈簧;第一套殼沿外殼的軸線固定設置在襯托架的上部;第一導向桿沿第一套殼的軸線滑動設置在第一套殼內,第一導向桿的上部與外殼的頂部固定連接,第一套殼的上部與外殼的頂部之間存有第一間隙;第一彈簧沿第一導向桿的軸線固定設置在第一間隙內。
優選的,卡接裝置包括卡接塊、第二彈簧、卡接槽和滑槽;滑槽沿外殼的徑向方向開設在外殼的內壁上;卡接塊沿滑槽的長度方向滑動設置在滑槽內,卡接塊與滑槽的底部之間存有第二間隙;第二彈簧設置在第二間隙內;卡接槽開設在襯托架的側壁上,卡接塊和卡接槽相互卡接。
優選的,撒料裝置還包括限位裝置,限位裝置包括第二導向桿和第二套殼;第二套殼沿外殼的軸線轉動設置在轉動軸的一側,第二套殼的底部與過濾板的上部固定連接;第二導向桿沿第二套殼的軸線滑動設置在第二套殼內,第二導向桿的上部與外殼的頂部固定連接。
優選的,撒料裝置還包括攪動裝置,攪動裝置包括傳動裝置和攪拌件;傳動裝置分別設置在第二導向桿和轉動軸上,轉動軸通過傳動裝置帶動第二導向桿轉動;攪拌件設置有多個,攪拌件圍繞第二套殼的軸線均勻固定設置在第二套殼的外壁上,第二導向桿能帶動第二套殼同步轉動。
優選的,第二導向桿的截面為非圓形結構,第二套殼的截面與第二導向桿相互契合。
優選的,傳動裝置包括第二齒環和第二齒輪;第二齒環沿轉動軸的軸線固定設置在第一齒環下方的轉動軸上;第二齒輪沿第二導向桿的軸線固定設置在第二導向桿的上部,第二齒環與第二齒輪相互嚙合。
優選的,撒料裝置還包括限位環;限位環沿外殼的軸線固定設置在外殼的底部,限位環用于限制襯托架的最低下降位置。
本發明相比較于現有技術的有益效果是:
本發明通過設置襯托架、供氣殼、供氣裝置、過濾板、卡接裝置、驅動裝置和彈性裝置,將混凝劑從進料口投入外殼內,混凝劑穿過襯托架側壁上的通槽進入到襯托架內,混凝劑落在過濾板上,過濾板上的壓力逐漸增加,過濾板通過供氣殼將襯托架下壓,設置在襯托架上部的彈性裝置被襯托架帶動拉伸,隨著混凝劑的不斷投入,襯托架也會不斷下降,當襯托架側壁上的通槽掠過進料口后,襯托架將進料口堵住,此時進料口便不再發生進料,同時設置在外殼內壁上的卡接裝置將襯托架卡接,卡接裝置自身具有彈性,卡接裝置通過自身彈性進行卡接,供氣殼上開設有下落槽,位于過濾板上的混凝劑通過過濾板的過濾孔并穿過下落槽便能排入至廢水中,隨著混凝劑的排出,過濾板上部的壓力逐漸降低,由于卡接裝置的卡接,襯托架不會被彈性裝置拉動復位,只有當過濾板上的壓力降低到指定數值時,彈性裝置便能使得襯托殼脫離卡接裝置的卡接,襯托架在彈性裝置的帶動下復位,位于進料口處的混凝劑能通過襯托架側壁上的通槽補入,循環往復,實現了裝置的自動補料又防止了混凝劑被水汽污染,同時供氣殼能防止過濾板的過濾孔出現堵塞,轉動中的供氣殼使得過濾板上的混凝劑能均勻撒落。
(發明人:陳寧;董明甫;張林;謝利;何文光;周小理;鐘原;陳春梅;尹天平;趙茂杰)






