公布日:2023.10.20
申請日:2023.06.25
分類號:C02F3/30(2023.01)I;C02F3/02(2023.01)I;C02F3/28(2023.01)I;C02F3/32(2023.01)I;C02F3/34(2023.01)I;C02F9/00(2023.01)I;C02F1/50(2023.01)N;C02F1/
58(2023.01)N
摘要
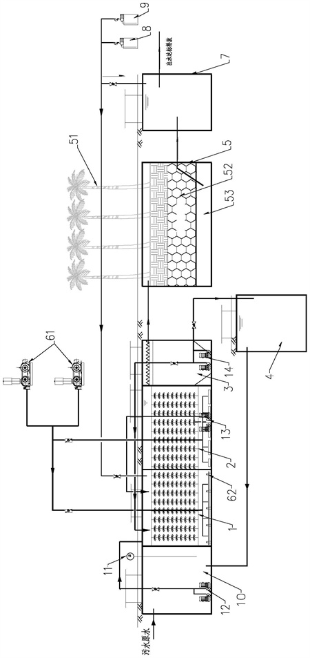
本發明公開了一種生態-生化一體化的污水處理裝置及處理方法,處理裝置中,缺氧池、好氧池、沉淀池、污泥收集池和深床潛流濕地深度處理池均為撬裝化一體式結構;曝氣組件向缺氧池和好氧池提供曝氣;深床潛流濕地深度處理池的中部填裝多介質生物球填料,頂部種植親水植物;污水依次流經缺氧池、好氧池和沉淀池,沉淀池中的污泥輸出至污泥收集池,沉淀池中的上清液輸出至深床潛流濕地深度處理池,將深床潛流濕地深度處理池的空腔中處理完成的清水排出。通過本發明的技術方案,提高了污水處理效率,大幅提升了有機污染物的去除率,有效減少了污泥產量,實現基本不排泥或少量排泥,降低了運行維護費用,且結構簡單、組裝高效。

權利要求書
1.一種生態-生化一體化的污水處理裝置,其特征在于,包括:缺氧池、好氧池、沉淀池、污泥收集池、深床潛流濕地深度處理池和曝氣組件;所述缺氧池、所述好氧池、所述沉淀池、所述污泥收集池和所述深床潛流濕地深度處理池均為撬裝化一體式結構,且吊裝至污水處理區域;所述曝氣組件包括曝氣風機和曝氣頭,所述缺氧池和所述好氧池底部分別安裝有所述曝氣頭,所述曝氣頭分別通過管道與所述曝氣風機相連通,所述曝氣風機分別通過所述曝氣頭向所述缺氧池和所述好氧池提供預設量的曝氣量;所述深床潛流濕地深度處理池的底部設置空腔,中部填裝多介質生物球填料,頂部設置植物種植層并種植親水植物;所要處理的污水依次流經通過管道依次相連的所述缺氧池、所述好氧池和所述沉淀池,所述沉淀池的下部與所述污泥收集池之間設置管道以將所述沉淀池中沉淀的污泥輸出至所述污泥收集池,所述沉淀池的上部與所述深床潛流濕地深度處理池之間設置管道以將所述沉淀池中的上清液輸出至所述深床潛流濕地深度處理池,所述深床潛流濕地深度處理池的空腔連通排水管道以將處理完成的清水排出。
2.根據權利要求1所述的生態-生化一體化的污水處理裝置,其特征在于,還包括清水池,所述清水池為撬裝化一體式結構且吊裝于所述污水處理區域,所述清水池通過所述排水管道與所述深床潛流濕地深度處理池的空腔連通,處理完成的清水排出至所述清水池中進行臨時儲存。
3.根據權利要求2所述的生態-生化一體化的污水處理裝置,其特征在于,還包括除磷裝置和消毒裝置,所述除磷裝置和所述消毒裝置分別設置加藥泵,所述加藥泵通過管道分別與所述缺氧池和所述清水池相連通。
4.根據權利要求3所述的生態-生化一體化的污水處理裝置,其特征在于,還包括調節池,所述調節池為撬裝化一體式結構且吊裝于所述污水處理區域,所述調節池通過管道與所述缺氧池的輸入端相連通;所要處理的污水輸入所述調節池進行儲存,所述調節池中設置有液位計和第一泵機,所述液位計用于檢測所述調節池中的污水量,所述第一泵機用于將污水輸送至所述缺氧池。
5.根據權利要求1所述的生態-生化一體化的污水處理裝置,其特征在于,所述好氧池內設置第二泵機,所述第二泵機用于將所述好氧池中的硝化液反向輸送至所述缺氧池中;所述沉淀池內設置第三泵機,所述第三泵機用于將所述沉淀池內的沉淀污泥輸送至所述污泥收集池以及反向輸送至所述缺氧池中;污泥收集池的上部通過管道與所述調節池相連通,用于將所述污泥收集池中的上清液輸送至所述調節池中。
6.根據權利要求1至5中任一項所述的生態-生化一體化的污水處理裝置,其特征在于,所述多介質生物球填料包括由下向上依次設置的鵝卵石層、火山巖層和陶粒層。
7.根據權利要求6所述的生態-生化一體化的污水處理裝置,其特征在于,所述鵝卵石層厚度為20~30厘米,所述火山巖層和所述陶粒層的厚度為40~60厘米。
8.根據權利要求1所述的生態-生化一體化的污水處理裝置,其特征在于,所述曝氣頭的曝氣孔徑為30~50微米。
9.一種生態-生化一體化的污水處理方法,其特征在于,應用于如權利要求1至8中任一項所述的生態-生化一體化的污水處理裝置,包括:將所要處理的污水輸入缺氧池中,由所述缺氧池中的反硝化菌對污水進行反硝化反應;將所述缺氧池中的污水輸出至好氧池中,由所述好氧池中的硝化菌對污水進行硝化反應;將所述好氧池中的污水輸出至沉淀池中進行沉淀,將所述沉淀池中的沉淀污泥輸出至污泥收集池中,將所述沉淀池中的污水上清液輸出至深床潛流濕地深度處理池中;污水經所述深床潛流濕地深度處理池中的親水植物的根系和多介質生物球填料的物理過濾和生化生態復合降解處理完成后,將達標后的清水輸出。
10.根據權利要求9所述的生態-生化一體化的污水處理方法,其特征在于,還包括:將所要處理的污水輸入調節池中儲存,需要處理時將所述調節池中的污水輸送至所述缺氧池中;將所述好氧池中經硝化反應后的硝化液反向輸送至所述缺氧池中;將所述沉淀池中的部分沉淀污泥反向輸送至所述缺氧池中;將所述污泥收集池上部的上清液輸送至所述調節池中。
發明內容
針對上述問題,本發明提供了一種生態-生化一體化的污水處理裝置及處理方法,采用撬裝化一體式結構吊裝構建形成整個處理過程的各個結構,結構簡單、組裝高效,通過生態-生化方式,分別形成缺氧和厭氧區、好氧區以及生態區,各處理階段相耦合,能夠對農村污水中的污泥、氨氮和磷等污染物進行有效處理,提高污水處理效率,且該耦合處理方式能夠大幅提升其中有機污染物的去除率,有效減少污泥產量,實現基本不排泥或少量排泥,降低運行維護費用。
為實現上述目的,本發明提供了一種生態-生化一體化的污水處理裝置,包括:缺氧池、好氧池、沉淀池、污泥收集池、深床潛流濕地深度處理池和曝氣組件;
所述缺氧池、所述好氧池、所述沉淀池、所述污泥收集池和所述深床潛流濕地深度處理池均為撬裝化一體式結構,且吊裝至污水處理區域;
所述曝氣組件包括曝氣風機和曝氣頭,所述缺氧池和所述好氧池底部分別安裝有所述曝氣頭,所述曝氣頭分別通過管道與所述曝氣風機相連通,所述曝氣風機分別通過所述曝氣頭向所述缺氧池和所述好氧池提供預設量的曝氣量;
所述深床潛流濕地深度處理池的底部設置空腔,中部填裝多介質生物球填料,頂部設置植物種植層并種植親水植物;
所要處理的污水依次流經通過管道依次相連的所述缺氧池、所述好氧池和所述沉淀池,所述沉淀池的下部與所述污泥收集池之間設置管道以將所述沉淀池中沉淀的污泥輸出至所述污泥收集池,所述沉淀池的上部與所述深床潛流濕地深度處理池之間設置管道以將所述沉淀池中的上清液輸出至所述深床潛流濕地深度處理池,所述深床潛流濕地深度處理池的空腔連通排水管道以將處理完成的清水排出。
在上述技術方案中,優選地,生態-生化一體化的污水處理裝置還包括清水池,所述清水池為撬裝化一體式結構且吊裝于所述污水處理區域,所述清水池通過所述排水管道與所述深床潛流濕地深度處理池的空腔連通,處理完成的清水排出至所述清水池中進行臨時儲存。
在上述技術方案中,優選地,生態-生化一體化的污水處理裝置還包括除磷裝置和消毒裝置,所述除磷裝置和所述消毒裝置分別設置加藥泵,所述加藥泵通過管道分別與所述缺氧池和所述清水池相連通。
在上述技術方案中,優選地,生態-生化一體化的污水處理裝置還包括調節池,所述調節池為撬裝化一體式結構且吊裝于所述污水處理區域,所述調節池通過管道與所述缺氧池的輸入端相連通;
所要處理的污水輸入所述調節池進行儲存,所述調節池中設置有液位計和第一泵機,所述液位計用于檢測所述調節池中的污水量,所述第一泵機用于將污水輸送至所述缺氧池。
在上述技術方案中,優選地,所述好氧池內設置第二泵機,所述第二泵機用于將所述好氧池中的硝化液反向輸送至所述缺氧池中;
所述沉淀池內設置第三泵機,所述第三泵機用于將所述沉淀池內的沉淀污泥輸送至所述污泥收集池以及反向輸送至所述缺氧池中;
污泥收集池的上部通過管道與所述調節池相連通,用于將所述污泥收集池中的上清液輸送至所述調節池中。
在上述技術方案中,優選地,所述多介質生物球填料包括由下向上依次設置的鵝卵石層、火山巖層和陶粒層。
在上述技術方案中,優選地,所述鵝卵石層厚度為20~30厘米,所述火山巖層和所述陶粒層的厚度為40~60厘米。
在上述技術方案中,優選地,所述曝氣頭的曝氣孔徑為30~50微米。
本發明還提出一種生態-生化一體化的污水處理方法,應用于如上述技術方案中任一項公開的生態-生化一體化的污水處理裝置,包括:
將所要處理的污水輸入缺氧池中,由所述缺氧池中的反硝化菌對污水進行反硝化反應;
將所述缺氧池中的污水輸出至好氧池中,由所述好氧池中的硝化菌對污水進行硝化反應;
將所述好氧池中的污水輸出至沉淀池中進行沉淀,將所述沉淀池中的沉淀污泥輸出至污泥收集池中,將所述沉淀池中的污水上清液輸出至深床潛流濕地深度處理池中;
污水經所述深床潛流濕地深度處理池中的親水植物的根系和多介質生物球填料的物理過濾和生化生態復合降解處理完成后,將達標后的清水輸出。
在上述技術方案中,優選地,生態-生化一體化的污水處理方法還包括:
將所要處理的污水輸入調節池中儲存,需要處理時將所述調節池中的污水輸送至所述缺氧池中;
將所述好氧池中經硝化反應后的硝化液反向輸送至所述缺氧池中;
將所述沉淀池中的部分沉淀污泥反向輸送至所述缺氧池中;
將所述污泥收集池上部的上清液輸送至所述調節池中。
與現有技術相比,本發明的有益效果為:采用撬裝化一體式結構吊裝構建形成整個處理過程的各個結構,結構簡單、組裝高效,通過生態-生化方式,分別形成缺氧和厭氧區、好氧區以及生態區,各處理階段相耦合,能夠對農村污水中的污泥、氨氮和磷等污染物進行有效處理,提高了污水處理效率,且該耦合處理方式能夠大幅提升其中有機污染物的去除率,有效減少了污泥產量,實現基本不排泥或少量排泥,降低了運行維護費用。
(發明人:齊國林;王春剛;于紅俠;宋華;張朝陽;徐乙;馬克迪;盧雪楓;朱倩;何丹;田麗端;王偉瑜)






