公布日:2023.01.06
申請日:2022.10.17
分類號:C02F9/00(2023.01)I;C02F1/68(2006.01)N;C02F1/44(2006.01)N;C02F1/52(2006.01)N;B01D65/02(2006.01)N;B01D21/02(2006.01)N;B01D21/24(2006.01)N;
C02F101/14(2006.01)N
摘要
本發明公開了一種除氟降濁一體化反應器,殼體的中心處并列設置除氟單元和污泥沉降單元,其中,所述除氟單元內設置有攪拌器,除氟單元的頂部設置有加藥口及進水口,除氟單元的底部與污泥沉降單元的底部相連通,其中,污泥沉降單元在距離除氟單元最遠的頂部側面設置有溢流口,溢流口與膜過濾單元的入口相連通,殼體兩側設置有膜過濾單元及化學清洗池,其中,所述膜過濾單元內部設置有膜元件,污泥濃縮單元位于除氟單元及污泥沉降單元的下方,且污泥濃縮單元的頂部分別與除氟單元的底部及污泥沉降單元的底部相連通,該反應器的工藝流程較短,可同步實現除氟降濁,且出水穩定澄清。

權利要求書
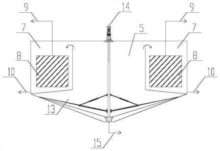
1.一種除氟降濁一體化反應器,其特征在于,包括殼體以及設置殼體內的除氟單元(1)、污泥沉降單元(5)、化學清洗池(11)、膜過濾單元(7)及污泥濃縮單元(13);除氟單元(1)及污泥沉降單元(5)并列設置于殼體的中心處,其中,所述除氟單元(1)內設置有攪拌器(2),除氟單元(1)的頂部設置有加藥口(4)及進水口(3),除氟單元(1)的底部與污泥沉降單元(5)的底部相連通,其中,污泥沉降單元(5)在距離除氟單元(1)最遠的頂部側面設置有溢流口(6),膜過濾單元(7)及化學清洗池(11)分別位于殼體的兩側,溢流口(6)與膜過濾單元(7)的入口相連通,其中,所述膜過濾單元(7)內部設置有膜元件(8),污泥濃縮單元(13)位于除氟單元(1)及污泥沉降單元(5)的下方,且污泥濃縮單元(13)的頂部分別與除氟單元(1)的底部及污泥沉降單元(5)的底部相連通。
2.根據權利要求1所述的除氟降濁一體化反應器,其特征在于,殼體的底部設置有排泥口(15)。
3.根據權利要求1所述的除氟降濁一體化反應器,其特征在于,污泥濃縮單元(13)內設置有刮泥機(14),且刮泥機(14)位于殼體底部的內壁上。
4.根據權利要求1所述的除氟降濁一體化反應器,其特征在于,所述膜元件(8)的產水口(9)連通有產水輸出管道。
5.根據權利要求1所述的除氟降濁一體化反應器,其特征在于,所述加藥口投加藥劑的種類為除氟藥劑、絮凝劑及助凝劑中的一種或幾種。
6.根據權利要求1所述的除氟降濁一體化反應器,其特征在于,泥水混合物在污泥沉降單元(5)的停留時間大于等于污泥沉降所需時間。
7.根據權利要求1所述的除氟降濁一體化反應器,其特征在于,膜元件(8)的設計處理量高于除氟單元(1)的設計處理量。
8.根據權利要求1所述的除氟降濁一體化反應器,其特征在于,除氟單元(1)為圓筒形結構。
發明內容
本發明的目的在于克服上述現有技術的缺點,提供了一種除氟降濁一體化反應器,該反應器的工藝流程較短,且出水穩定澄清。
為達到上述目的,本發明所述的除氟降濁一體化反應器包括殼體以及設置殼體內的除氟單元、污泥沉降單元、化學清洗池、膜過濾單元及污泥濃縮單元。
除氟單元及污泥沉降單元并列設置于殼體的中心處,其中,所述除氟單元內設置有攪拌器,除氟單元的頂部設置有加藥口及進水口,除氟單元的底部與污泥沉降單元的底部相連通,其中,污泥沉降單元在距離除氟單元最遠的頂部側面設置有溢流口,膜過濾單元及化學清洗池分別位于殼體的兩側,溢流口與膜過濾單元的入口相連通,其中,所述膜過濾單元內部設置有膜元件,污泥濃縮單元位于除氟單元及污泥沉降單元的下方,且污泥濃縮單元的頂部分別與除氟單元的底部及污泥沉降單元的底部相連通。
殼體的底部設置有排泥口。
污泥濃縮單元內設置有刮泥機,且刮泥機位于殼體底部的內壁上。
所述膜元件的產水口連通有產水輸出管道。
所述加藥口投加藥劑的種類為除氟藥劑、絮凝劑及助凝劑中的一種或幾種。
泥水混合物在污泥沉降單元的停留時間大于等于污泥沉降所需時間。
膜元件的設計處理量高于除氟單元的設計處理量。
除氟單元為圓筒形結構。
本發明具有以下有益效果:
本發明所述的除氟降濁一體化反應器在具體操作時,將膜過濾單元內置于一體化反應器內,以提高反應器的耐沖擊負荷能力,出水始終保持澄清,污泥沉降單元的溢流口與除氟單元具有最遠距離,使除氟單元產生的污泥盡可能的通過重力作用截留在污泥沉降單元,確保膜過濾單元內盡可能少的污泥進入,確保膜過濾單元穩定運行,縮短工藝流程,同時可以降低助凝劑投加量甚至可以滿足不投加助凝劑,有效降低了后續反滲透等膜過濾設備發生不可逆污堵的風險。需要說明的是,本發明能夠直接替代傳統的“加藥除氟-混凝-澄清-過濾-超濾”系統,且出水可直接進入反滲透系統,大大縮短工藝鏈,降低日常維護量,節省投資和運行成本。
進一步,膜過濾單元的反洗水返回至除氟單元,無外排廢水。
(發明人:楊陽;姜琪;冉瓊;王振宇;王璟;蘇艷;李亞娟;靳阿林;閆佩)






